一直以来,各大科技公司关于个人语音助理系统性能孰优的争论从未停歇。2011年1月10日,苹果为Siri提交了一件名为“智能自动助手”的专利申请。此项专利号码为US20120016678A1。据了解该专利可以使用自动辅助系统与用户在一个聚集的环境中使用自然语言进行对话,智能自动辅助系统能够当人与手机对话的同时执行各种指令动作。
read the rest
一直以来,各大科技公司关于个人语音助理系统性能孰优的争论从未停歇。2011年1月10日,苹果为Siri提交了一件名为“智能自动助手”的专利申请。此项专利号码为US20120016678A1。据了解该专利可以使用自动辅助系统与用户在一个聚集的环境中使用自然语言进行对话,智能自动辅助系统能够当人与手机对话的同时执行各种指令动作。
苹果Siri又称苹果智能语音助手是和iPhone4S一同推出。自2011年推出后就得到广大 “果粉” 的青睐。苹果Siri不仅能帮助用户阅读短信,介绍餐厅,询问天气,设置闹钟等,还可以通过不断学习各种新的声音和语调提供对话式的语音服务。
苹果在还未介绍Siri之前就提交了该专利的优先权并在中国,韩国,日本展开专利布局。与此同时谷歌也开始收购几家语音通信公司,开始研发新的技术希望可以运用在他们的新产品。
2016年,谷歌公司也推出了Google Assistant 智能语音助手。它与谷歌多项操作系统紧密合作,用户可通过系统与移动设备相互沟通。它的功能如寻找头条新闻,路经导航,拨打电话,分享照片,推荐电影,购买戏票等等。 谷歌公司也为其Google Assistant 注册多项专利。
截至目前为止,苹果公司在语音领域的专利申请数量为695件,而谷歌公司的专利申请为1261件。在激烈的竞争中,我们可以看到谷歌公司对苹果是采取了围剿战。虽然苹果Siri的专利发明比Google Assistant更早起步,但是谷歌公司在专利技术的选择更胜一筹,他们透过购买专利技术提升及促进Google Assistant的发展让广大用户在使用Google Assistant的时候更加顺畅和全面。
在这一场的围剿战,我们可以发现苹果公司无论是在专利申请数量,申请时机,申请的质量都比谷歌公司略逊一筹。Google Assistant虽然问世比较晚,但谷歌公司在语音技术上的专利布局更加完善,再结合大数据等方面的优势让Google Assistant更加广泛用在市场。
近年來,专利议題在各國逐漸受到重视,以专利保护发明,巩固其知识产权不被侵犯,专利数量成长甚至可表达国家在经济上的趋势。专利对于企业价值而言,不论是对于大型企业或是小型企业,都有助于企业发展。虽然专利所带来的效益之高,但专利的品质也极为重要。高品质的专利更能为产品带来长期性的效益。故此在研发创新的同时,也应该考量其品质的程度,勿因求量大而忽略品质,而阻碍发展之路。
21
Sept, 2017
美国时间2016年11月9日凌晨,唐纳德川普击败了民主行动党的对手希拉蕊克林顿。此选举被称为美国最富有戏剧性的一次总统选举。他成为了美国最富有的美国当选人以及第一个没有担任过任何公职或军职的人。
read the rest
美国时间2016年11月9日凌晨,唐纳德川普击败了民主行动党的对手希拉蕊克林顿。此选举被称为美国最富有戏剧性的一次总统选举。他成为了美国最富有的美国当选人以及第一个没有担任过任何公职或军职的人。
唐纳德特朗普亦称唐纳德川普。他是美国纽约的一名政治家,商人,作家及主持人。他曾是美国最具有知名度的房地产商之一,人称地产之王。他以父亲的房地产帝国为出发点开始开拓生意,逐渐发迹了川普商业版图。依靠房地才产和股市,特朗普拥有在纽约,新泽西州,佛罗里达等黄金地段的房地产,并且创建了“特郎普梭运行空”,也是新则西州将军职业足球队的老板。
在2015年12月7日他入围美国知名新闻周刊“时代”的候选名单。特郎普这一号人物一向来以言辞大胆著称 ,从被提名总统候选人以来外界对他的争议一直不断 ,行事张扬,非主流等成了特郎普特有标签,然而正是这这么一位“非主流”总统,在品牌建设商标的保护和布局方面却有着超前的意识,是一位不折不扣的商标狂人。
根据公开资料显示,特郎普在美国拥有300余件的商标 除了房地产特郎普的生意包括了:服装, 矿泉水,葡萄酒,高尔夫,传媒杂志,酒吧,教育,游戏,餐饮等。在美国以特郎普名字注册的商标有:TRUMP TOWER, TRUMP TAJ, TRUMP MONEY,TRUMP VERDICT,TRUMP HOME, TRUMP OCEAN CLUB, TRUMP ON THE OCEAN,TRUMP SAN DIAGO, TRUMP BOARDROOM,TRUMP GOLF, TRUMP STEAKS,TRUMP INSTITUTE和其它等等。近期特朗普看准了中国的商业市场可以为他们的公司带来更多生意上的机会及盈利。他的商标业务公司在中国申请了至少126个商标。这当中涉及餐厅,酒吧,酒店,经纪业务,广告及管理咨询。不仅如此,特朗普的商标业务公司也已在21个国家,香港及欧盟申请了173个外国商标。而于马来西亚则申请了至少20多个商标。
作为一名成功的商人,特朗普一直都很积极争取及维护其知识产权,寻求保护自己的商标不断地在世界各地注册属于他的个人商标。特朗普囤积商标目的是为了把自己的商标推向世界的新领域以及努力建立一个全球具有极高知名度的商标。
对于品牌经营来说,商标是让消费者对你的货品有所认知更容易辨识你的商品。随着时间的推移,商标存在着更具有价值。当你的事业名望家喻户晓的时候,你的商标是代表着你的企业价值资产。由此可見,商标的影响力不容小覷。可惜的是,本地一般企業对保户商标的意識仍有待加強。拥有長遠规划以免等到終於能走到海外的時候,發現苦心經營的品牌早已另有所属,才後悔莫及。
22
Aug, 2017
在2017年4月,Google在官方部落格发文宣布成立了一个Android专利联盟为PAX。这项联盟的目的是让主流Android的手机场商之间可以免费交流并且互相交换使用专利。除此之外,另一个目的则是让这些手机厂商可以和Android站在同一阵线,共同抵御可能的专利侵权诉讼案。
read the rest
在2017年4月,Google在官方部落格发文宣布成立了一个Android专利联盟为PAX。这项联盟的目的是让主流Android的手机场商之间可以免费交流并且互相交换使用专利。除此之外,另一个目的则是让这些手机厂商可以和Android站在同一阵线,共同抵御可能的专利侵权诉讼案。
这次的联盟举动就好比当年Apple宣示对付Android智能手机的专利核子之战。這場专利大战緣起于2011年7月。当时,Apple建立策略联盟,以美金45亿元的高價,通过拍卖收购了面臨破產Nortel(北电)所拥有的约6000件专利。這6000件专利,涉及䋄络交易,无缐通讯等多项与智能手机OS相关的基礎技术专利。当时Google也有參于北电专利的拍賣,可惜僅出價美金44亿,以美金1亿元之差,与北电這6000项专利失之交臂。为了更加巩固在专利战的地位 Google 也不甘识弱在2011年8月15日以125亿美元收购了摩托罗拉移动,将后者的2.45万份专利组合加入怀中。
正当市場预测一埸网絡专利大战会因兩方专利互相制衡而被避免之际,Apple又来个策略性的峰回路转,把该6000件事利转让一家命名为Rockstar特别载体公司(SPV)。以Rockstar的名义向Android集团宣戏。在这一场的专利大战,Apple聚集了所有手机产商拥有自身的手机操作系统如黑莓,爱立信,微软和索尼(苹果集团),化敌为友站在同一阵线,通过Rockstar公司间接对Android阵营的Google,三星,LG电子,宏达电,华为,华硕,泛泰与中兴通讯等公司(Android集团)展开了全面专利诉讼。这一战Apple为了确保这专利纠纷可以获胜,就与手机厂商联盟同仇敌忾对付Android。
与Apple建立策略联盟不相同之处,这次Google成立了Android的专利联盟PAX。PAX的名是原取于拉丁语,含义为“和平”的意思。在专利之间的和平就意味着各大厂商可以通过不断的创新和良性竞争可以造福广大的用户。Android的专利联盟PAX会员包括了Google,三星电子,LG电子,富士康集团,HMD,HTC。他们共同联盟贡献了超过23万专利技术。
Google对自家的Android 系统,一直坚持的是开放共享的理念。Google表示不排除今后会有更多的公司加入这联盟。尽管目前联盟内涉及到的具体专利类幸还未明朗化,但可以肯定的是这联盟的会员可以免费合理运用并共同交流专利(royalty-free patent license)降底诉讼内讧的发生,加速创新设计开发。这绝对是对用户的一大好消息。但从另一方面看,这项联盟也是一把双刀刃,如果这些厂商不加入这联盟,很大可能将会成为诉讼的潜在目标。一旦加入了这联盟,该厂商失去向PAX会员提出任何专利纠纷。
有人说,第三世界大战将会是知识产权的战场。在面对专利之战之前,企业应该了解基本的专利战略,就好比这次Google成立了Android联盟,这种抱团取暖的方式不失为一种可维护专利有效的方式。商家除了把核心技术保护为专利,也可以与其他相关核心技术专利拥有人,共同提高市场佔有额及盈利。
22
June, 2017
Intellectual Property Office of Singapore (IPOS) has announced an adjustment of the filing fees for Patent and Trade Mark applications. The revised fees will come into effect from April 1, 2017 onwards.*
read the rest
Intellectual Property Office of Singapore (IPOS) has announced an adjustment of the filing fees for Patent and Trade Mark applications. The revised fees will come into effect from April 1, 2017 onwards.*
We provide below a summary of the fees revisions.
IPOS Now Accepts PCT Patent Applications In Chinese
In addition, IPOS as the receiving Office under the PCT now accepts International Applications in Chinese language. IPOS also becomes the second International Search Authority (ISA) and International Preliminary Examining Authority (IPEA) other than SIPO to conduct search and examination in Chinese.
This is aimed to convenient companies who have filed or will be filing their patent applications in Chinese, an option to defer patent translation cost from Chinese into English until the national phase deadline.
*These announcements can be founded at:
https://www.ipos.gov.sg/MediaEvents/Readnews/tabid/873/articleid/366/category/Press%20Releases/parentId/80/year/2017/Default.aspx
Download Flyer
28
March, 2017
Huan Schen Sdn Bhd v SRAM, LLC [2016] - A Case Summary
Huan Schen Sdn Bhd (“Plaintiff”) filed an originating summons (“OS”) under s 45(1)(a) of the Trade Marks Act 1976 (“TMA”) to expunge 5 trade marks (“Defendant’s TMs”) registered in the Register of Trade Marks (“Register”) under the name of SRAM LLC (“Defendant”). Previously, the Plaintiff had obtained the Registrar’s decision to dismiss the Defendant’s application to oppose the registration of the Plaintiff’s trade mark because the Defendant had failed to establish the use of its trade marks in Malaysia before the date of Plaintiff’s application to register its trade mark. Upon successful registration of the Plaintiff’s trade mark, the Plaintiff alleged that the Defendant’s TMs were entries wrongfully made and remaining in the Register and therefore, applied to expunge and remove the Defendant’s TM from the Register. The Court considered the following issues:
Can the Plaintiff file this OS?
Who is the first user and common law proprietor of “SRAM” mark?
Whether the Plaintiff had successfully challenged the Defendant’s TMs’ conclusive registration under s 37 TMA? If so, does the Court has a discretion not to expunge Defendant’s 1st to 4th Trade Marks under s 45(1)(a) TMA?
read the rest
Huan Schen Sdn Bhd v SRAM, LLC [2016] - A Case Summary
Huan Schen Sdn Bhd (“Plaintiff”) filed an originating summons (“OS”) under s 45(1)(a) of the Trade Marks Act 1976 (“TMA”) to expunge 5 trade marks (“Defendant’s TMs”) registered in the Register of Trade Marks (“Register”) under the name of SRAM LLC (“Defendant”). Previously, the Plaintiff had obtained the Registrar’s decision to dismiss the Defendant’s application to oppose the registration of the Plaintiff’s trade mark because the Defendant had failed to establish the use of its trade marks in Malaysia before the date of Plaintiff’s application to register its trade mark. Upon successful registration of the Plaintiff’s trade mark, the Plaintiff alleged that the Defendant’s TMs were entries wrongfully made and remaining in the Register and therefore, applied to expunge and remove the Defendant’s TM from the Register. The Court considered the following issues:
Can the Plaintiff file this OS?
The Court held that the Plaintiff ‘s failure to oppose the Defendant’s TM under s 28(1) TMA and reg. 37(a) TMR and temporary cessation of the use of its trade mark do not estop or bar the Plaintiff from filing the OS. Registration of a trade mark is not a defence to an expungement application under s 45(1)(a) of TMA when the trade mark had been wrongfully entered in the Register. Furthermore, the Registrar’s decision is not final and conclusive, hence it cannot attract the application of the estoppel principle against the Plaintiff and the Plaintiff cannot rely on the Registrar’s dismissal of the Defendant’s opposition to support this OS.
Who is the first user and common law proprietor of “SRAM” mark?
It was held that the Plaintiff had adduced copies of sales invoices and an invoice dated 2nd January 2002, which bore the Plaintiff’s trade mark proved that it was the first user of the “SRAM” mark in the course of trade in Malaysia on 2nd January 2002. The Plaintiff’s subsequent conduct to register its trade mark on 26th December 2003 was relevant to support the fact that the Plaintiff had indeed used its trade mark in the course of trade in Malaysia since 2nd January 2002. The fact that the Plaintiff did not author, create or design the mark, does not affect the Plaintiff’s right as the first user of the mark. The most crucial point was the Defendant had failed to prove first use of the mark on or before 2nd January 2002 in Malaysia, despite the Defendant’s TMs had been registered and used extensively in countries outside Malaysia. The Plaintiff was, therefore, the first user of the “SRAM” mark.
Whether the Plaintiff had successfully challenged the Defendant’s TMs’ conclusive registration under s 37 TMA? If so, does the Court has a discretion not to expunge Defendant’s 1st to 4th Trade Marks under s 45(1)(a) TMA?
The Court held that the Plaintiff had failed to prove the original registration of the Defendant’s 1st to 4th trade marks was obtained by fraud under s 37(a) TMA because the Defendant was the creator of the “SRAM” mark, the Defendant had used upon and in relation to the Defendant’s goods in the course of trade outside Malaysia before or at the time of registration of its trade mark, and the Defendant’s act of opposing the Plaintiff’s application to register the mark. However, the Plaintiff had succeeded to prove under s 37(b) and (c) TMA that the use of Defendant’s 1st to 4th trade marks were likely to deceive or confuse the public because the Defendant’s 1st to 4th trade marks were not distinctive. Hence, the Court held that it had no discretion but rather it was compelled to order for the removal of the Defendant’s 1st to 4th trade marks from the Register in accordance with s. 45(1)(a) TMA based on the grounds for the expungement of a registered trade mark as the Plaintiff had successfully proven under s 37(b) and (c) TMA.
The Court ordered the Registrar to expunge and remove the Defendant’s 1st to 4th trade marks from the Register.
2
March, 2017
CALVIN KLEIN, INC. AND ANOTHER v. HS INTERNATIONAL PTE LTD AND OTHERS
This case concerns the Plaintiff’s (Calvin Klein, Inc. and Calvin Klein Trademark Trust) application for summary judgement against the Defendants (HS International Pte Ltd, Global PSM Pte Ltd and Mr Jeffrey Tan) for trade mark infringement. The central feature in the Plaintiff’s suit is the Defendants involvement in selling counterfeit goods on the SGbuy4u Website. Chan Seng Onn J. set out 3 important principles in determining whether the Plaintiff's would succeed in their application:
(a) whether the requirement of double identity under s 27(1) of the Trade Marks Act 1976 (“TMA”) is satisfied;
(b) whether the relevant signs have been “use[d]” within the meaning of ss 27(1) and (4) of the TMA; and
(c) which, if any, of the Defendants carried out the infringing use.
read the rest
CALVIN KLEIN, INC. AND ANOTHER v. HS INTERNATIONAL PTE LTD AND OTHERS
This case concerns the Plaintiff’s (Calvin Klein, Inc. and Calvin Klein Trademark Trust) application for summary judgement against the Defendants (HS International Pte Ltd, Global PSM Pte Ltd and Mr Jeffrey Tan) for trade mark infringement. The central feature in the Plaintiff’s suit is the Defendants involvement in selling counterfeit goods on the SGbuy4u Website. Chan Seng Onn J. set out 3 important principles in determining whether the Plaintiff's would succeed in their application:
(a) whether the requirement of double identity under s 27(1) of the Trade Marks Act 1976 (“TMA”) is satisfied;
(b) whether the relevant signs have been “use[d]” within the meaning of ss 27(1) and (4) of the TMA; and
(c) which, if any, of the Defendants carried out the infringing use.
On the first issue, the High Court held that the appearance of the 'Calvin Klein' sign on the goods obtained from the First Sample Purchase and those seized during the raid is a reproduction of the registered 'Calvin Klein' trade mark without any modification or addition, thus satisfying the double identity requirement.
Secondly, the High Court accepted that the Plaintiff's counterfeit goods being offered on SGbuy4u website was in accordance to ss 27(1) and (4)(b) of the TMA, as a sign identical with its trade mark was used in the course of trade. The Defendants assertion of the SGbuy4u Business being a courier or freight forwarding service like FedEx, DHL or SingPost; and a customer-to-customer (“C2C”) platform facilitating the sale and purchase of goods similar to eBay, Carousell, Taobao and 65daigou as a defence was rejected as different services are provided upon comparison.
Lastly, upon Chan Seng Onn J.'s analysis it was decided that only the Second Defendant, Global PSM Pte Ltd was involved in offering the infringing goods for sale because of its sole and whole control, management and involvement in the SGbuy4u Business and Website where payment was made to the Second Defendant and the User Agreement states that any legal notices shall be served on the Second Defendant. The High Court held that a slight connection between the First and the Third Defendant (HS International Pte Ltd and Mr Jeffrey Tan) and the infringing use of the Plaintiff’s trade mark is inadequate to demonstrate that the Plaintiffs have adduced sufficient evidence for a prima facie case - that the First and Third Defendant had carried out the infringing use, and to shift the burden of proof to the First and Third Defendant.
Following from the above, a summary judgement was granted in respect of the Plaintiffs' claim for trade mark infringement against the Second Defendant, whereas the application for summary judgement against the First and Third Defendant was disallowed. The court further ordered the First and Third Defendant to be given unconditional leave to defend the Plaintiffs' claims against them.
6
February , 2017
Singsung Pte Ltd v LG 26 Electronics Pte Ltd (trading as LS Electrical Trading) [2016] SGCA 33 – A Case Summary
This is an appeal from the High Court judgement in 2015. In this Court of Appeal case, the appellant, Singsung Pte Ltd (“Singsung”) sued the respondent, LS Electrical Trading (“LS”), for passing off, copyright infringement and defamation. LS counterclaimed for malicious falsehood and for groundless threats of copyright infringement. Singsung claimed that LS was liable for passing off as the get-up for eight of LS’ electrical products (“LS Get-Up”) was identical or confusingly similar to the get-up of Singsung’s electrical products (“Singsung Get-Up”) and LS had infringed the copyright of Singsung’s White Get-Up Picture, Blue Get-Up Picture and the TV Stickers. The Court explored how a plaintiff may prove the elements of the tort of passing off, the operation of the doctrine of instruments of deception, and the scope of liability for issuing groundless threats under s 200 of the Copyright Act.
read the rest
Singsung Pte Ltd v LG 26 Electronics Pte Ltd (trading as LS Electrical Trading) [2016] SGCA 33 – A Case Summary
This is an appeal from the High Court judgement in 2015. In this Court of Appeal case, the appellant, Singsung Pte Ltd (“Singsung”) sued the respondent, LS Electrical Trading (“LS”), for passing off, copyright infringement and defamation. LS counterclaimed for malicious falsehood and for groundless threats of copyright infringement. Singsung claimed that LS was liable for passing off as the get-up for eight of LS’ electrical products (“LS Get-Up”) was identical or confusingly similar to the get-up of Singsung’s electrical products (“Singsung Get-Up”) and LS had infringed the copyright of Singsung’s White Get-Up Picture, Blue Get-Up Picture and the TV Stickers. The Court explored how a plaintiff may prove the elements of the tort of passing off, the operation of the doctrine of instruments of deception, and the scope of liability for issuing groundless threats under s 200 of the Copyright Act.
I) Passing-off: Goodwill; Misrepresentation; and Damage
Goodwill can be established if Singsung can prove that the Singsung Get-Up has become specifically distinctive of its business. Contrary to the High Court decision, the Court of Appeal found that there was goodwill in the Singsung Get-up because goodwill exists when a business offers a product or service for sale and a customer purchases the product or uses the service in Singapore. In the present case, buyers bought the goods from Singsung's shop in Singapore and the large volume of sales was sufficient to establish goodwill. The issues of where the buyers reside or if the goods purchased were ultimately used in Singapore were irrelevant in establishing goodwill. The Court held that evidence showed LS had taken steps to deliberately copy the Singsung Get-ups with an intention to deceive customers was sufficient to find misrepresentation. Lastly, Singsung must prove damage, or a real likelihood of damage, to Singsung’s goodwill. LS’ misrepresentation and the fact that the parties were competing in the same line of products and export jurisdictions proved that damage was likely to Singsung’s business. Accordingly, Singsung succeeded in establishing passing off.
II) The Doctrine of Instruments of Deception
The law of passing off recognises the doctrine of instruments of deception, which addresses the issue of whether the Defendant would have committed the tort of passing off if it had put into circulation goods which are inherently likely to deceive ultimate purchasers or consumers, even though the immediate purchasers may be middlemen who are not themselves deceived and may have ultimately disposed of the goods in a manner which does not deceive anyone at all. The Court applied this doctrine to the present case and held that LS’ Get-Up was inherently deceptive, being identical to the corresponding Singsung Get-Up.LS was therefore liable for passing off even though the middlemen in the supply chain were not confused as to the origin of the goods in question.
III) Copyright Infringement and Groundless Threats
The Court overruled the High Court’s decision and found that LS had infringed the copyright in Singsung’s White Get-Up Picture and the TV Stickers. Ownership of copyright in the White Get-Up Picture had been validly assigned to Singsung and LS knew or ought reasonably to have known that they were infringing the Singsung's copyright in the TV Stickers. However, there was no infringement of Singsung’s Blue Get-Up Picture which was a straightforward representation of a commonplace object (i.e. a DVD player) and required identical copying for copyright infringement.
The Court held that it does not necessarily follow that a groundless threat of infringement must be found when there was no infringement of Singsung’s Blue Get-Up Picture. On the facts, there was no conceivable damage flowing from the demand which cannot be compensated by a cost order against Singsung for having made an unwarranted threat. Therefore, a declaration that the threat was groundless is unnecessary. This decision would protect the rights owner from being penalised merely because he has made a good faith attempt to enforce his rights.
Furthermore, this case established that grant of relief under Section 200 of the Copyright Act is discretionary in nature. We may, therefore, draw an analogy of this decision to similar provisions under Sections 35, 77 and 44 of the Trade Marks Act, Patents Act and Registered Designs Act respectively.
9
Janaury , 2017
笔者在农业知识产权上篇探讨了植物新品种权和专利权,在农业知识产权下篇进一步探讨与农业领域密切相关的商标权;地理标志;商业秘密与著作权。
(三)商标权
商标区分商品来源,是产品参与市场竞争的市場利器。在经济兢爭激烈及贸易全球化的时代,商标已经从识别功能廷伸到成为代表商品的品质及品牌的符号。对农业企业而言,除了农产品可以申请商标注册外,农副产品、农产品加工品等均可以申请商标注册。
read the rest
笔者在农业知识产权上篇探讨了植物新品种权和专利权,在农业知识产权下篇进一步探讨与农业领域密切相关的商标权;地理标志;商业秘密与著作权。
(三)商标权
商标区分商品来源,是产品参与市场竞争的市場利器。在经济兢爭激烈及贸易全球化的时代,商标已经从识别功能廷伸到成为代表商品的品质及品牌的符号。对农业企业而言,除了农产品可以申请商标注册外,农副产品、农产品加工品等均可以申请商标注册。
农业商标案例
新奇士公司(Sunkist Growers)一个有着悠久历史的合作社性质企业,1893年成立的加州水果合作社,发展至今成为拥有6000多会员,800多员工的企业,每年销售水果约8000万箱,是美国十大供销合作社之一,也是世界上最大的水果蔬菜类合作社。 Sunkist (新奇士)商标也成为一个著名的品牌,其“商标”在全世界排名第四十七,在美国排名第四十三,据估算,这个品牌的无形资产高达十亿美元。
马来西亚名种榴槤猫山王,在中港台新大受欢迎。猫山王榴槤种殖者联合起,惜镜Sunkist 的成功,通过合作社方式,共同拥有,保护,管理,推广,商业化猫山王商标,並把它发揚光大, 相信马来西亚榴梿会有水到渠成,揚眉吐气的一天。
(四)地理标志
地理标志是一种用于具有特定地理来源的商品的标志,这些商品具有可主要归因于产地的品质、声誉或特征。最普遍的情况就是,地理标志包括商品产地的名称。农产品是这方面的典型,它们具有根源于产地的品质,受气候和土壤等当地特定因素的影响。一个标志是否被承认是地理标志,由各国法律决定。地理标志可用于形形色色的产品,天然产品、农产品或制成品均可。
马来西亚通过了2000年地理标志法令,建立了一套证明地理标志的标准与及集体共有性(affiliation ownership)保护系统,建立了保护地理标志的制度。2000年法令强调了地理标志作为知识产权利的法律地位,同时也强调了原产地名称的共有性以及对企业生产过程和产品质量的监督和控制。
由于农产品的特定质量主要与该地理来源相关联。农产品和农副产品是地理标志的主要保护对象。
Champagne(香槟)和Parma (帕尔玛)火腿是来自欧州的著名地理标志。美国地理标志抱括了 FLORIDA(弗洛里达)的柑桔;IDAHO(爱达荷州)的土豆和WASHINGTON STATE(华盛顿州)的苹果,这些都属于地理标志。马来西亚已注册地理标志如下:一
(五)农业商业秘密
商业秘密是指不被公开、能为权利人带来经济利益、并经权利人采取保密措施的技术信息和经营信息。对农业企业而言,商业秘密主要包括:尚未公开的专利技术方案;尚未公开的植物新品种、新种质和新生物材料;尚未公开的微生物菌种;试验过程中的栽培方法、试验数据以及繁殖材料等。
(六)农业著作权
著作权又称版权,是指著作权人对其文学、艺术和自然科学、社会科学、工程技术等作品依法所享有的专有权利。在农业企业中,农业科技著作、技术论文、工程图纸、照片、图片等都属于农业著作权。
总结
知识产权制度是企业参与竞争,维护权益的坚矛利盾。知识产权不但是农业企业参与竞争的利器,它还保障财富的泉源。因此,农业企业须充分利用知识产权制度来面对市埸竞争,除了具備基本的知识产权意识,农耕企业应善用知识产权来管理和保护农业创新,以確保源源不断的财富。
1
Dec, 2016
农业知识产权,是指农耕企业家对农业技术所作出的创造性成果,依法保护所享有的经济权利 。伴随着农业科技含量的提昂,及农耕事业规模化发展,农业企业也进入了高新技术及高度商业竟争时代。因此,知识产权在农业领域也变成越来越重要。在竞争白日化的全球市场,马来西亚在某些农业及农业加工领域如棕油、榴梿、像胶还保持一定的国际竞争优势。要保持这方面的竞争优势,农业企业务必加强对知识产权的意识及应用。
农业企业涉及的农业知识产权包括了:植物新品种权;专利权;商标权;地理标志;商业秘密与著作权。本文将进一步探讨农业领域的知识产权保护。
read the rest
农业知识产权,是指农耕企业家对农业技术所作出的创造性成果,依法保护所享有的经济权利 。伴随着农业科技含量的提昂,及农耕事业规模化发展,农业企业也进入了高新技术及高度商业竟争时代。因此,知识产权在农业领域也变成越来越重要。在竞争白日化的全球市场,马来西亚在某些农业及农业加工领域如棕油、榴梿、像胶还保持一定的国际竞争优势。要保持这方面的竞争优势,农业企业务必加强对知识产权的意识及应用。
农业企业涉及的农业知识产权包括了:植物新品种权;专利权;商标权;地理标志;商业秘密与著作权。本文将进一步探讨农业领域的知识产权保护。
(一) 植物新品种权
植物新品种权简称品种权,是最重要的农业知识产权之一。
马来西亚《专利法》规定,植物品种本身不授予专利权,但动物和植物品种的生产方法可以授予专利权。同时,《马来西亚植物新品种保护2004年法令》(以下简称法令)规定,对符合条件的植物新品种授予植物新品种权,由育种者享有排他的独占权。
按照条例规定,植物新品种是指经过人工培育的或者对发现的野生植物加以开发的,具备新颖性、特异性、一致性和稳定性,并有适当命名的植物品种。植物新品种应当依法经过申请、审查程序后,方可被审批机关授予植物新品种权。我国的植物新品种权的审批机关为农业部,农业部属下新品种注册局负责农业植物品种的受理和审批。
植物新品种权案例
中国著名科学家“杂交水稻之父”袁隆平教授研制的超级杂交水稻新品种“Y两优2号”试验田亩产达到926.6公斤,比普通水稻亩产高出两到3倍,创造了世界杂交水稻亩产的新纪录。目前,袁隆平教授已经拥有授植物新品种权的植物新品种153件,而且正在培育更多、更好的新品种。
马来西亚是世界油棕研究强国,国内棕油研究所开发的棕油树新品种,如能保护为植物新品种权,加于商业化,肯定能为我国带来巨大的经济效益。油棕企业家不只靠买棕油原产品赚钱,也可以通过授权植物新品种权利获取财富。
(二)专利权
专利制度是保护发明创造最重要的法律制度。对农业企业而言, 专利保护农产品生产技术的发明,抱括了利用农业生物技术,结合核技术、光电技术以及常规育种技术,对农产品进行新物种进行塑造、快速繁育、高效生产以及品质改良所做出的发明创造。此外,专利也保护农业辅助产品的发明,譬如农药、化肥和农机具、农副产品做出的发明或设计。
农业专利案例
现代农业的发展与专利有着密切的关系,如改变世界的十大专利中就有两个与农业有直接的关系。 1794年获得专利权的榨棉机,这个发明使棉花成了美国南方各州的主要农作物,并使棉花的种植面积在全世界迅速扩大;另一个1874年1获得专利权的带刺的铁丝,使牧业规范地管理。这项专利对美国乃至全球牧业的发展起了重要作用。
马来西亚在一些农业与农业加工领域(如油棕生产及加工,像胶手套等)拥有优良先进的种植及加工生产技术,如能把这些宝贵技术保护为专利权,我国农业企业不但能通过这些专利权在竞争激烈的国际市场争取更大的行动空间,也能通过专利赋于的袭断权,赚取更大财富。
笔者将在农业知识产权(下篇)进一步探讨其他与农业有关的知识产权如地理标志; 商标权; 商业秘密与著作权。
17
Nov , 2016
The recent Court of Appeal (“COA”) decision in Oishi Group Public Company Limited v Liwayway Marketing Corporation upheld the previous High Court’s decision which ordered that the Defendant, Liwayway’s registered “Oishi” trademark be expunged and removed from the Trade Marks Register. The Plaintiff, Oishi Group had been exporting products into Malaysia using the “Oishi” trademark with the “Oishi” word being similar to the Defendant’s registered mark and had applied to court for the Defendant’s trademark to be expunged and removed.
read the rest
According to the COA’s judgment, 3 important issues arose based on the Defendant’s appeal of the High Court decision:
(1) Whether the Plaintiff was an ‘aggrieved person’ as provided under sections 45 and 46 of the Trade Marks Act 1976 (“TMA”);
(2) Whether there was continuous non-use of the Defendant’s trademarks which would warrant the exercise of the Court’s jurisdiction under section 46 of the TMA; and
(3) Whether the registration of the Defendant’s trademarks were conclusive under section 37 of the TMA and therefore cannot be removed under section 46.
On the first issue, the COA held that as long as the Plaintiff has shown a genuine, bona fide intention to use its trademark in the territory, the Plaintiff was considered to be an “aggrieved person” and was therefore qualified to make an application to remove the Defendant’s trademark under sections 45 and 46 of the TMA.
Secondly, the COA held that the Plaintiff had sufficiently proven the Defendant’s non-use of the trademark through an extensive market survey and the Defendant had failed to prove use through its insufficient and unclear commercial invoices. To establish non-use of a trademark, the mark must not have been used for a continuous period of 3 years plus 1 month prior to the date of the Plaintiff’s application to remove the trademark from the Register. Furthermore, the Defendant had temporarily suspended sale of its products sometime within 2009 and was therefore held to have not used the mark continuously during the relevant period between.
Lastly under section 37 of the TMA, the COA accepted the Defendant’s contention that a trademark which had been in the Register for seven years or more was presumed to be valid. However they viewed that the wording of section 37 showed that the presumption of validity was not a defence against an attack for non-use under section 46. Furthermore, the Plaintiff’s application to remove the Defendant’s trademark was not on the basis of the validity of its trademark, but rather of its non-use.
8
Nov, 2016
In this Singaporean case, the daughter and the younger son of Lee Kuan Yew (“the LKY estate”), who are the executors of his estate applied to court for the interpretation of an interview agreement (“IA”) signed in 1983 and the right to use the recordings and transcripts of interviews (“the Transcripts”) made between 8 July 1981 and 5 July 1982. The Transcripts were kept by the current Secretary to the Cabinet (“Cabinet Secretary”).
read the rest
In this Singaporean case, the daughter and the younger son of Lee Kuan Yew (“the LKY estate”), who are the executors of his estate applied to court for the interpretation of an interview agreement (“IA”) signed in 1983 and the right to use the recordings and transcripts of interviews (“the Transcripts”) made between 8 July 1981 and 5 July 1982. The Transcripts were kept by the current Secretary to the Cabinet (“Cabinet Secretary”). The plaintiff of this case, the LKY estate contended that all rights accorded to Lee Kuan Yew (“LKY”) under IA are vested in the LKY estate. LKY further contended that there shall be no access to, supply of copies of, or use of the Transcripts by anyone until 23 March 2020 without the express written permission of the LKY estate and the Cabinet Secretary is under a duty to inform the LKY estate of any request made for access to, supply of copies of, or use of the Transcripts and of the grant of any such request without the express written permission of the LKY estate. In rebuttal, the Attorney General opposed on the basis that the Transcripts were protected by the Official Secrets Act 2012 (“OSA”) and the LKY estate did not have the right under the IA to the use and copies of the Transcripts.
Two issues arose in this case. The court had to decide whether the OSA applied to and was relevant to the interpretation of the IA and whether the LKY estate inherited the copyright of the Transcripts. In the event the LKY estate had inherited the copyright, the next question which was based on the construction of the IA, was to what extent the copyright to the Transcripts does the LKY estate inherit?
The High Court held that the applicability of OSA to the Transcripts is a relevant issue in interpreting the IA. The OSA as a statute operates by law and needs no explicit reference in the IA. It applies to the Transcripts regardless of whether it was confidential as the Transcripts were created by LKY during his office as the Prime Minister, not in his personal enterprise. It would restrict anyone in possession or control of the Transcripts from dealing with the Transcripts without Government authorization, even LKY himself did not have an unqualified legal right to compel the Government to give him a copy of the Transcripts. The Court further held that the wording of cl 2(a) of the IA was explicit that LKY reserved the copyright of the Transcripts to himself “until 2000 or 5 years after his death, whichever is later”, and thus altered the default position under s 197 (1) of the Copyright Act 1987 (Cap 63, 2006 Rev Ed). LKY’s copyright would survive for the benefit of his estate based on s 10 (1) of the Civil Law Act (Cap 43, 1999 Rev Ed), which allows all cause of action vested in a deceased to survive for the benefit of his estate. Hence, the LKY estate inherited the copyright to the Transcripts for the 5-year period after LKY’s death. However, the copyright inherited by LKY estate is curtailed by the OSA, as such a right is limited to the purpose of ensuring the Government’s compliance with the terms of the IA only.
8
Nov, 2016
This case concerns the registrability of three-dimensional (3D) marks. The Plaintiff, Kraft Foods had sought to apply to register a 3D prism-shaped mark in reddish brown colour, described as “Toblerone Chocolate Teeth 3D In Colour” (the “Proposed Mark”) for goods in Class 30 (chocolates etc.).
read the rest
The Registrar refused to register the Proposed Mark for the following reasons:
a) it was deemed as a word with no direct reference to the character or quality of the Plaintiff’s goods;
b) it was not distinctive and was not capable of distinguishing the Plaintiff’s goods in the course of trade; and
c) it did not fall within the definitions of “mark” and “trade mark” under the Malaysian Trade Marks Act (“TMA”).
Kraft Foods appealed to the High Court against the Registrar’s refusal. Among the issues to be dealt with by the High Court were:
a) whether a 3D prism mark or a “shape” mark is a “mark” and “trade mark” according to s. 3(1) of the TMA; and
b) whether a 3D prism mark of the Plaintiff is distinctive of the Plaintiff’s goods within the meaning of s. 10(1)(e), (2A) and (2B) so as to be registrable under the TMA.
In relying on the UK judgment of Smith Kline and French Laboratories Ltd. and the dictionary meaning of the word “device” as stated in the definition of a “mark” in s. 3(1) of the TMA, the High Court held that a 3D mark is a “mark” under the TMA and is thus registrable. The High Court further relied on the Malaysian case of Yong Teng Hing B/S Hong Kong Trading Co & Anor v Walton International Ltd [2012] 6 CLJ 337 as to the conditions of registrability of a 3D “shape mark” where as long as the applicant is the bona fide owner of the mark, the mark is distinctive of the applicant’s goods and the registration of the mark is not prohibited by the TMA, then a 3D “shape mark” may be registered.
However in the present case, the High Court held that the Proposed Mark is not a “trade mark” under the TMA as there is nothing in that mark which would indicate a connection in the course of trade between the Plaintiff’s goods and the Plaintiff. With regards to distinctiveness, it was held that the Proposed Mark was not inherently distinctive as the Proposed Mark did not possess any feature which was capable of distinguishing the Plaintiff’s goods in the course of trade from the goods of other traders. The Proposed Mark was also held to be not factually distinctive as the Plaintiff had only used the Proposed Mark with the “TOBLERONE” name on or in relation to the Plaintiff’s goods and there was no evidence that the Plaintiff had used the Proposed Mark without the “TOBLERONE” name.
The Proposed Mark was therefore not registrable as a 3D mark.
8
Nov, 2016
在欧美日等较为先进的经济体系,成熟的知识产权(IP)企业,可以 通过更为创新的金融手段,把无形的知识产权证券化,向广大的市埸筹集资金。
read the rest
在欧美日等较为先进的经济体系,成熟的知识产权(IP)企业,可以 通过更为创新的金融手段,把无形的知识产权证券化,向广大的市埸筹集资金。
所谓的知识产权证券化(Securitization)是指IP企业将其拥有的知识产权或其衍生债权,如授权的权利金移转到特设载体(SPV),经过重新包装、信用评价等,以及信用增强后发行在市场上可流通的证券,借以为发起机构进行融资的金融操作。作为一种重要的金融创新,知识产权证券化对于建设多层次金融市场具有重要意义。
成功通过IP资产证券化在美国和欧洲股票交易市场上市的IP企业有 Qualcomm,ARM、Mosaid、Rambus 和WiLan。在以上例子当中,以Qualcomm公司的成功史最为人津津乐道。 Qualcomm 在1999年策略性的决定结束其手机生意,把公司转形为开发及授权手机上网所使用的CDMA与W CDMA专利的公司。在2000年,公司营业额为30亿美元,CDMA专利授权占了公司收入的90%,而净利也升致40% 。一般使用W CDMA上网的3G手机售价为20O美金,其中机件成本僄为150美金, Qualcomm则从每架手机赚取10美金授权金。 Qualcomm 放弃了传统手机生产销售业务,进而转形为IP企业,这举动受到市埸的欢迎,其股价也从1999年的4美金,升致2000年尾的80美金,升副高达2600% 。
IP证券化已广泛应用在各行各业,其中包括:
案证㈠ : 音乐版权证券化
1997年2月,英国超级摇滚歌星大卫·鲍伊( David Bowie)以其25张个人专辑的版权收入作为担保,发行了10年期利率7.9%、总额度为5500万美元、平均偿付期为10年的资产支持证券,这就是著名的“鲍伊债券”。
案证㈡: .电影版权证券化
著名的“梦工厂”在1997年以拟拍摄的14部电影版权实施了第一笔知识产权证券化。它成立了一个名为“梦工厂投资公司”的SPV,该公司拥有包括《拯救大兵瑞恩》、《美国丽人》和《怪物史莱克》等30多部影片的收益,发行了10亿美元的资产证券化债券。
案证㈢ : 专利权证券化
2003年初,美国药业特许公司RoyaltyPharma的13种药物专利权为基础资产,构建了一个知识产权资产池,发行了2.25亿美元的投资债券。 2009年7月,Vertex制药公司的药物专利许可使用费用为基础资产,发行了2.5亿美元债券。
案例(四) : 转播权证券化
2001年,“英超”利兹联队( Leeds United)以其未来20年的门票收入作为基础资产,发行了7100万美元的资产证券化债券,用于购买顶级球员。随后,英国的阿森纳队等几支球队也纷纷启动了知识产权证券化的融资操作。
案证(五): 品牌使用权证券化
2003年,美国著名服装生产商Guess发行了5000万美元的债券,把其14个产品的品牌特许使用权证券化。 2005年底,2007年唐恩品牌公司(Dunkin'BrandsInc.)以其旗下3家快餐公司的品牌许可使用费用为基础资产发行了17亿美元融资债券。
中小型IP企业,固定资产较少,无形资产往往占到50%以上,不仅无法满足上市的门槛,也难以达到银行的借贷要求,知识产权证券化无疑是融资的一种有效途径。
希望读者可以透过所分享的IP融资概念,在企业发展的不同发展阶段,利用其知识产权资产,筹集企业发展所需资金。在当前知识型经济,知识产权是企业最有价值的资产,而这类资产也普遍上被出资方(包括银行,投资人)所接受。所以大马的IP企业要善加利用知识产权这最新的融资工具,设法把企业的利益最大化,以便踏上知识形经济时代成长列车。
3
Nov, 2016
在开花结果的成熟期,IP企业拥有众多的融资方门,关键是如何用知识产权以最低成本融集最多资金。
在这个阶段,IP企业可以通过几个途径,其中包括IP收购合并、IP证卷化、甚至IP上市耒金钱化(Monetise)其知识产权。
成熟期IP 企业融资的最快方式就是真接出售其知识产权组合,或直接脱手持有知识产权组合的公司给对其知识产权有兴趣的买家,以便筹集基金。
笔者希望在这里与读者分享发生的知识产权收购合并案例。
read the rest
在开花结果的成熟期,IP企业拥有众多的融资方门,关键是如何用知识产权以最低成本融集最多资金。
在这个阶段,IP企业可以通过几个途径,其中包括IP收购合并、IP证卷化、甚至IP上市耒金钱化(Monetise)其知识产权。
成熟期IP 企业融资的最快方式就是真接出售其知识产权组合,或直接脱手持有知识产权组合的公司给对其知识产权有兴趣的买家,以便筹集基金。
笔者希望在这里与读者分享发生的知识产权收购合并案例。
案例㈠ 2011年7月, 以苹果(Apple),微软(Microsoft),RIM,索尼(SONY)为首的集团,以美金45亿的高价收购已面临破产北电(Nortel)公司之6000个有关智能手机専利。
案例㈡ 2011年8月,谷歌(Google) 以美金125亿的天价收购持有超过1万7干个有关电子商务,第3代无线网络専利的Motorola Mobility摩托罗拉移动公司,成为近10 年来无线设备行业数额最大的一笔并购。 评论:
对于此收购案,有分析指出,Google 此举主要是为了防御,因为在此之前发生的一系列剑指其Android 手机操作系统的专利纠纷案件确实让Google 很是头疼,特别是竞争对手大手笔并购北电智能手机专利时,更是触动了Google的神精缐。当Google 开放的移动终端操作系统“Android”在全球高歌奋进的时候,Google 却在不自觉中踩上了一系列的专利“地雷”——包括苹果、微软和甲骨文等在内的一些竞争对手纷纷向Android 阵营企业提出专利诉讼。在专利围攻之下,Android 系统产业化成本不断上升。以致于有人断言,Android 系统将有可能从最初的免费开放变成史上最贵的智能手机操作系统。 对此,Google 不得不奋起反击,而且出击的重要手段之一便是通过并购知识产权,扩大自己在相关领域的话语权。收购案前,摩托罗拉移动有 1.7 万项专利,另外还有 7500 项专利申请正处于审批程序。 Google 完成对摩托罗拉的收购后,直接获得了摩托罗拉积累的大量专利,这无疑会极大扩张Google 专利保护的能力,使其有能力抵御甚至击退苹果、微软等公司对Android 手机操作系统发起的专利侵权诉讼。 因此,成熟型IP企业手握的核心专利技术,可能是大型上市企业因市场竞争力等原因成为策略性收购对象。那IP企业就可以通过出让知识产权,套现财富。
6
Oct, 2016
知识产权(IP) 企业经历了艰苦的创业期,业绩终于步上轨道,好不容易挨到了高度成长的企业青春期。在此阶段,IP企业会尝试把生意做大做强,把创意产品或服务扩大生产规模,及把业务区域化甚至国际化。
read the rest
知识产权(IP) 企业经历了艰苦的创业期,业绩终于步上轨道,好不容易挨到了高度成长的企业青春期。在此阶段,IP企业会尝试把生意做大做强,把创意产品或服务扩大生产规模,及把业务区域化甚至国际化。
随着生意的快速成长,知识产权的重要性也更为显着。 IP企业除了在国内市埸把品牌与创新保护为商标或专利权,也会在国外的主要目标市埸保障其知识产权。 IP企业更可通过看知识产权授权模式,寻求国外合作伙伴,把生意扩充到五湖四海。
IP企业在成长期阶段,有了较稳定的现金流,企业融资方案变得更为广阔与多样化。
成长期的 IP企业获得资金的途径主要有3个:一是向风险投资基金融资 ;二是上市聚资;三是银行贷款。
风险投资基金(Venture Capital Fund) 可以向企业提供资金,但代价是获得企业的股权。创投资金 是指由一群具有科技或财务专业经验的人士操作,以私人股权方式从事资本经营,并且 专门投资在具有发展潜力以及快速成长公司,追求长期资本增值的高风险、高收益的资金 。创投资金投资前题,就是企业的知识产权质量。美国创新企业能不断的推陈出新,成功孕育了微软,谷歌,面子书,苹果等伟大改变世界的IP创新企业,这与美国境内设有完整的创投资金体系息息相关.
成长型IP企业也可选择在创业板上市融资。然而,上市融资耗费时间长,证券交易所对申请上市企业的审查也非常严格,想通过上市融资并非易事。
在债务融资方面,IP企业可以向传统的银行商业货款,也可通过知识产权质押贷款融集资金
传统银行贷款的门槛较高,为控制风险,银行通常不太愿意向IP型企业贷款。因此,IP质押贷款的出现,突破了传统的实物抵押担保模式,为缓解科技型IP企业融资难开辟了一条新途径。
所谓的IP质押贷款是指企业或个人以合法拥有的专利权、商标权、著作权中的财产权经评估后作为质押物,向银行申请融资。 IP企业可以通过评估知识产权的价值,套现企业未来的资金流。然而,知识产权资产质押作为担保,它必须先进行估值。知识产权价值评估方法分为收益现值法,成本法和市场比较法。
大马政府2013年预算下推出的是知识产权质押贷款,其中将拨款2亿元马币充作IP融资基金,该资金将由马来西亚债务权构(MDV)管理。 2014年5月, 新加坡政府也推出一项总值1亿新元(约合3亿元马币)的知识产权融资计划。该计划通过政府与银行共同承担部分债务风险,帮助新加坡企业使用知识产权获得银行贷款。新加坡知识产权局委任3家专业机构评估企业的专利,企业可以把专利作为抵押资产,向新加坡的大华、华侨和星展银行申请贷款。一旦企业无法偿还贷款,这笔钱将用于承担银行的部分亏损。
IP质押贷款的贷款对象是拥有大量专利和少量固定资产的科技领域创新型IP企业,它将为IP企业提供一个新的融资渠道。知识产权融资既不需要IP企业出让股权,又不需要耗费很长时间,这对既达不到上市标准,也缺少传统的实物固定。资产的成长型IP企业来说是个福音。
22
Sept, 2016
先进国如美日韩,私人企业专利申请量占国内专利申请量的百份之八十,大学政府研究机构只占百份之二十。然而,马耒西亚私人企业的专利申请量仅占国内专利申请量百份之二十,政府则占了 百份之八十。
read the rest
先进国如美日韩,私人企业专利申请量占国内专利申请量的百份之八十,大学政府研究机构只占百份之二十。然而,马耒西亚私人企业的专利申请量仅占国内专利申请量百 份之二十,政府则占了百份之八十。
如此可见,大马私人企业还未真正踏上自主知识产权创新道路,更甭讲如何在竞争激烈之知识型经济国际市场与其他企业互争长短。
大马政府意识到创新为促进国家步向先进国的不二方门,在第十一大马计划(2016年致2020年)制定了多项辅助金优惠政策,分布多个政府部门,为早期,成长期及成 熟期企业提知产研发保护与商业化辅助金。知识产权企业家应熟悉,理解和善于利用与知识产权有关的政府补助金/税务优惠政策,把您的公司业务带到一个新的水平。
在第11大马计划下,政府加码研发和商业化研究成果的援助金,增一倍至5亿令吉,相比第10大马计划的2亿9700万令吉来得高。
大马各政府部门单位所颁发与知识产权(IP)有关援助金如下:
马来西亚科学工艺与革新部(MOSTI)为那些构想期的IP企业家们提供了科学基金(Science Fund),耒补贴研究与开发新构想时段 所需经费。面对商业化期和成长期IP企业,该部门也提供创新基金(Innofund)与科技化基金(Technofund)协助他们验证,生产及商品化其创新与发明。除了MOSTI,它属下 的马来西亚技术开发公司(MTDC)也为处于前商业化期和成长期的IP企业们提供两种不同的援助金,分别为科技收购基金(TAF)和研发成品商业化基金(CRDF).此外MOSTI属下的 多媒体发展公司(MDEC)也为从事电子资讯及多媒体技术的IP企业家们推出了马来西亚研究和发展资助计划(MGS)帮助他们开拓,发展及保护新技术。
在这里,我想与大家简略的介绍由大马科技发展局(MTDC)所提供的援助金。知识产权企业家可善于利用这些援助金,保护及运营化其知识产权。
此外,大马财政部(MOF)在前商业化期和成长期分别为IP企业们提供了创业基金(BSF)和业务发展基金 (BGF)。 MOF属下的马来西亚企业债务机构(MDV)也为前商业化期和成长期的IP商家们提供知识产权货款方案(IP Financing Scheme),允许IP企业家 利用知识产权为底押品,以较优惠利息,贷款基金开拓生意。最后MOF也设立大马创投管理机构(MAVCAP),特意为前商业化期和成长期的IP企业提供风 险投资(Venture Capital Fund)。
面对林林总总与IP有关的政府辅助金,IP企业家应何善以利用这些优惠政策,是IP事业成功的关键。在此呼吁IP企业家们时刻关往IP辅助金的最新进展,并踊跃申请。马来西亚知识 产权企业家总会(AIPO)在这方面也提供免费询问平台,解答疑问。
11
Aug, 2016
公司的 LOGO 设计是一门有名堂的生意。设计一个大公司的 LOGO 可能要花很多钱,聘请有司职于此的设计团队、调研公司…但有的公司在这上面就没花几个钱。
read the rest
2
Aug, 2016
英国退欧公投顶尖的知识产权律师警告说,英国公投结束之后,企业可能需要在英国重新申请他们的专利和商标。
read the rest
ZD至顶网服务器频道 06月25日 新闻消息:英国退欧公投顶尖的知识产权律师警告说,英国公投结束之后,企业可能需要在英国重新申请他们的专利和商标。
Pinsent Masons的专利法律专家Iain Connor在Out-Law.com上写道,离开欧盟的决定对“自动的、全欧盟范围内的知识产权保护”打上了一个大问号。
欧盟注册商标提供了整个欧洲范围内的权利,但是随着英国宣布脱离欧盟,官员们必须构建一个新的系统向英国延伸这些权益,或者反过来也一样。无论形势如何发展,以及以何种时间进程演变,这只是 英国脱离欧盟带来的诸多问题之一。
Connor表示,“离开欧盟意味着覆盖28个成员国的权利将转换成新的制度,要么将欧盟的权利引入国家权利,要么要求权益持有人在英国和其他成员国重新开始保护知识产权的申请流程。”
换句话说,如果这些官僚们无法达成一致,企业就很可能需要重新申请他们的专利、商标等等,使之能够适用于英国。而且,如果是英国的企业,可能也需要重新向好几个欧洲的国家进行申 请。
你还参加UPC吗?情况改变了
这不是唯一的问题。离开欧盟的这个决定还对全欧洲统一专利法院(Europe-wide Unified Patent Court,UPC)系统打上了一个大大的问号,该系统原计划于2017年开始运行。
同样来自Pinsent Masons的Deborah Bould和Helen Cline警告说:“UPC Agreement要等待欧盟对英国作为必须的签署国这一状况进行调整,所以UPC计划将出现延迟。”随着英国离开欧盟,整个系统都可能出现延迟。她表示,这项计划原定于2017年春季开始运行的时间安排现在看来已经变得“不现实”了。
只有完全加入欧盟的成员国才被允许参加这一旨在简化整个欧洲大陆专利申请的系统。英国可以自行批准UPC协议,但是既然这一方法是欧盟制定的,那么似乎就不太可能了。
更为重要的是,伦敦原本是UPC的三个主要办公地点之一,侧重管理药品方面的专利。现在几乎可以肯定地说这一安排要调整了。
Cline认为:“其他的参与国将会展开一场争夺战,争夺伦敦的这一地位。意大利看起来似乎处于有利地位,尽管荷兰也是一个很好的候选国家。”
没有加入UPC系统,英国可能会让自己对于企业和投资的吸引力下降。离开欧洲之后还带来了很多其他方面的问题,这将导致障碍,很多公司可能会觉得不值得为了英国在惹上更多的麻烦事了。
同样,如果英国想要确保自己在全球市场上不会处于劣势,它可能需要全盘使用欧洲的法规,但是却无法影响这些法规的发展。
2
Aug, 2016
“OOOO 你这么牛,怎么不飞上天”。这是时下一句流行语。以鄙视那些自不量力的人和事。但今天,作为放松三部曲的最后一个,我们将看见一款真的要飞上天的家伙。日前,丰田汽车公司正式为旗下 某车型申请飞行专利。
read the rest
“OOOO 你这么牛,怎么不飞上天”。这是时下一句流行语。以鄙视那些自不量力的人和事。但今天,作为放松三部曲的最后一个,我们将看见一款真的要飞上天的家伙。日前,丰田汽车公司正式为旗下 某车型申请飞行专利。
据海外媒体报道,本周日本丰田汽车公司,向美国专利和商标局申请飞行专利。这已经不是丰田第一次这样做。早在2014年12月丰田就向专利部门申请过相关的专利。甚至当时连申请的车型都订好了 (普锐斯)。
但在最近申请内容,与之前截然不同。当时的想法是源于工业革命时期飞机出现之前,人们对于飞行器进行设计时的一张图片。这一设计是在当时已经出现的汽车车身上通过改装增加机翼等配件使汽车能够飞行。
飞行所需要的启动动力远远大于陆地上平跑的启动动力。然而一旦起飞,在空中由于摩擦力的降低和空气动力的存在,所需要的动力就要大大的降低。而普锐斯由于车身较轻,操作灵活和设计比较符合空气动力学等特点,在这一方面会有更大的优势。同时,由于本身的低油耗使得其飞行成本大大的降低
而此次,丰田将把车型设计成完全的水滴状。在车辆的尾部,还将增加一个小的螺旋桨。在车身的底部隐藏着飞行用的机翼。在道路行驶时,机翼及螺旋桨将收回车内。当要飞行的时候,机翼将弹出,然后以类似Terrafugia的飞行方式飞行。尽管现在这些看起来,还是很滑稽。但谁也不能保证未来丰田不会制造出一台会飞的汽车。毕竟所有的可能都是从混思乱想中的不可能开始。
2
Aug, 2016
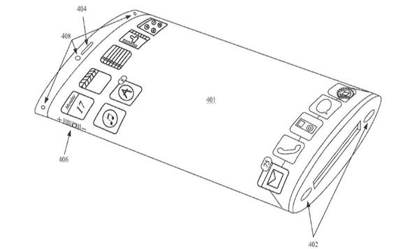
苹果最近获批了一项名为 “ 360 度弧形环绕式屏幕 ” 的电子设备专利。
read the rest
苹果最近获批了一项名为 “ 360 度弧形环绕式屏幕 ” 的电子设备专利。
从图示中可以看到,这部 iPhone 除了底部和顶部的一小块以外,就剩下 360 度的屏幕了。
这一设计无疑颠覆了现在主流手机的外形。
苹果在专利申请书中表示,如今传统手机厂商普遍采用屏幕加外壳的设计,这浪费了大量的空间。如果能将这些区域变成屏幕,加上虚拟的按钮,产品的功能性会进一步得到延展。
实际上,苹果早在 2011 年就申请了这项专利,直到近日这项专利才正式被美国专利和商标局批准。所以在概念图中你会看到这款设备使用的是更宽的 30-pin 接口,早在 iPhone 5系列 便被放弃。
从概念图中你可能还会发现,苹果手机中标志性的圆形 Home 键也没有出现,上个月苹果通过的另外一项专利,将 Touch ID 传感器植入到屏幕里,从而将 Home 键嵌入到了显示屏中,这 将有利于用户更快地查看和处 理通知消息,也能节省空间。
不过,苹果的大多数专利都不会马上应用到实际产品中。
但这项专利中的许多元素依然反映了苹果手机发展的趋势。比如在这次的 WWDC 大会上,升级以后的 iOS 10 系统将借助传感器,帮助用户拿起手机便点亮屏幕来查看通知和处理消息,而无需再反复按下 Home 键。
在此之前,6s 系列已经可以从屏幕边缘用力向中心划动来启动多任务管理,实现和双击 Home 键相同的功能。可见苹果正在一步一步减少实体 Home 键存在的必要性。
有一天也可能如专利所示,实体键被完全取代。
2
Aug, 2016
iPhone自发布以来,一直以来是各大智能手机厂商设计的标杆,很多款智能手机上都有些iPhone的影子,苹果以前甚至频频发起诉讼,指责别家公司抄袭iPhone设计。可是,你有没有想过,原 来你手上的iPhone 6和 iPhone 6 Plus,也侵犯了别人的外观专利?
read the rest
iPhone自发布以来,一直以来是各大智能手机厂商设计的标杆,很多款智能手机上都有些iPhone的影子,苹果以前甚至频频发起诉讼,指责别家公司抄袭iPhone设计。可是,你有没有想过,原 来你手上的iPhone 6和 iPhone 6 Plus,也侵犯了别人的外观专利?
这个厂商既不是三星、华为,也不是小米HTC,而是一家名为“深圳佰利”的名不见经传的小公司。iPhone 6和iPhone 6 Plus甚至为此有可能面临在北京地区被禁售的处罚。
这到底是咋回事?
原来,深圳佰利此前曾向北京知识产权局提出,iPhone6和iPhone6 Plus两款手机的外观设计侵犯了自己“手机(100C)”的外观设计,要求北京市知识产权局责令苹果公司禁售这两款产品 。
而根据《北京晨报》和《华尔街日报》的消息,北京市知识产权局在这周发布了《专利侵权纠纷处理决定书》,判定苹果的iPhone 6、iPhone 6 Plus手机侵权。
《专利侵权纠纷处理决定书》里称,经过比对,
苹果公司的iPhone6和iPhone6 Plus两款手机与佰利公司的“手机(100C)”虽存在一系列的差别,但均属于一般消费者难以注意到的微小差异,故应当认定二者无显著区别,落入涉案专利的保护范围……责令苹果公司停止销售iPhone 6和iPhone 6 Plus。
嗯,好吧,无图无真相,我们就来看下,iPhone6和iPhone6 Plus与这款名为“100c”的手机到底有多相像?
看完之后我只想说——
如果长成那样的100C和iPhone只存在“属于一般消费者难以注意到的微小差异”的话,那么,我只能说,天下智能手机本来是一家了……不信你看,
HTC
华为
小米
三星
都怎么活啊……
深圳佰利在2014年1月申请了100C智能手机的外观专利。在获批后,它曾经联系苹果,表示希望在庭外解决这个专利争端。高冷的苹果当然拒绝了,而是选择在2015年3月申请废除这项专利,但是没能成功。
现在,对于北京知识产权局的处理结果,苹果表示不服,并已经向北京知识产权法院提起行政诉讼,要求法院依法撤销被诉决定。
北京知识产权法院对此案还在审理中,但是如果法院判决也认为苹果侵权,那么大家就没有办法在北京买到iPhone6和iPhone6 Plus了 (仿佛看到针对北京地区的iPhone代购业务正在兴起……)。更糟糕的是,它还有可能成为先例,影响到在中国其他地区类似案件的处理结果。
这不是第一次苹果在中国被卷入知识产权案件,2012年,苹果支付了6000万美元来获得iPad的商标,不知道这个案件,苹果会需要付出多大的代价。四月的时候,苹果的iBooks和iTunes Movies服务就被关闭,据传就是因为缺乏相关的牌照。不过也有人认为,这是对包括华为、中兴等在内的中国企业在美国连连受到起诉、调查和制裁的反击。
随着中国成为苹果第一大海外市场,并有可能超过美国成为苹果第一大市场,苹果就已经在不遗余力地讨好中国,还推出了符合国人口味的土豪金色。中国也成为过去三年里,库克出访的最多国家,他还跑去担任清华经管学院的顾问委员会成员。上个月,苹果10亿美金砸在了滴滴身上,也成为它有史以来最大的一笔投资。
在WWDC发布会上,“中国”不离口的库克,尽了最大的努力,让全世界的人都知道“苹果爱中国”。但是现在看来,可能库克爱的还不够深吧。
2
Aug, 2016
Celebrities aren’t like you and me. They’re better. Or at least Facebook thinks they’re worth more money.
read the rest
Celebrities aren’t like you and me. They’re better. Or at least Facebook thinks they’re worth more money.
Convince experts and influencers to like something, and everyone will follow their lead. The question is how to identify who these special people are, and Facebook’s just patented one of the trickiest ways yet.
The idea is that Facebook could watch the rate at which a piece of content like a link is shared, then figure out whose posting led to a sudden increase in share rate in their network. Those people are the influencers, and the people that they discovered the content from are the experts.
Facebook could then target those people with ads and presumably charge businesses a boatload to reach them. It makes perfect sense. Why would it cost the same amount to reach someone famous, powerful, or widely cited as someone whose endorsement won’t sway people?
Influencers can be identified as people whose shares caused spikes in the local share rate
Spotted by PatentYogi and Smartup Legal the “Identify experts and influencers in a social network” patent was first submitted by Facebook’s ads head Andrew “Boz” Bosworth in 2011, but was just granted this week. In patent mumbo jumbo it “comprises identifying the first users who caused the non-zero rate of sharing of the element of information to locally increase significantly.”
Other tech giants like Google, Yahoo, and Microsoft have received patents for this so-called “Influencer Marketing” but none use as clever of a technique do determine who the VIPs are. Google’s looks for volume of connections, Yahoo’s can look at how influential someone’s own followers are, and Microsoft aims to assemble a set of influencers with the largest unduplicated audience.
But these all have the same flaw. They use connection count as a proxy for influence rather than measuring influence itself. Someone who aggressively networks and builds up tons of shallow connections could be mistaken for an influencer even if no one believes them
Facebook’s method directly measures influence by determining not just who has the most followers, but whose followers re-shared the content. Even if someone had a smaller following, they could be an influencer in a specific topic if their word inspires others to share. And the patent further identifies experts because they’re who first gets influencers to share.
Marketing to these people is obviously quite lucrative. If they recommend something, their followers will parrot that endorsement far and wide. Bosworth explains that “experts and influencers may be identified for any subject matter…at any granularity. For example, experts and influencers may be identified for all types of digital cameras, or only for single-lens reflex (SLR) digital cameras, or only for SLR digital cameras made by Canon, Inc.”
If you’re Canon, the ability to target Facebook ads to people who are experts and influencers on Canon products would obviously stir up more sales than targeting people who simply Like Canon or photography. Virality could make influencer demographics even more juicy than people who’ve shown buying intent by visiting Canon purchase pages.
Facebook doesn’t always productize its patents but this one seems reasonably easy to integrate. The social network could sell these expert and influencer demographics to advertisers at a frothy markup with its category targeting tool.
Klout may have given influencer marketing a smarmy name, but Facebook’s found a way to do it effectively at scale without publicly judging people. And Facebook’s method doesn’t require participation (or even consent). If you’re famous, and on Facebook, now it knows how to put a price on your head.
2
Aug, 2016
Imagine sitting at an intersection, waiting for the light to change, when your dazed reverie is interrupted by a drone landing on the stoplight.
read the rest
GeekWire Illustration. (Photos via Amazon, Shutterstock).
Imagine sitting at an intersection, waiting for the light to change, when your dazed reverie is interrupted by a drone landing on the stoplight.
That future might not be too far off if Amazon moves forward with an idea to install drone docking stations on top of street lights, power poles, cell towers, and other existing structures.
Drones could land on these birds nests to recharge, receive routing instructions, and take shelter during unexpected bad weather, according to a recent patent filing, as first reported by Patent Yogi.
Amazon is moving forward with plans for a major drone delivery option, despite last month’s regulatory setback. In June, the FAA issued its final rules for commercial drones, limiting them to the visual line of sight of the operator and prohibiting flights over people who are not involved in the drone operation.
The regulations were a blow to Amazon, but the FAA did say that certain rules (like the line-of-sight provision) could be waived if the operation is proven to be safe.
Amazon has threatened to take its drone operation overseas if regulations in the U.S. become too burdensome.
Here’s a look at Amazon’s vision for the drone docking stations:
2
Aug, 2016
BEIJING, July 21 (Xinhuanet) -- China’s progress in innovation is remarkable, said Director General of the World Intellectual Property Organization Francis Gurry in a recent exclusive interview with Xinhuanet.
read the rest
Francis Gurry, Director General of the World Intellectual Property Organization speaks during an exclusive interview with Xinhuanet in Beijing, July 19, 2016.
BEIJING, July 21 (Xinhuanet) -- China’s progress in innovation is remarkable, said Director General of the World Intellectual Property Organization Francis Gurry in a recent exclusive interview with Xinhuanet.
According to Gurry, the target for China by 2020 is to be a leading innovation power.
China is now undergoing a transition from a labor-intensive model of “Made-in-China” to an innovation-driven model of “Created-in-China”, he added.
The spirit of innovation, in turn, is highlighted in hope of a more healthy and effective economy.
Speaking of the progress in intellectual property protection in China, Gurry stressed the speed and influence China has achieved.
“It’s 32 years exactly since the first patent law was established in China, and since then we now see the country has the largest patent law office and trademark office in the world. Increasingly, the promotion of intellectual property in China, the inventions, branding and designs are internationalized and we see that reflected radically across the world,” said Gurry.
2
Aug, 2016
Whenever you create something new, patent it as soon as possible, or others might take advantage of your creation. It has happened numerous times throughout history. While the following creators may have received some meager compensation for their creations, most saw little to no profit at all.
read the rest
Whenever you create something new, patent it as soon as possible, or others might take advantage of your creation. It has happened numerous times throughout history. While the following creators may have received some meager compensation for their creations, most saw little to no profit at all.
10.John Walker
Matches
You may have thought that people were lighting fires with matches for hundreds or even thousands of years, but the invention of the friction match came about in 1827. English inventor and chemist John Walker created the matches we know today and sold them in his hometown of Stockton. He marketed them as “friction lights,” but most people called them “lucifers” as slang. Walker was never satisfied with his invention and did not patent it as a result. He later left his business to Sir Isaac Holden, who went on to market and sell matches all over the world. Because of this, Holden is often mistakenly credited as the inventor of matches, and Walker, who died in 1859, only received credit posthumously when his ledger was found.
9.Benjamin Bradley
Steam Engine For Warships
Benjamin Bradley was born into bondage in the United States during the 19th century. He was illegally educated by his owner’s children, showing proficiency in mathematics and reading. By around 1830, he was recognized as an engineer and even created a small steam engine from scraps he found around the home he worked. He began working for the US Naval Academy in Annapolis, Maryland, where he assisted in various experiments. He earned a full salary but was only allowed to retain $5 per month, as the rest went to his owner. Bradley saved most of his income and earned enough money to build a steam engine large enough to power a warship. As a slave, he was unable to patent his design, which was used to run America’s first ever steam-powered warship. He eventually saved his money again and purchased his freedom, but he was never able to profit from of his amazing invention.
8.Ron Klein
Magnetic Credit Card Strip
Before we were able to imprint account numbers, vendors had to consult a large printout of credit accounts before accepting charge cards. Klein saw this hindrance as something he could fix with the recently developed magnetic tape being used in the recording industry. He invented a method of encoding magnetic tape with simple information, like an account number, and applied this to the back of a credit card. He never made much money from his patent on the magnetic tape, but he did eventually become quite wealthy due to his other inventions,. He has named himself the Grandfather of Possibilities and continues to work on new inventions to this day.
7.Benjamin T. Montgomery
Steam-Operated Propeller
Ben Montgomery was born into slavery in Virginia and was sold to Southern plantation owner Joseph Davis in Mississippi. Davis’s main claim to fame is being the older brother of one Jefferson Davis, the future president of the Confederate States of America. Benjamin found a different road into the history books than his owner by eventually taking over shipping for his business along the Mississippi River. To combat the difficult navigation of the river due to the varied depths, Montgomery invented a new method of angling a steam-powered propeller so that boats could operate safely in shallow waters. Because he was a slave, he could not patent his inventions. Davis did allow for his slaves to retain money they earned commercially, so Montgomery was able to save enough from his work to purchase his freedom, but he was never able to patent his design and therefore never benefited financially from it.
6.Mikhail Kalashnikov
The AK-47
The most widely used automatic rifle on the planet was created by a man who wanted nothing more than to do his work for his country. Mikhail Kalashnikov created the AK-47 while working as a small arms designer for the Soviet Union in 1947. The weapon has gone on to arm ranks of soldiers, freedom fighters, terrorists, insurgents, and drug traffickers the world over. There are an estimated 100,000,000 AK-47s in use today. Because he worked in the communist Soviet Union, he never received the financial success that arose from his design’s success. A few months prior to his death in 2013, Kalashnikov wrote a penitent letter where he asked forgiveness from the Russian Orthodox Church for his creation as he felt he was responsible for the deaths caused by it. He wrote, “The pain in my soul is unbearable. I keep asking myself the same unsolvable question: If my assault rifle took people’s lives, it means that I, Mikhail Kalashnikov . . . am responsible for people’s deaths.”
5. George Crum
The Potato Chip
The potato chip is likely one of the only inventions to be made out of spite. While working as a chef at Moon’s Lake House in 1853, George Crum served a plate of French fries to a customer who complained that the fries were too thick and soft. Deciding to stick it to this irate customer, Crum sliced the potatoes so thin that they came out as fried chips instead of the normal french fries. The thinly sliced chips were a huge hit and George ended up making them so much that when he finally opened his own restaurant, he had a bowl laid out on every table. He called his invention “Saratoga Chips.” Crum never patented his recipe/innovation, and several other people and corporations began to bag and sell potato chips all over the world.
4.Sir Christopher Cockerell
The Hovercraft
While working in a shipping company he owned, Cockerell found delays to be a problem. He reasoned that a craft held above the water would have no drag and could travel at greater speed. He worked on developing the hovercraft for years using a vacuum cleaner and tin cans to test his theory. Once he built a proof-of-concept out of balsa wood, he filed for and received a patent. He was unable to market his design to either the shipping or aircraft industries models, so he approached the English government and sold them on the idea of the hovercraft’s military applications. The government took on the project but classified it, which limited Cockerell’s ability to publicly receive any funding for his invention. After several years, the government developed the first full-scale prototype hovercraft on June 11, 1959. Cockerell never saw any profit over his invention, which took him years to develop and cost him most of his savings, but he was later given an honorary doctorate and earned a knighthood from the Queen.
3.Douglas Engelbart
The Computer Mouse
In what he would call “the mother of all demos,” Engelbart demonstrated the mouse in 1968 alongside other innovations, including what would become hypertext, windows, shared screens, and even video conferencing. Though he holds more than 20 patents, he doesn’t hold one for the mouse. He developed it simply as an intuitive device to operate his computer in 1964 and never considered the full commercial applications of it. Engelbart was more concerned with the innovations of science and how computers could be used as collaborative tools else. The company he was working for, SRI, patented the computer mouse and later licensed it to Apple for approximately $40,000, none of which went into Engelbart’s pockets.
2.Harvey Ball
The Smiley
Those of us born after 1963 may not realize that somebody had to actually come up with the most famous icon in the world—a yellow circle with a simple, yet elegant, smiley face. The design took creator Harvey Ball only 10 minutes to come up with and earned him a tidy sum of $45 ($350 in 2016). He was working as a freelance artist at the time and was commissioned by State Mutual Life Assurance Company to introduce an image to raise morale. Ball’s design was made into buttons for the company and eventually went on to T-shirts, posters, and just about anything and everything else, even inspiring everyone’s favorite emoticon. The image has earned billions over the decades, but Ball only ever received that one initial check.
1.Alexey Pajutnov
Tetris
Tetris is one of the most popular video games ever made and has sold more than 70 million copies, earning several billion dollars since it was created in 1984. Unfortunately for Alexey, he was working in the former Soviet Union, a communist government that did not favor individual creations for their inventors and instead took all inventions as government property. The game was initially marketed to the West via the introduction of the very popular handheld gaming device, Game Boy, by Nintendo, and Alexey saw no profits from his creation. The Soviet government did promise to revisit the idea of providing compensation to Alexey after a period of 10 years, but the collapse of the Soviet Union made this impossible and he didn’t regain ownership of his creation until 2004, long after the Tetris craze died out—costing him countless millions of dollars.
2
Aug, 2016
Using the docking station, Amazon's drones could come down to recharge ahead of the next leg of their journey.
read the rest
Using the docking station, Amazon's drones could come down to recharge ahead of the next leg of their journey.
Lamp posts are a popular resting place for tired birds, but our feathered friends may soon find themselves with a little competition for these convenient perches. Amazon has been awarded a patent for a drone docking system that would see its flying delivery robots come down to recharge on structures like street lamps and power poles before continuing onto their final destination.
Amazon filed the patent back in November 2014, describing a multipurpose system of docking stations that can be networked with a central control point and a fleet of drones. This came almost a year after the e-commerce giant first revealed its plans to deliver items in 30 minutes by autonomous drone through a robotic courier service called Prime Air.
Drone technology has made some big strides in that time, but range is still severely limited, particularly when taking a package along for the ride. This is the problem Amazon is looking to address with its multi-use drone docking stations, which it says could be installed on tall structures like street lights, cell and radio towers, office buildings and even church steeples.
The station could play host to multiple drones at the same time, which might come down to land in the case of bad weather, to recharge ahead of the next leg of their journey, to drop off and pick up packages, or to await further instructions from a central control point. The system can be equipped with locating devices, such as pressure sensors, laser scanners and video cameras that enable the position of the drones on the platform to be identified.
"This can enable the system to ensure, for example, that a first drone drops off a package, while a seconds drone recharges and continues on," the patent application states.
What's more, the central control system can use weather data to dynamically change the drones' flight path to avoid things like strong headwinds. But if it's not the weather that is throwing the curveball, the drones can also be rerouted based on things like package weight, drone traffic or the priority of the delivery.
Of course, like all patents, there's a chance we won't see the docking system described here materialize. It does, however, offer an interesting insight into the many layers of logistical complexity involved in rolling out a drone delivery service on any kind of significant scale. It won't simply be a matter of loading a quadcopter up with a six-pack and launching it toward a hotel balcony. Rather, your delivery might change "hands" several times along the way, much like shipped items do today, albeit with no human intervention.
In any case, Prime Air is not going to be happening anytime soon. In a move that was seen as a victory by some and a disappointment by others, the Federal Aviation Administration (FAA) last month set its first nationwide rules for commercial drone flight. While these cleared the way for anyone with the appropriate piloting certificate to operate their drones for money, flying them beyond the line of sight or in populated areas is still a no-no, making Prime Air as Amazon imagines it downright impossible at the moment.
The FAA does say that it is developing more rules that will expand the possibilities for commercial operators. What exactly these will entail isn't yet clear, but what is clear is that there's going to be a bit more waiting involved.
2
Aug, 2016
Johns Hopkins and the University of Maryland were among the top patent-filing universities worldwide in 2015, according to a report published this month by the National Academy of Inventors and the Intellectual Property Owners Association.
read the rest
Johns Hopkins and the University of Maryland were among the top patent-filing universities worldwide in 2015, according to a report published this month by the National Academy of Inventors and the Intellectual Property Owners Association.
The local tech-transfer powerhouses came in at Nos. 8 and 27, respectively, the JHU being granted 143 U.S. utility patents in 2015, while the University of Maryland (the specific campus isn’t specified) was granted 65 patents.
The ranking was compiled by looking at all patents granted by the U.S. Patent and Trademark Office and counting those that listed a university as the first assignee — so individual schools are always listed.
Thus, the Regents of the University of California were listed at No. 1, with 489 patents granted, followed by MIT, Stanford, the University of Texas, China’s Tsinghua University, the California Institute of Technology, the Wisconsin Alumni Research Foundation, Hopkins, Columbia University and the University of Michigan.
2
Aug, 2016
We're just about a week away from finally getting a Galaxy Note 7 reveal, but a newly discovered Samsung patent shows that the Note 7 may not be the only thing on the horizon
read the rest
We're just about a week away from finally getting a Galaxy Note 7 reveal, but a newly discovered Samsung patent shows that the Note 7 may not be the only thing on the horizon. The patent filing is for a variety of wireless chargers, which has been a big ticket feature for Samsung phones since the Galaxy S6 landed on the scene. With the Galaxy S7 and Note 5, Samsung rolled out new versions of its wireless charger, so it's not outside the realm of possibility that we'll see yet another one to accompany the Note 7.
What's interesting about these three designs, which were discovered by Patently Mobile, is that they could potentially charge a smart watch, like Samsung's own Galaxy Gear S2, and a phone at the same time. This could possibly be done by generating an electromagnetic field both vertically and horizontally, and that has the added benefit of allowing Samsung to decrease the size of the charger so it has a smaller footprint than the current charging pad.
So, instead of just giving us a refresh on the aesthetics of its wireless charger, this new patent could be showing that increased functionality will soon be coming to Samsung's chargers. Keep in mind that finding a patent filing doesn't automatically mean that a new product is coming, as companies will often file patents for devices that never end up being released. Still, if Samsung were to release a new wireless charger, one would hope it wouldn't just be another take on the charging pad.
In any case, we'll hopefully be seeing what Samsung has planned in terms of accessories during its event on August 2. We already know that the Note 7 will be the star of the show, but if Samsung has a new wireless charger up its sleeve, that would be an excellent time to reveal it. Stay tuned.
2
Aug, 2016
Google is known for pursuing ambitious projects it typically dubs as "moonshots."
read the rest
Google is known for pursuing ambitious projects it typically dubs as "moonshots."
From self-driving cars to drone delivery, the tech giant always seems to have a futuristic project in the works. So we decided to dig through a bunch of the company's patent filings to see what big ideas the company may pursue next.
Now, it's always important to take patents with a grain of salt. Many times a company will file a patent for a device that will never see the light of day.
However, we stumbled across some pretty wacky patents that we just had to share.
Some are cool, some are creepy, but they are all pretty zany. Take a look:
There's a patent for a smart, and somewhat creepy, teddy bear.
The bear comes with speakers, cameras, and microphones so it can listen to your conversations and watch your movements. Presumably, this would be used to watch little kids from afar as a parent, but Google hasn't discussed the intention behind the patent filed in 2012.
And one for a procedure that could give people bionic eyes.
Google filed a patent in 2014 for a device that could correct vision without needing to use contacts or glasses everyday. The person would have to undergo a surgical procedure that would allow a doctor to insert an "intra-ocular device" to the lens capsule for it to work though.
On that note, there's another contact lens patent — this one would run on solar power.
The solar-powered contact lenses would collect health data like glucose levels and internal body temperature. The lenses could even come with special capabilities like the ability to read information in bar codes. The patent was filed in 2012.
If this patent comes to fruition, a smartwatch could test your blood without using needles.
Like the solar-powered contact lenses, the smartwatch could provide diabetics with a better way to monitor their glucose levels. When going to draw blood, the watch would send a surge of gas into a chamber that has a microparticle that would then puncture the skin, draw blood, and suck it into a barrel for testing.
The patent was filed in 2014.
Stepping away from health-related patents, Google also some interesting ones for package delivery — like a drone and robot delivery team.
Many know about Google's Project Wing, a delivery service where a drone would lower packages to the ground. A patent filed in 2014 added another element to that service, outlining how the drone would lower packages to a robot on wheels that would shuttle it to safe holding locations.
Google filed a patent in 2011 for augmented reality glasses.
The patent outlines as a system where glasses could project a keyboard onto the wearer's hand. A camera attached to the glasses would detect the keys pressed by the user. But it's worth noting Google has backed mysterious, augmented reality firm Magic Leap, so any patents relating to AR could be fairly obsolete if all goes well on that front.
Another patent filed in 2012 gives tattoos a high-tech purpose.
The patent describes a tattoo would embed a microphone and lie detector into your neck! The tattoo could pair with your phone wirelessly, allowing you to talk without putting the phone to your mouth. A more creepy use case outlined in the patent is having it detect skin resistance in users to tell if they're lying.
But perhaps one of the funnier patents is this portable fan that will make sure you don't bump into friends if you're smelly. Literally.
The patent filed in 2012 outlines a portable fan that would attach to your body and spray fragrance when it detects you're exerting yourself to cover up body odor.
Better yet, it will make sure no one you know is aware of your body odor by connecting to your contacts to see where your friends are. It will then provide routes to take if you're fairly smelly on the streets, say after the gym, that will avoid any run-ins with people you know.
Not all Google patents are for hardware, this one filed in 2010 will transform your conversations into a comic strip.
The patent outlines software would let you insert plain text or upload conversations and have them get transformed into comic strips, with the purpose of these strips getting shared on social networking websites like Facebook.
A patent filed in 2011 wants to make your next hike more high-tech.
The patent outlines a walking stick equipped with imaging sensors and one or more cameras that would take pictures as you walk to create a visual simulation of the area.
A patent filed under Nest, a division that makes smart devices run by Google's parent company Alphabet, outlines an ultra high-tech smart crib for your baby.
The patent outlines a crib embedded with sensors so it can monitor your baby's movements and keep tabs on environmental factors to make sure the baby is safe. For example, you could program the sensor to send an alert to your phone if the room gets too hot or too cold.
The crib could also detect what's going on with your baby and attempt to respond to the issue. So, if your baby starts crying, the crib could activate an attached entertainment device to display LED cartoon animals on the ceiling to calm the baby down.
There's a patent for technology that will stick you to the hood of a car like fly paper.
Google wants to make collisions safer with self-driving cars.
This patent filed in 2014 outlines putting an adhesive layer on the hood of a driverless car that would be covered by something that isn't sticky. In the event you hit someone, the outer layer would be removed to expose the glue, sticking the person to the front of the car.
And your bathroom could monitor how healthy your heart is if Google follows through with this patent.
A patent filed January 2015 outlines embedding sensors into different parts of the bathroom, like the toilet seat and bath mat, to measure how healthy your heart is. For example, the sensors in the bath mat could record your heart beat by measuring your body's electrical behavior.
2
Aug, 2016
You'll known these people from their work on stage and screen - but you might surprised to learn that they also all had (or have) a sideline as an inventor.
As for whether their inventions are any good - we'll leave that for you to judge.
read the rest
You'll known these people from their work on stage and screen - but you might surprised to learn that they also all had (or have) a sideline as an inventor.
As for whether their inventions are any good - we'll leave that for you to judge.
1. Marlon Brando
Best remembered for his roles in films including the Godfather, Apolcalpse Now and A Streetcar Named Desire, few know that Brando was also a keen percussionist, specialising in the conga drum.
He also created a device, patented in 2002, to simplify the tuning process for his conga. His invention (US Patent No. 6812392 B2) is described as a “simple and inexpensive drum tuning device that is also accurate and reliable and not subject to inadvertent adjustments”.
2. Prince
Prince wasn’t just a hugely inventive musician – he was also an accomplished designer, filing a patent for this characteristically outlandish keytar in 1992. The finished result was played onstage by the New Power Generation’s Tommy Barbarella.
3. Neil Young
Folk rock legend Young is a huge train enthusiast. He’s co-owner of US firm Lionel, which designs and imports model trains, and he’s filed patents for numerous modal train-related inventions, including a horn control system featuring a sound generation which generates different sounds based on “the speed of the vehicle and an operator initiated horn signal”.
4. Jamie Lee Curtis
In 1986 the star invented and patented a new type of ‘infant garment’ – essentially a nappy with a built-in waterproof compartment for storing baby wipes.
5. Michael Jackson
Remember when MJ did that leaning-over-really-far thing in the video for Smooth Criminal?
It turns out he didn’t just have exceptionally strong ankles – he invented his own ‘anti-gravity’ shoes. The patent describes the invention as featuring a “moveable hitch or post to which the specialized footwear can be detachably engaged to allow the footwear wearer to lean forward on the stage, with his or her center of gravity well beyond the front of the shoes, thereby creating the desired visual effect.”
6. Steve McQueen
The star of Bullitt was a well-known petrol-head – and in 1969 designed his own bucket seat for more comfortable and stylish motoring.
7. Francis Ford Coppola
Much admired for his work as a film director, Coppola is less feted for his innovative clothes design efforts
In 2005 he filed a patent for a tshirt featuring a picture of a turtle divided into a numbered grid. The idea is that, while wearing the shirt, you use the numbers to help direct a volunteer to scratch your back in the right place.
8. Harry Connick Jr
Some years ago the crooner came up with a system designed to do away with old-fashioned sheet music for his big band, replacing the old paper scores with an electronic alternative.
''Oh man, it's made my life easier,'' Mr. Connick told the New York Times in a 2002 interview. ''Before, I would write out a song by hand and give it to a couple of guys in the band who are copyists and they would figure out the instrumental sections. It could take days. Now I can write a new score in the morning and everyone has it on his computer screen in the afternoon. Imagine if a Duke Ellington or a Stravinsky had had a system like that.''
9. Uri Geller
Spoon-bender extraordinaire Geller holds the patent for a ‘telephone radiation shield’ – a case to put your mobile phone in to shield you from any radiation it might emit.
10. Hedy Lamarr
Of all the celebrity inventors on this list, Lamarr is the one who’s ingenuity has had the biggest impact on the world. The Hollywood leading lady invented a “secret communication system”, granted a patent in 1942, that has since gone on to be used in Wi-Fi, Bluetooth and GPS technology.
11. Penn Jillette
In 1999 the more vocal half of magical double act Penn and Teller filed a patent for the Jill-Jet – basically a Jacuzzi featuring jets specifically placed to stimulate women's erogenous zones.
2
Aug, 2016
知识产权(IP)企业通常源自一个新的想法或创意。有了一个可以改变市场游戏规则(Game Changer)的创意,企业家也需要资金去验证(Proof of Concept),开发模型(Prototype),与通 过基本的知识产权保护,把创新想法占为已有。这个企业成立时段,我们统称为前种子(Pre seed) 期。
read the rest
知识产权(IP)企业通常源自一个新的想法或创意。有了一个可以改变市场游戏规则(Game Changer)的创意,企业家也需要资金去验证(Proof of Concept),开发模型(Prototype),与通 过基本的知识产权保护,把创新想法占为已有。这个企业成立时段,我们统称为前种子(Pre seed) 期。
在前种子期,IP企业家创业所需要的资金来源有限,通常耒自亲友或个人多年存下来的资金。由于这时期投资风险非常高,只有关系密切的家庭成员或朋友,才肯承担如此高风险水平的投资,为他们提供资金,把想法 付诸实现。美国创业界通常称第一笔资金的来源为「3F」,即家人(Family)、朋友(Friends)或傻子(Fools)。
除了以上所述之资金来源之外, 大马IP企业在前种子期也可以依靠由大马财政部属下机构摇篮基金机构(Cradle)所提供的摇篮投资计划Cradle Investment Program(CIP), 把他们的想法 变成商业现实
CIP的目的在于协助填补国内公司迈向商业化阶段的融资缺口,提供资金给已见/未见成效的产品、促进创新的生态系统。 CIP的领域涵盖了资讯与通讯科技(ICT)公司、非资讯与通讯科技公司(如生物技术、再生能源、高科技消费及商业产品等)及其他(如半导体、生命科学及清洁新能源技术) 。
CIP包括了:
1.供企业申请的CIP Catalyst 及供大学申请的U-CIP Catalyst
2.启动计划申请之CIP500
CIP的详情如下:
1.摇篮投资催化基金CIP Catalyst及U-CIP Catalyst
+ 提供多达至15万零吉的附带条件( conditional) 补助金给拥有创新构思的个人和团队(二至五人)来验证及保护与通信技术或高增长科技行业有关的创新技术及把其技术进行模型开发。
+ 条件:主要中请人须是十八岁以上大马人
+ 提供予计划成员合理的津贴、原料、用具、设施及研究材料、原型、购买/执行可行性研究或学习、知识产权顾问及基本起稿合约、产品测试及认证、产品营销、试验室及培育器租赁。
2. 摇篮投资500基金CIP 500
+ 提供最多达至50万零吉的附带条件补助金,协助创新概念成功验证或模型开发后的IP创业公司商业化其产品和服务。
+ 条件:持有公司股权者至少有51%为大马公民,经营时间少于三年,拥有的知识产权产品或服务用于商业用途,公司已成形,只需要另外改善8%到10%的产品以满足市场和所属行业巿埸化或要求。
+ 可用于支出:产品测试与改进、定制包装、营销支出、知识产权注册经费、购买软硬体、科技购买或申请授权费用等。
在前种子期,IP企业家最有价值的资产就是他们的创意构思。因此,在与世界分享他们的新想法之前,他们应尽早利用知识产权或任何形式的法律保护他们的想法。否则再好的构思想法,都会成为任何人都可以使用的公共领域知识。尤其在互联网的世界里,好的创意想法就像野火传播。企业家对其创意失去了独有经营的权力,企业的价值就急转直下。
希望C l P摇篮基金所提供的财政援助,将成为初露头角的 IP企业家创业成功的甘露。千里之旅始于足下,任何拥有改变市埸游戏规则或新构思的IP企业家,请不要犹豫,挺身而出,充分利用各种前种子和种子资金提,把您的知识产权的梦想,化成为一个商业现实。
28
Jul, 2016
所谓的生态系统,就是生物与环境构成的统一整体,在这个整体中,生物与环境之间相互影响,并在一定时期内处于相对稳定的动态平衡状态,当然这是生物学上的意义。这个概念类比到商业中也是一样的,而今天我 们要说的是知识产权融资生态系統。
read the rest
所谓的生态系统,就是生物与环境构成的统一整体,在这个整体中,生物与环境之间相互影响,并在一定时期内处于相对稳定的动态平衡状态,当然这是生物学上的意义。这个概念类比到商业中也是一样的,而今天我 们要说的是知识产权融资生态系統。
在知识产权融資的生态系統,我們有不同融資法則,涵蓋企業不同時段的成長,其中包括企業懷孕時段之前種子期,到企業出世牙牙學語之種子期,到企業青少年時代之成長茁壯期,與致企業壯年吋期之成熟期,如果 你是家創新型企業,你必定能企業所外之不同成長階段,受惠於不同融資策略。Facebook,Amazon,Alibaba 等知识产权型企业都曾经跨越這五大谐段,並成功过关斩將,成为手屈一指的世界级企业。
在知识产权融資的生态系統,我們有不同融資法則,涵蓋企業不同時段的成長,其中包括企業懷孕時段之前種子期,到企業出世牙牙學語之種子期,到企業青少年時代之成長茁壯期,與致企業壯年吋期之成熟期,如果 你是家創新型企業,你必定能企業所外之不同成長階段,受惠於不同融資策略。谷歌,阿里巴巴 等知识产权型企业都曾经跨越這五大谐段,並成功过关斩將,成为手屈一指的世界级企业。
在知识产权融資的生态系統,我們有不同融資法則,涵蓋企業不同時段的成長,其中包括企業懷孕時段之前種子期,到企業出世牙牙學語之種子期,到企業青少年時代之成長茁壯期,與致企業壯年吋期之成熟期,如果 你是家創新型企業,你必定能企業所外之不同成長階段,受惠於不同融資策略。谷歌,阿里巴巴,苹菓 等知识产权型企业都曾经跨越這五大谐段成为手屈一指的世界级企知识产权(IP)企业在前种子期,需要资金构 思,研究,开发,应证其创意性构思,进而把其构思在转化成样本 (working prototype),及保障基本的知识产权。在此階段,IP企业在此階段,前种子期IP企业主要是依靠家人,朋友及由政府主導的摇 籃(cradle fund)基金的资助,维持生计。
如果能夠排除万難,成功应证及样本化其知识产权,IP企业將进入种子階段。在种子时期,IP企业更需要更多资金把样本提昇成可供商业化的产品及服务,与及应付产品服务商业化时打开新市場所需的各种开支。统 计顯示,新产品商业化/市場化的开锁,往往大于新产品研发的投入(保守估计前者大于后者最少五倍。许多新知识产权,新创意,新概念胎死腹中,都是因为IP企业面对基金青黄不接的问题。知识产权研发与商业化 之间的巨大融资鸿溝,一般被稱为企业死亡之谷(Valley of Death),新的科研成果如果不能跨越这条沟谷,就无法走向市场,转化为生产力。知识产权与产业对接不畅,是国家迈向创新型经济体的主要障碍 。我国知识产 权成果商业化率仅为10%左右,远低于发达国家40%的水平。在种子时期,lP企业需要借助大量的政府輔助金,天使投资人资金或通过众筹的渠通,筹足资糧,跨越死亡之谷。
能成功跨越死亡之谷,IP企业就迈入成长期及市埸扩大期。新創意产品服务开始被市場所認可与接受。然而,競爭对手也开始湧現。在這階段,IP企业迫切需要资金扩大市佔有 率,开拓海外市場,从而加强知识产权 保护力度,通过知识产权如商标,专利,工业设计,版权保扩,设立合法进入障礙,確保競爭优勢。在成长市場扩大期,IP企业也可通过一般银行贷款,或者通过知识产权抵押獲取商业贷款,及风險創投基金耒募集基金 ,把企业做大 做强。
在成熟期,lP 企业有更多选擇,以更底的成本,进行企业融资。在這时期,融资的渠道包括了知识产权并購及買賣,知识产权证券化,上市筹资等。然而,在坐享知识产权开花结果,赚取豐硕回報之同时,也应把盈利 投资研发企业下一波的创新,或策略性的收購他人知识产权,以創造下一个企业高峰。世界领先企业如 Google,Apple, Samsung,都设定目标,把年营业额的百份之三到五,重新投入研究开发活動,也把 其成果保护为知识产权,为企业未耒舖路。
在接下耒的文章, 我会深入探讨lP企业不同階段的不同融资策略。
14
Jul, 2016
继日本东京、香港之后,又一座迪士尼乐园落户中国上海。据报道,上海迪士尼度假区将于2016年6月16日正式开门迎客。
read the rest
继日本东京、香港之后,又一座迪士尼乐园落户中国上海。据报道,上海迪士尼度假区将于2016年6月16日正式开门迎客。
正当迪士尼公司正如火如焚在筹建上海廸士尼乐园之时,突然传出有人在中国万达集团修建的新的主题公园和娱乐中心内看到演员装扮成白雪公主和美国队长的形象。迪土尼公司是白雪公主和美国队 长知识产权拥有人。
迪士尼公司表示准备采取行动保护其知识产权。针对模仿迪士尼人物这一事件,万达集团发表声明表示,这是在万达城里的个体商家士士所为。对于迪士尼公司准备保护知识产权的举动,万达不予置评。
如此看耒,廸士尼乐园进军中国的第一場戰爭,將会是知识产权之戰,而对手是中国首富王建林控制的万达集团。兩雄較逐中国遊乐园大市場,鹿死谁手,尚待分解。然而本文焦点在于迪士尼商业帝国的 王牌:知识产权。
提到迪士尼公司,我们会联想到米老鼠系列动画、迪士尼电影、迪士尼乐园……。迪士尼公司一路走耒,通过动画和电影开拓无窮创意,並以知识产权为核心,建立起庞大的娱乐帝国,支撑起廸士尼公司影 视娱乐、传媒网络、主题公园、消费产品四个主要业务部门。从动画、电影、书籍、电子游戏等版权创作到影视电台等聚合,从知识产权权衍生产品的开到销售纲络,从教育到旅游,迪士尼可谓是滲透了制 造业、服务业产业链的每一个环节,影响人们日常生活的方方面面,同时也陪伴全球几代兒童的成长。
迪士尼有哪些知识产权?单以米老鼠为例,就有米老鼠形象的版权、米老鼠演绎作品(漫画、音乐电影等)的版权、电影配乐的版权、米老鼠的商标、米老鼠衍生产品的外观设计等不同形式的知识产权。在 多国,迪士尼在米老鼠形象上申请了45全类的商标注册,拥有有效注册商标近千件。除了米老鼠外,廸士尼拥有超过5000多个角色的知识产权。而在迪士尼乐园,其自主设计、建造、生产的娱乐设施 也在机械、电子、光学等领域获得超过一百项专利。
迪士尼如何运营化(monetise)這些知识产权? 迪士尼帝国的终极武器在于其以品牌版权为核心,不断开发新的商业模式,並授权其商业模式与知识产权到各行各业,把生意拓展全球170多个国 家市場。
在每推出一部新作品之前,迪士尼都会调动产业链条上所有的环节进行宣传与包装,把原创内容知识产权保护好,再运作进每一个环节,实现利益最大化。对于迪士尼来说,成功的作品只是起点,通过知 识产权运营,把创意内容延伸到不同行业,让创新成果源源不断地产生经济价值,是迪士尼王国得以长盛不衰的根本原因所在。 多年耒,廸士尼公司白雪公主、小熊维尼等众多动画形象特许经营扫清了 财路。迪士尼在全球发展了超过4000个拥有特许经营权的商家,产品包罗万象,包括玩具、文具、食品、保健品及出版物等。
在主题公园经营方面,迪士尼更是显示出了知识产权运营的高超手段。每年为迪士尼增加营收过百亿美元,成为迪士尼最重要的营收与利润支柱之一。这5000多个角色大大丰富了迪士尼的内容库,随 时有可能浮出水面,成为迪士尼一个赚钱工具。
有文化创意的地方,就有迪士尼的影子。迪士尼对其原创作品的知识产权保护及运营策略,值得每位知识产权企业家学习。企业在借鉴迪士尼成功经验时,不仅要看懂其为保护原创知识产权所做的各种 努力,还要学习如将知识产权渗透到商业活动的方方面面,通过知识产权对外开展合作,借力打力让自己的产品走得更远。
9
June, 2016
瑞典的家具龙头老大IKEA公司,在2015年底被印尼最高法院(Mahkamah Agung)判决失去在印尼的部份IKEA商标,引起业界密切关注。
read the rest
瑞典的家具龙头老大IKEA公司,在2015年底被印尼最高法院(Mahkamah Agung)判决失去在印尼的部份IKEA商标,引起业界密切关注。
IKEA公司于2006年及2010年,两度向印尼商标局于商标类别20与21申请并成功注册其IKEA商标。
印尼泗水(Surabaya)的一家藤制家具业者PT Ratania Khatulistiwa (Ratania)在2013年12月向印尼商标局在商标类别20与21提出IKEA(为Intan Khatulistiwa Esa Abadi缩写)商标。但遭到印尼商标局提出异议,原因为IKEA公司lKEA 2006年与2010年商标已注册在先。
印尼商标法规定,若以商业目的进行注册的商标,只要长达三年没有使用商标,该商标权将可被撤消。
而IKEA直到2014年年底,才由在印尼拥有其专营权的英雄超市 (Hero)于雅加达近郊设立IKEA商场。
Ratania在2014年年中,当IKEA正在进行建造工程时,向雅加达的商事法院,主动提出这起商标诉讼, 以IKEA 2006年及2010年商标三年没有在印尼使用为由,要求撤消IKEA 2006年及2010年注册商标。
为了打赢这场官师,Ratania于2013年尾在印尼五大城市包括雅加达,泗水,万隆,棉南等城市140间家具店进行市场调查,证明IKEA公司超过三年在印尼没有在IKEA商标所注册的类别,即 商标类别20(家具类产品)与共别21(家用容器类产品) 使用IKEA商标。
2014年9月,法院判决Ratania胜诉,法院基于IKEA在2006年及2010年所注册的IKEA商标,已超过三年没有在印尼使用,宣判该IKEA 2006年及2010年商标无效。因此,IKEA于 2015年向印尼最高法院提出上诉。最高法院不同意IKEA公司对Ratania所提的上诉请求,再次判定IKEA2006年及2010年商标无效。
幸好,lKEA公司在2012年3月似乎有先见之明的在类别20与21另外向印尼商标局申请IKEA商标,并在2014年底,即商标申请3年内在印尼使用此商标,这2012年IKEA商标成了IKEA公 司在印尼的护身符。
因此,打算进入东南亚投资的外国企业必须提起十二分精神,谨慎管理,长期使用及维护其商标,才能保障商标的有效性,及避免商标遭到剽窃。
商标使用是指什么?作为商标注册人,在进行商标使用时应该注意哪些问题呢?商标的使用是指以经营为目的,将商标用于商品、商品包装或者容器上;用于服务或者与服务有关的物件上;用于商品或者 服务交易文书上;或者将商标用于商品或者服务的广告宣传、展览以及其他商业活动中,足以使相关公众认其为区别该商品或者服务来源的标志的实际使用。这包括下列情形:对商标进行大规模的广告宣 传是使用该商标,如在报纸、杂志、电视、广告等各种广告媒体上进行商业宣传;根据商标法规定商标权人可以许可他人使用其注册商标,所以被许可人的使用也视为该商标的使用;完全以出口为目的,在 本国内将商标附着于商品或者其包装物、包裹物,也视为该商标在本国内的使用。
此外,商标的使用在美国也是申请商标过程中的一个程序。美国专利商标局(USPTO)会要求申请人提出「使用证明,申请人必需提出证据显示他在美国市场在相关产品或服务业中,实际有在使用该商 标的证明,方能在美国成功注册其商标。
26
May, 2016
知识型企业家在以下的情况有需要对其知识产权(IP)进行评估。
read the rest
知识型企业家在以下的情况有需要对其知识产权(IP)进行评估。
⑴ IP 交易:要买卖某IP,交易双方就必须找出其合理价位,方能完成交易;
⑵IP资产参股:欲投资某IP,投资方就得鉴定其价格,方能进行投资;
⑶IP质押贷款:想利用IP质押贷款,银行须对其IP进行定价,方能批准贷款;
⑷IP诉讼:展开IP法律诉讼而要确定赔偿金数额时,就得对其IP估价。
此外,在吸引风险投资,资产重组、企业合并、破产清算、遗产分割、IP企业也需要进行知识产权评估。
知识产权价值评估之方法
依据国际惯例,用于评估IP资产的主流方法有⒧收益法 ⑵ 市场法⑶收益法
(一) 收益法(Income approach)
所谓收益法,主要就是要找出一项财产在未来带给其所有者的经济利益的现值。它只适用于直接产生收益的IP资产,并从该IP资产所赚取的IP权力金现金流,折算到目前的价格。在折算之过程,比须 考虑市埸,风险,IP有效期等 客观因素。因此,要使用收益法来衡量一项 IP,我们必须对其未来的现金流状况,市埸增长率,风险等不确定因索作出许多假设。收益法最适用于成熟及有稳定权力金现金流之IP资产。
(二) 市场价值法 ( Market Approach)
市场价值法是以现行场价格作为价格标准依据,通过市场调查,选择几个和被评估IP资产相同或相似的已交易同类IP资产作为参照物,将被评估资产和它们进行差异比较,再进行适当的价格调整。市 场法只有在有类似的IP资产 交易市场或资讯时才适用。
(三) 成本法 ( Cost Approach)
成本法是以重新建造或购置和被评估IP资产具有相同用途和功效的IP资产现时需要的成本作为计价标准。简而言之,成本法就是为创造财产而实际发生的费用的总和(研发成本、开发成本和法律成本 )。成本法最主要用于尚未有 现金流的早期IP资产。
在2013 11月6日至7日假吉隆坡举办的全球知识产权估价会议( GIPVC ),马来西亚知识产权局(MYIPO)推出了马来西亚知识产权估值模型( “ MIPVM ” ) 。 MIPVM的主要目标 是为大马金融业界提供适用于 IP抵押融资的IP资产评估方法。在以上所述的三种评估方案中,MIPVM会优先考虑收益法。其他评估方法可被用来交叉参考,以便提供更为可靠的IP资产价值。此外,MIPVM也将依循国际财务报 告准则(IFRS) ,国际评估 准则( IVS )和国际标准化组织( ISO )。
MIPVM的推出,标志着大马知识产权发展史一个重要的里程碑。这也意味着在大马,IP金钱化已经不是 遥不可及的梦想,而是可登大雅之堂的经济现实。
然而,评估知识产权价值不简单。知识产权价值评估困难之处,主要表现在以下几个方面:
一是知识产权价值的不确定性。这主要表现在:知识产权的不稳定性。以专利为例,尽管专利权人已经获得了专利权证书,但因专利本身的特殊性仍存在被无效的可能性。这就使得专利权的价值与其他财 产的价值相比具有较大的不确 定性。同时,知识产权的价值受多种不确定因素的影响。这些都给知识产权的价值评估带来了新的挑战。
二是知识产权价值评估规范和方法不健全。知识产权价值评估难是一项世界性的难题。虽然我国已经出台了MIPVM,但由于缺乏实施细则以及量化标准,很难应对实践中复杂多变的知识产权价值评估 问题,由此导致实践进展缓慢。
知识产权评估牵扯到法律、金融、财务和投资等各方面的内容,评估过程好就是将价值的经济学理念和财产的法律概念融合在一起。因此知识产权资产评估是一种科学,也是一门艺术。
12
May, 2016
跟据一项对美国五百强企业所进行调查显示,知识产权对企业的比重,已从1975年的百份之二十五增加到2010年的百份之八十五。在知识型经济里,知识产权是企业非常重要的资产。
read the rest
跟据一项对美国五百强企业所进行调查显示,知识产权对企业的比重,已从1975年的百份之二十五增加到2010年的百份之八十五。在知识型经济里,知识产权是企业非常重要的资产。因此,应如何评估知识产权的 价格,深受许 多知识产权企业家所关注。
世界上许多实力最强的企业都把知识产权作为最重要的资产,因为这是世界顶级公司占领市场、保持盈利的基础。这也通常是并购的关键目标,精明的知识型企业也越来越多地将知识产权转移到低税收的国度,通过知 识产权许可金 管理(IP Royalty Planning),合法节税。
尽管如此,企业对知识产权的作用的认识还是远远不足。一般公司的会计基准往往忽略知识产权的真实价值,没有把知识产权的价值充份反映在公司财务报表上,知识产权和无形资产的价值也经常被低估。此外,企业 对知识产权的 管理不够完善,知识产权在公司财务上的利用也不充分。
近五年,几宗影响重大的专利交易,引发了人们对知识产权估计的兴趣与想像。
2011年7月,苹果公司(Apple)、微软(Microsoft)、黑莓(RIM)、易安信(EMC)、爱立信(Ericsson)、索尼(Sony)六家公司组团花费45亿美元购买北电公司(Nortel )的6,000件 专利,每件专利 平均价格为75万美元,震惊了业界。
2011年8月,谷歌公司(Google)决定花费125亿美元收购摩托罗拉(Motorola)。交易的战略重点在于摩托罗拉拥有的17,000个授权专利和7,500件申请。这笔125亿美元的交易中,根据谷歌自 己的估计,涉及 专利的大约在25到35亿美元。因此,这笔交易中专利(包括专利申请)的平均价格约为14万美元。
2012年4月,微软宣布花费约10.6亿美元购买美国在线(AOL)的约800件专利和相关申请。本次交易中的专利平均价格高达130万美元。
2012年7月,英特尔公司(Intel)花费3.75亿美元购买交互数字公司(InterDigital)的1,700件专利。本次交易的平均价格为22万美元。
根据美国IPOfferings报告的统计,2012年专利交易平均值为366,811美元,中值为211,212美元;2013年专利交易平均值为228,306美元,中值为170,000美元;2014年专利交易平均值 为251,007 美元,中值为123,144美元。
通过以上的数据,我们可以确定:知识产权有价。企业可以利用知识产权增加公司价值,例如:直接出售某项知识资产,或用知识产权创办合资企业,或签定使用许可协议。因此,企业管理层有必要了解知识产权的价值 及风险,就象他 们了解有形资产的潜在价值一样。企业的管理层更应该了解自己所管理及掌控的所有知识产权的价值和权力,以确保能够保存那些价值。
知识产权评估是知识产权进入市场的必经之路。但是对于不同环境、不同企业背景,面对不同类型的知识产权进行价值评估时,所采取的方法和所需要注意的要点却是异曲同工的。在下一篇文章,笔者将进一步分享知 识产权估计的 方法与评估时所面对的一些问题。
14
Apr, 2016
侵犯版权行为:任何未经版权拥有人的许可,以营利为目的抄袭,发表、出版、复制、表演、播放、展览、发行、摄制电影、电视、录像或者改编、翻译、注释、编辑等方式使用其作品;或者在未经作者的允许 下歪曲、篡改他人作品,或在 没有参加创作,为谋取个人名利,在他人作品上署名。
read the rest
侵犯版权行为:任何未经版权拥有人的许可,以营利为目的抄袭,发表、出版、复制、表演、播放、展览、发行、摄制电影、电视、录像或者改编、翻译、注释、编辑等方式使用其作品;或者在未经作者的允许 下歪曲、篡改他人作品,或在 没有参加创作,为谋取个人名利,在他人作品上署名。
侵犯版权者,应根据情况,承担停止侵害、消除影响、公开道歉、赔偿损失等民事责任,此外侵犯版权也是一种刑事行为,侵犯者会被贸消部控上法庭,若罪名成立,可罚款每项翻版作品高达 RM10,000或判坐监10年。
但是,在特定条件下,法律允许他人自由使用享有版权的作品而不必征得版权持有人的同意,也无需支付报酬,这对版权的限制,目的是为了社会公共利益的需要,防止版权持有人对作品的垄断。
这些特定条件包括为个人学习、研究、评论他人已经发表的作品或适当引用他人已发表的作品,为报导时事新闻在报章、期刊、广播、电视节目中引用已经发表的作品等合理使用(FAIR DEALING ) 行为;为学校课堂教学或 者科学研究翻译或复制已经发表的作品;国家机关为执行公务使用已经发表的作品;为了存档而制作电脑软件备份复制品(BACKUP COPY) ;报纸、期刊、广播电台、电视台刊登或者播放其他报纸 、期刊、广播电台、电视台已经 发表的社论、评论员文章或刊登播放在公众集会上发表的讲话(但作者声明不可刊登播放的除外。此外,在以上特定条件使用作品时,使用者应适当的指明作品的出处,作品名称,作者姓名 (ACKNOWLEDGEMENT),及不得侵犯 版权持有人的其他权力。
随着移动互联网的发展,手机已成为人们获取信息和休闲娱乐的必需品,各种手机APP应用层出不穷,也有越来越多APP平台以信息聚合的姿态出现。相对于开发平台和技术,APP能够提供给用户的 内容却变成稀有资源,也造成 有许多APP平台公然将他人的版权据为己有,非法侵犯他人版权。
版权案例:美食APP擅播《舌尖上的中国》
中国知识产权法院的一项判决给了这些新兴的网络公司和APP开发团队一个警示。
《舌尖上的中国》系列是中央电视台纪录片频道拍摄的讲述国人美食和与美食相关的生活方式的纪录片,央视国际网络有限公司(以下简称央视国际)获得其信息网络传播权的独家授权。
豆果网是一家集发现、分享、交流美食为一体的互动平台,在2013年,《舌尖上的中国》第一季开播后,豆果网就推出了一款同名APP,这款APP在10天内收获了100万的下载量。在网站方面,《舌尖 上的中国》活动专题页面累计 流量也已经超过1000万。在豆果网中,用户也大量模仿制作了《舌尖上的中国》中播出的菜谱,提交作品数已经近万。
2014年6月,央视国际公司发现,这款由豆果网开发的“舌尖上的中国”同名手机APP中,豆果网通过信息网络向公众提供中央电视台出品的电视系列节目《舌尖》的在线播放服务。央视国际公司认为 ,豆果网未经许可通过信息网 络擅播《舌尖》,侵害了央视国际公司的独占性信息网络传播权,给自己造成重大经济损失故起诉至法院.。
中国知识产权法院认定豆果网侵权成立,判决其立即停止通过手机APP“舌尖上的中国2”提供电视节目《舌尖上的中国(第二季)》的在线播放服务,连带赔偿央视国际经济损失及堂费。
31
Mar, 2016
在数字网络时代,版权的经济效应比以往更为显着。举例来说,周星驰拍摄的电影:美人鱼,在传统环境下,其收入从票房到音像制品再到电视播出、版权输出 逐步递减,此流程走完,商业价值接近枯竭。但随着互联网的兴起,类似美 人鱼电影,这些经典作品再度焕发生机,视频网站、分享网站使它们不再受流行与否的影响,长时间存在于网络,被消费者随时点播。此外,网络版权传播者、使用者对版权的个性化、碎片化需求也使得版 权资产的获益方式更加多元, 大大拉长了版权资产的“价值尾巴”。
read the rest
在数字网络时代,版权的经济效应比以往更为显着。举例来说,周星驰拍摄的电影:美人鱼,在传统环境下,其收入从票房到音像制品再到电视播出、版权输出逐步递减,此流程走完,商业价值接近枯竭。 但随着互联网的兴起,类似美 人鱼电影,这些经典作品再度焕发生机,视频网站、分享网站使它们不再受流行与否的影响,长时间存在于网络,被消费者随时点播。此外,网络版权传播者、使用者对版权的个性化、碎片化需求也使得版 权资产的获益方式更加多元, 大大拉长了版权资产的“价值尾巴”。
版权持有人享有什么权力?又如何运营(monetise) 化版权作品?
版权是一项无形的资产权,版权持有人享有以下的权利:
(一)发表权──即决定作品是否公诸于世的权利;
(1) 署名权──即表明作者身份,在作品上署名的权利;
(2) 修改权──即修改或者授权他人修改作品的权利;
(3) 保护作品完整权──即保护作品不受歪曲,篡改的权利;
(4) 获得报酬权
(二)使用权和获得报酬权──即以复制、表演、播放、展览、发行、摄制电影、电视、录像或者改编、翻译、注释、编辑等方式使用作品的权利;以及允许他人以上述的方式使用作品,并由此获得报酬的权利。
出版者、表演者、录音录像者、广播电台、电视台等依法取得他人版权使用权的,不得侵犯作者的署名权、修改权、保护作品完整权与获得报酬权。
任何人欲使用他人受版权保护的作品,应当向版权拥有人订立合同或者取得许可。
版权许可使用合同的主要条款有:
(一) 许可使用作品的方式;
(二) 许可使用的权利是专有使用权 (EXCLUSIVE) 或者非专有使用权 (NON-EXCLUSIVE) ;
(三) 许可使用的范围、时间;
(四) 付酬的标准和计算法;
(五) 违约责任;
(六) 双方认为需要约定的其他内容。
在数码互联纲时代,内容就是王道(content is king)。而内容的核心价值,主要靠版权保护及体现。版权的权力很广,涵盖了创意作品之复制、表演、播放、展览、发行、摄制电影、电视、录像 或者改编、翻译、注释、编辑等 活动。创意内容如如可以借助互联网数码技术的长尾巴,可以传播得更快更广,版权之价值也可不断扩大和深化。因此,创意工作者应与时并进,把创意内容之数码化及纲络化,拉长版权资产的“价值尾 巴,创造财富。
17
Mar, 2016
凡是符合版权條件的作品,在法律上不须注册就自動受版权保护,只要在作品上注明版权通知(copyright notice)即可。版权通知的形式如下:Copyright 公司名2016。
read the rest
凡是符合版权條件的作品,在法律上不须注册就自動受版权保护,只要在作品上注明版权通知(copyright notice)即可。版权通知的形式如下:Copyright 公司名2016。
然而,为了向外界证明版权之拥有权,版权拥有人必要把版权产生的细节如作品生产日期、作者个人资料及作者与版权拥有人关系等,以宣誓書方式清楚列明。
一些国家的知识产权局如美国、中国、马来西亞也设立了版权登记制度,通过统一的版权庫,更有効的管理版权拥有权認证。版权登记有如下好处:
1、为维护作者或其他版权人和作品使用者的合法权益,有助于解决因版权归属造成的版权纠纷,并为解决版
权纠纷提供初步证据;
2、有利于作品、软件的许可、转让,有利于作品、软件的传播和经济价值的实现;
3、版权登记也是一种企业自我价值的体现,企业创新实力的表现。
版权案例:迪土尼公司米老鼠传奇
“迪士尼公司”(Disney),是一家總部位於美國加利福尼亞州洛杉磯的多元化跨國傳媒公司。迪士尼公司成立於1923年,在進行真人電影、主題公園及廣播電視等多元化發展之前,成功通过米老鼠 卡通版权,確立了其在美國動 畫電影行業里的領導者地位。
1928 年5月26日,美国人 WALTERE. DISNEY 在美国著作权登记司办理了“MICKEY MOUSE IN PLANE CRAZY”之非影像类电影作品的著作权登记,1930 年 2 月 7 日办理了“MICKEY MOUSE”(连环漫画)的著作权登记,1930 年 8 月11日办理了“PLANE CRAZY”之米老鼠声音卡通作品的著作权登记,1930 年 12 月16 日办理了“STEAMBOAT WILLIE”著作权登记。上述四著作权 分别于 1956 年3月14日、1957 年9月23日、1957 年12月16日和 1955 年 12 月22 日办理了续期注册。WALTERE. DISNEY 随后将其著作权转让给了廸士尼公司。
廸士尼公司在上述卡通图片的基础上,对“米老鼠”形象进行了改编。1999 年 4 月 8 日,原告就改编后的卡通形象,向美国著作权登记司办理了“米老鼠作品-米老鼠”(MICKEY MOUSE WORKS -MICKEY MOUSE)的著作权登记。登记注册的米老鼠作品表现为多只不同形态、不同表情的卡通小老鼠。
迪士尼公司再把米老鼠“角色商品化”(character merchandisation), 创造商业传奇。首先是在卡通作品里创作出了米老鼠角色,可以说在世界范围内家喻户晓。二十世纪五十年代 ,迪士尼开始利用米老鼠卡通 角色进行商业化开发,打造了覆盖影视、出版、演出、游乐园、形象授权和卡通衍生产品的庞大娱乐帝国,虚拟角色商品化被发挥得淋漓尽致。米老鼠角色被授权到服装、食品、饮料、手机、照相机等几乎 所有大众商品上使用。获取了 数以亿美元计的年利润。米老鼠等卡通形象在进行商业化利用的过程中,迪士尼都会将米老鼠卡通图案申请著作权要市場登记,以证明其对米老鼠卡通形象享有著作权。
3
Mar, 2016
我们都非常熟悉的「生日快快乐歌」,最近因不附合版权条件,被美国联邦法庭宣判版权无效。「生日快乐歌」的原作者是希尔姐弟(Patty Smith Hill & Mildred J. Hill),原本名 为「大家早安」,1893年写成 这首歌,並配上简单的旋律;随后希尔家族將這首歌放在「幼稚园的歌曲故事」,並把该书版权转让给桑米公司。随后华纳音乐从桑米公司的后继者买下这本书的版权,並且向使用者收费;一般估计,华纳 音乐每年可以从「生日快乐歌」 收取约上千
美元的使用费。
read the rest
我们都非常熟悉的「生日快快乐歌」,最近因不附合版权条件,被美国联邦法庭宣判版权无效。「生日快乐歌」的原作者是希尔姐弟(Patty Smith Hill & Mildred J. Hill),原本名 为「大家早安」,1893年写成 这首歌,並配上简单的旋律;随后希尔家族將這首歌放在「幼稚园的歌曲故事」,並把该书版权转让给桑米公司。随后华纳音乐从桑米公司的后继者买下这本书的版权,並且向使用者收费;一般估计,华纳 音乐每年可以从「生日快乐歌」 收取约上千
美元的使用费。
直到如今,只要在舞台表演、电视剧、电影或是贺卡中使用「生日快乐歌」,都还得付费给华纳音乐。
过,美国洛杉矶联邦法院在2015年12月22日判定,基于桑米公司从原作者转让版权时出现差错,从來就沒有拥有「生日快乐歌」歌词的版权,因此华纳音乐并沒有拥有「生日快乐歌」歌词的版权;再加 上生日快乐版权也已超越保护 期限,该歌版权被判无効。也就是说,经过了80年,「生日快乐歌」正式成为免费歌曲。這也意味我们在餐厅里为亲朋戚友庆生唱「生日快乐歌」时,再也无须担心版权费问题。
一般作品要受到版权的保护都必须具有三個条件,即 :
(1) 它必须具有原创性(ORIGINALITY)。即它必须是作者自己的作品, 完全不是或基本上不是从另一个作品抄袭而来的。
(2) 它必须有固定性 (REDUCED TO MATERIAL FORM) ,即作品能以某种物质形式固定下来。
(3) 它必须符合识別 (QUALIFICATION) 的条件,即
(a) 马来西亚或任何《保护文字和艺术作品伯尔尼公约》(BEMECONVENTION) 的成员国公民或法人的作品,不论是否发表的,將自动享有版权。
(b) 外国人的作品首先在马来西亚或《伯尔尼公约》成员国发表的也会享有版权。
(c) 外国人在《伯尔尼公约》成员国(包括马来西亚)外发表的作品,在发表后的30天內在《伯尔尼公约》国境內发表,也一样享有版权。
版权的归属
创作作品的版权属于作者,即付出脑力劳动,直接构思并创作出作品的人。确认作者的方法是,如无相反证明,在作品上署名的人为作者。
一般来说,脑力创作的文学、美术与音乐作品的版权保护期为作者终生及其死亡后50年,截止于作者死亡后第50年的12月31日。
作者身份不明或还沒有发表的文学、美术、音乐作品,其版权保护期为50年,截止于作品首次发表过第50年的12月31日。
电影、电视、录音、录像等作品,其版权保护期为50年截止于该制品首次出版后的第50年的12月31日。
广播作品的版权保护期为50年,截止于该节目首次播放后的第50年的12月31日。
从以上「生日快乐歌」的案例,我们可以意识到一项广受欢迎的作品,具有巨大的影响力及商业价值。因此,了解作品版权的保护条件与期限,是每位知识产权企业家所必须关注及掌握的学问。
18
Feb, 2016
版权是文学、艺术和科学作品作者对其作品的一种无形资产权,它与专利(PATENT),商标(TRADEMARK),工业设计(INDUSTRIAL DESIGN)并列,被归纳为知识产权 (INTELECTUAL PROPERTY RIGHTS)。
read the rest
版权是文学、艺术和科学作品作者对其作品的一种无形资产权,它与专利(PATENT),商标(TRADEMARK),工业设计(INDUSTRIAL DESIGN)并列,被归纳为知识产权 (INTELECTUAL PROPERTY RIGHTS)。
版权法律的宗旨在于保护文学、艺术和科学作品作者的著作权,以及与著作权有关的权益,鼓励有益于精神文明、物质文明建设的作品的创作和传播,促进社会的发展与繁荣。
在互联网时代,通过撰写文章、拍摄图片、摄制视频等,每个人都有可能成为作者,进而成为自媒体。 2015年是自媒体爆发式增长的一年。这一年,涌现出了一大批知名度高、影响力大的自媒体账号, 这些自媒体通过 Youtube, Whatapps,面子书,微信、微博、视频网站、贴吧、论坛等平台,创作了众多优质原创内容,不仅获得资本和市场的认可,积累了较多高粘性用户,有的还通过广告 收入、付费阅读、用户打赏等取得了可观的经济效 益。在崭新的自媒体商业模式,内容版权就是核心价值所在。因此,了解版权是每个企业家所必须关注的课题。
在马来西亚,版权法律是受1987年版权法令(COPYRIGHT ACT 1987)所管辖,任何在此法令下受承认的作品,一旦符合法令下的基本条件,不须经过注册就自动享有版权。
在版权法令下受承认作品有:
(a) 文学著作 (LITERARY WORK) 指小说、诗词、论文、讲稿、报告等以文字形式表现的作品;供戏剧、歌剧等舞台演出的作品;图表;电脑软件等;
(b) 美术作品 (ARTISTIC WORK) 指绘画、雕塑、建筑等以线条、色彩或者其他方式构成的平面或者立体造型艺术作品;也包括了摄影作品及在感光材料上记录物体形象的艺术作品;
(c) 音乐作品 (MUSICAL WORK) 指歌曲等能够演唱或者演奏的作品;
(d) 电影、电视、录像作品;指摄制在一定物质上,由一系列有伴音或者无伴音的画面组成,并且借助适当装置放映、播放的作品。
(e) 广播作品 (BROADCAST) ,指通过无线电波、有线系统的作品。
(f) 录音 (SOUND RECORDING) 作品,指任何声音的录制品。
90年代以来,由于国际互联网技术的发展,信息的传播得到快速发展,版权的保护范围和内容也不断扩大和深化。随着互联网为代表的新经济成为一个利益巨大的市场,传统的版权人希望将其对传统作 品的权利自然延伸到网络上, 开拓新商机。目前.已有不少专业与业余的作家、摄影师,歌手,音乐与音乐,录像制作人都会通过互联网Youtube, Whatapps,面子书,微信、微博、视频网站、贴吧、论坛等平台,商业化及运 营化他们之内容版权。传统的 版权商业模式如通过平面媒体来传达新闻,或DVD或VCD来传播电影则会因网络技术的便利化及客户消费方式改变而日渐式微。此外、网络上的既得利益者则希望网络上的权益能不被版权应所局限。 网络版权的纠纷也随之而起。 因此,版权企业如音乐、电影、出版公司如何适应网络经济的新现实,以内容版权为本,如何积极的开拓新兴的互联网版权商业模式,是每个版权企业家所刻不容缓的。
4
Feb, 2016
本专栏从2015年头一路走来,陆续刊出多篇有关商标专利与工业设计保护策略之文章,与知识产权企业家分享。 2016伊始,笔者希望把工业设计,商标与专利之相辅相成功能重新整合,通过知识产权多重保护策略,把工业设计,专利与商标之功能最大化。
read the rest
本专栏从2015年头一路走来,陆续刊出多篇有关商标专利与工业设计保护策略之文章,与知识产权企业家分享。 2016伊始,笔者希望把工业设计,商标与专利之相辅相成功能重新整合,通过知识产权多重保护策略,把工业设计,专利与商标之功能最大化。
相关知识产权概念的区别如下:
(一)工业设计与专利
产品形状的外观美感效果属于工业设计的保护范围、产品的结构技术效果则属于专利的保护范围。
有时,一件产品的主要功能是难以定义的。举例而言,一家企业推出新款泳衣,其剪裁俐落独特,可以凸显使用者的身材曲线,那么大家可以轻易认定这款泳衣外观具备装饰用途,应该注册工业设计。
但是,若此款泳衣除了上述的装饰性用途外,其改良纤维材质还仿照鲨鱼皮的V形皱褶,能够减低水中阻力,让游泳选手游得更快,那企业就得思考这款泳衣的技术功能重要与否,是否需要申请专利,以保护此款泳衣的技术面。
企业必须留意的是,注册工业设计只能保护产品的外观和造型,而不能保护内部结构或组装。若企业决定推出的产品,不仅在外观上有创新的改变,在技术上也重大突破,那最好的保护措施就是同时登记数个知识产权,以确保日后行销产品时,在市场上拥有绝对的垄断权。
(三)工业设计与商标
一项工业设计偶尔也可作为商标,这意味着什么?前几篇的专栏中,我们曾经提及商标的主要用途在于辨识产品。因此,若一些工业设计十分特殊,并且已经在市场上应用许久,以致消费者一眼看见就能区别产品,则这些设计就可以注册为三维商标(3D Trademark)。著名的例子就包括了知名汽水品牌可口可乐特殊的瓶身设计和瑞士三角牌巧克力(Toblerone)极具代表性的三角立体包装。
一般而言,企业无法在刚推出产品时就为其外观设计注册商标,而是必须等到消费者熟知产品,且其外观广被大众接受认可,才有资格注商标。可口可乐也不例外,在初期营业阶段只能为其瓶身注册工业设计,待消费者逐渐对其瓶身有深刻印象,才获许在各个国家注册商标。由于工业设计的保护期限最长为10至25年,因此企业若要永续经营一项产品,并长时间应用其特殊设计,最好为其注册商标,因为商标的保护期限可以无限续展,没有限制。工业设计的保护经过一段时间后就被迫失效,然而商标只要持续续展,就能延续使用。
企业必须区别产品的主要用途和清楚各种知识产权的保护范围。若毫无相关知识,极可能出现因不了解产品该注册何种知识产权,而没有及时完善保护产品,造成损失的情况。为了避免这种窘境,企业务必了解「多重保护」的重要性。
由于商标和工业设计是性质截然不同的知识产权,因此它们带给企业的商业优势也不尽相同。基于这一点,只要在法律条件许可的状况下,企业可注册和申请多种知识产权,享有多种垄断权力,并完整保护产品。

以上列钢笔为例,为了提高产品竞争力与销量,商家会绞尽脑汁研发更俱取引力的外形设计及创新功能,也会集中火力打响其牌子。更完整的保护钢笔的外形与功能创新与品牌商誉,商家可以同时保护钢笔的独特外形为工业设计,注册钢笔的创新功能为专利及保护品牌为商标。
因此,商家必须区别产品的主要用途和清楚各种知识产权的保护范围。若毫无相关知识,极可能出现因不了解产品该注册何种知识产权,而没有及时完善保护产品,造成损失的情况。为了避免这种窘境,企业务必了解知识产极多重保护策略,工业设计,商标,专利之功能最大化。
21
Jan, 2016
iPhone 7 features:Could arrive with animated 3D maps, reveals Apple patent. Published: 11 October 2015 A new patent granted to Apple by the US Patent and Trademark Office for a technology that will allow users to animate parts of a 3-D map using inputs such as touch, gesture, audio and motion indicates that the iPhone...
read the rest
iPhone 7 features:Could arrive with animated 3D maps, reveals Apple patent.
Published: 11 October 2015
A new patent granted to Apple by the US Patent and Trademark Office for a technology that will allow users to animate parts of a 3-D map using inputs such as touch, gesture, audio and motion indicates that the iPhone 7 could arrive with animated 3-D maps.
Read more on MNR Daily
The area of mobile app development is on a great rise over the past few years and is only increasing by every passing day with more updates and changes taking place more frequently than ever. With smartphones and their apps being used extensively all over the globe, there is no type, age barrier or any other aspects which matter anymore for those using the apps. Most of the businesses that have a mobile app appear to be more searchable when they are researched for using a mobile device, which proves to be extremely beneficial to the businesses.
It is important that UX be designed according to the mobile devices, where not all information is required, except the most useful ones. Let us discuss some of the essential features which can prove to be useful in order to improve an iphone app’s usability to a great extent.
The fonts which are used in the application should be easy to read, as it has been mainly noticed that mobile devices generally are hard to click and read. Therefore focusing on this aspect by choosing the right font and locating live links can prove to be extremely beneficial in reducing the eye train drastically.
It is essential that it supports integrated content with the smartphones, such as clickable phone number, links, address directly being added to phone book, etc.
Another useful feature which can be useful to the customers is mobile coupons. This aspect has not been in much use as yet and is a part which has not been tapped much. However, this feature definitely has received a lot of positive response from the customers, where they are looking forward to receiving coupons and redeeming them as well. Indian iphone app developers have required knowledge of all these features.
It is important to provide useful business information, anything which might be important. It is mostly noticed however that users generally prefer the good information (what they are looking for) in the front, so it might be useful to consider that.
Social media integration as we know is very significant these days nonetheless (various social media platforms), where you can then stay connected to your client’s through their most favorite and preferred social site.
It is essential to consider the above mentioned points as it is important to understand that various types and ages of people are going to be using these and it is hence crucial to cater to all effectively. An experienced iphone application development company from India has the iphone app developers who have the expertise knowledge what needs to be included in an iphone app to make it extremely easy for anyone to make use of it. Hire an iPhone application developer is the best solution.
Source: http://appleworld.xyz/index.php/2015/10/11/iphone-7-features-could-arrive-with-animated-3d-maps-reveals-apple-patent/
13
Oct, 2015
Lonza Biologics Tuas Pte Ltd vGenpharm International Inc [2015] SGIPOS 13 Published: 28 July 2015 The applicants applied to invalidate the proprietor’s patent (SG 905) in part. In its counter-statement, the proprietor offered to amend some of the disputed claims. It was held that the amendments ought to be allowed since these weremade in bona...
read the rest
Lonza Biologics Tuas Pte Ltd vGenpharm International Inc [2015] SGIPOS 13
Published: 28 July 2015
The applicants applied to invalidate the proprietor’s patent (SG 905) in part. In its counter-statement, the proprietor offered to amend some of the disputed claims. It was held that the amendments ought to be allowed since these weremade in bona fide attempts to narrow the issues in dispute and expedite the proceedings.
The proprietors withdrew from the hearing after filing its counter-statements and evidence. An evidential objection was raised as to whether the proprietor’s expert evidence should be considered since it did not participate in the hearing and its expert was not presented for cross-examination. It was held that the proprietor’s acquiescence and course of conduct was sufficient to amount to an acceptance of the applicant’s proposal to apply the Evidence Act to the hearing. Further, it was held that Martek Bioscences Corp v Cargill International Trading Pte Ltd [2011] 4 SLR 429; [2011] SGHC 71 established the principle that the written testamentary evidence a witness who does not appear before a tribunal and allow himself to be cross-examined ought to be excluded, unless a hearsay exception was applicable, as to keep it on record would be prejudicial to the opposing party. Rule 80(10) of the Patent Rules permitted the inclusion of this principle for IPOS hearings. However, expert evidence filed together with the proprietor’s counter-statement ought to remain on record as these formed a necessary part of the counter-statement.
The patent was challenged on two main grounds at the hearing: insufficient disclosure and lack of inventiveness. The SG 905 patent claimed a certain affinity binding strength for antibodies produced following the patented process. The applicant’s challenge on insufficient disclosure was based on two prongs. First, there is nothing in the patent specifications that showed affinity binding strength in the order of magnitude claimed. Second, assuming that the affinity binding strength in the order of magnitude could be obtained, the patent specifications did not disclose all the steps necessary in order for the reasonably skilled technician to obtain the results. A consideration of the patent specifications bore these challenges out. The example that pertained to affinity binding did not yield binding constants in the range that was claimed. Other examples in the patent specifications disclosed methods of testing for avidity binding.
The applicant relied heavily on the proprietor’s prior patent (D8) and the patent re-examination report on its ground of challenge for lack of inventiveness. The inventors of the D8 and the SG 905 were substantially the same persons. Applying the approach set out in Windsurfing International Inc. v Tabur Marine (Great Britain) Ltd. [1985] RPC 59 , it was held that the inventive concept of SG 905 was that it produced fully human antibodies with high affinity constants through the introduction of human transgenes into a mouse. Further, the D8 patent in the prior art already taught the introduction of human genetic material into a mouse in order to produce transgenic antibodies, which were known to bind with human CD4 globular antigens. Scientific journals that formed part of the prior art had also taught that the introduction of genetic materials created diversity which in turn improves the therapeutic effect of the resulting antibody. Additionally, the patent specifications for D8 and SG 905 were identical for significant parts thereby leading the applicant’s expert and the patent examiner who prepared the re-examination report to conclude that SG 905 was no more than routine analysis of the end product derived from the process taught in the D8 patent. The ground of challenge for lack of inventive step was found to have been successfully established as the affinity values that SG 905 (after its correction) reported were already claimed in the D8 patent. SG 905 appeared to only have expanded the scope of tests conducted to include both naturally occurring and recombinant CD4 human globular antigen. Finally, SG 905 taught the crossing of the KCo5 mouse (disclosed in the D8 patent) with a HC2 mouse in order to increase diversity. In view of the established prior art, this was an obvious step for a reasonably skilled technician to take.
The partial revocation was therefore successful.
Disclaimer: The above is provided to assist in the understanding of the Registrar’s grounds of decision. It is not intended to be a substitute for the reasons of the Registrar. The full grounds of decision can be found at http://www.ipos.gov.sg/Services/HearingsandMediation/LegalDecisions/2015.aspx.
Source: http://www.ipos.gov.sg/Services/HearingsandMediation/LegalDecisions/2015.aspx
21
Jul, 2015
HO TACK SIEN & ORS v. ROTTA RESEARCH LABORATORIUM S.p.A & ANOR; REGISTRAR OF TRADE MARKS (INTERVENER) & ANOTHER APPEAL [2015] 4 CLJ The plaintiff is the registered proprietor of the Viatril-S mark, a pharmaceutical drug registered in Malaysia. The defendant was the registered owner of the Atril-250 trademark and was also the distributor and...
read the rest
HO TACK SIEN & ORS v. ROTTA RESEARCH LABORATORIUM S.p.A & ANOR; REGISTRAR OF TRADE MARKS (INTERVENER) & ANOTHER APPEAL [2015] 4 CLJ
The plaintiff is the registered proprietor of the Viatril-S mark, a pharmaceutical drug registered in Malaysia. The defendant was the registered owner of the Atril-250 trademark and was also the distributor and seller of Atril-250. It was the plaintiff’s contention that the defendant’s drug is an infringement of the intellectual property of Viatril-S, which has been sold in Malaysia for more than 20 years. It was alleged by the plaintiff that the defendant manufactured, distributed and sold the same product under the name of Atril-250. In the High Court, the plaintiff succeeded in the action against the defendant for the intellectual property infringement, passing off and expungement of the Atril-250 mark from the register.
The Court of Appeal affirmed the High Court’s decision with the infringement and passing off but disagreed with the expungement of Atril-250. It was the Court of Appeal’s opinion that in order to order for an expungement, the court would first have to receive the Registrar’s evidence based on s62 of the Trade Marks Act 1976. Secondly, in an application to expunge or rectify a mark, the Registrar of Trade Marks should be made a party to the proceeding. The parties appealed this decision.
The Federal Court allowed the plaintiffs’ appeal, dismissing the defendants’ appeal. Referring to the role of the Registrar in rectification and expungement proceedings, it was held that it was not necessary to include the Registrar as a party unless there is a cause of action against the Registrar. Pursuant to s45 of the Act, the Registrar has the right to appear if he deemed fit or his assistance is required by the court to determine issues that are related to his scope, functions and duties. It is however not a prerequisite to add the Registrar as a party in such proceedings.
Furthermore if a mark has been wrongfully registered in the Register, it is neither the court nor the Registrar’s discretion whether to allow the mark to remain on the Register. The mark must be removed or expunged from the Register once it has been proved that the mark was infringed. In the event of a dispute as to identical marks, it would be for the registered proprietor or the owner of the aggrieved mark to bring an action. It is not the Registrar’s duty to bring this matter to the court.
31
Jul, 2015
The Polo/Lauren Company, L.P. v United States Polo Association [2015] SGIPOS 10 Published: 12 June 2015 These are opposition proceedings commenced by The Polo/Lauren Company LP (“the Opponents”) in relation to the trade mark application T1215440A (“the Application Mark”) filed by United States Polo Association (“the Applicants”). Two grounds of opposition were relied...
read the rest
The Polo/Lauren Company, L.P. v United States Polo Association [2015] SGIPOS 10
Published: 12 June 2015
These are opposition proceedings commenced by The Polo/Lauren Company LP (“the Opponents”) in relation to the trade mark application T1215440A (“the Application Mark”) filed by United States Polo Association (“the Applicants”). Two grounds of opposition were relied upon, namely, Sections 7(6) and 8(2)(b) of the Trade Marks Act (Cap 332, 2005 Rev Ed).
The Opponents’ bad faith claim under Section 7(6) was premised on a settlement agreement that was reached between the parties in 2003 to resolve their trade mark dispute in the US. This ground failed because the Opponents were not able to discharge the very high burden of proof involved in an allegation of bad faith.
The Opponents’ claim under Section 8(2)(b) was based on their earlier registered trade mark T9604857H. The details of the Opponents’ earlier trade mark and the Application Mark are shown in the table below:
The Opponents’ earlier trade mark
T9604857H
Class 9
Specification of goods: “Spectacles, spectacle frames, lenses, sunglasses and parts and fittings therefor”
The Application Mark
T1215440A
Class 9
Specification of goods: “Eyewear; ophthalmic eyewear frames; reading glasses; sunglasses; eyeglass cases and covers; sun visors (eyewear)”
The IP Adjudicator, applying the “step-by-step” approach in Section 8(2)(b), found that there was only a very low degree of similarity between the two trade marks, and that there was identity between the goods. Although the first two “steps” were satisfied, the claim failed because the IP Adjudicator found that there would not be a likelihood of confusion (which is the requisite “third step”).
What is interesting about this case is the IP Adjudicator’s analysis of the argument on the pricing of eyewear. There was an argument that confusion was unlikely because both the Applicants’ eyewear and the Opponents’ eyewear were expensive items and hence purchasers were likely to exercise a higher degree of care when purchasing the parties’ eyewear. The IP Adjudicator indicated that, in considering pricing as a factor in the confusion inquiry, it would not be appropriate to consider if the Opponents’ eyewear and/or the Applicants’ eyewear were expensive items. Rather, in order to pay heed to the Court of Appeal’s decision in Staywell Hospitality Group Pty Ltd v Starwood Hotels & Resorts Worldwide, Inc [2014] 1 SLR 911, the reference point should be the normal or average price of eyewear as a type or category of goods.
She also indicated that it was not necessary in every case to focus on the price of the type of goods concerned. Ultimately, the aim of the exercise was to determine the degree of care that the average consumer was likely to pay when purchasing that type of goods. In this exercise, there might be factors other than price which were more useful.
In her assessment, eyewear was a type of goods the purchase of which involved a fairly high degree of care regardless of their price range. She gave the following reasons. First, eyewear as a type of goods was not purchased on a regular or frequent basis. Second, eyewear as a type of goods was usually bought through salespersons particularly when they are sold in optical shops. Third, eyewear was a type of goods that would command a higher degree of fastidiousness on the part of a consumer who was likely to inspect the product closely in order to decide if the particular spectacle frame fit well in terms of comfort level (e.g. whether the nose pad of the spectacle frame sat comfortably on the consumer’s nose bridge). This fairly high degree of care and attention that the average consumer would pay when purchasing eyewear, coupled with the very low degree of similarity between the two marks, were reasons for her conclusion that there was no likelihood of confusion.
Disclaimer: The above is provided to assist in the understanding of the Registrar’s grounds of decision. It is not intended to be a substitute for the reasons of the Registrar. The full grounds of decision can be found at http://www.ipos.gov.sg/Services/HearingsandMediation/LegalDecisions/2015.aspx.
Source: http://www.ipos.gov.sg/Services/HearingsandMediation/LegalDecisions/2015.aspx
31
Jul, 2015
許多企業家,總以有專利在手,就会一本万利。但是他們往往在花費钜資,申請專利後,才發現實際效益遠不及花費的金錢。這都在於這些企業在申请专利前考慮不夠周全。在此,笔者希望在此分享申请专利之最佳实踐 ( Best Practice)。 1。申請專利前,先搜索專利 在申請專利之前,如果能搜索先前的相關技術,一来可確認自身发明是否俱備申请专利新颖性与创造性条件,二来可以改善撰寫专利的質量。展开专利搜索的另一目的是为了確定自身产品有沒有侵犯第三者专利...
read the rest
許多企業家,總以有專利在手,就会一本万利。但是他們往往在花費钜資,申請專利後,才發現實際效益遠不及花費的金錢。這都在於這些企業在申请专利前考慮不夠周全。在此,笔者希望在此分享申请专利之最佳实踐 ( Best Practice)。
1。申請專利前,先搜索專利
在申請專利之前,如果能搜索先前的相關技術,一来可確認自身发明是否俱備申请专利新颖性与创造性条件,二来可以改善撰寫专利的質量。展开专利搜索的另一目的是为了確定自身产品有沒有侵犯第三者专利,保证企业在商业化产品时拥有行動自由(Freedom to Operate)。虽然搜索专利必須耗費一些時間与费用。但是,如果能在申請專利前進行搜索工作,將大大幫助決策者做出明智的決定。一般而言,我们可以透過線上各国專利庫,來搜索各国專利。
2.作好商业考量,再作专利申請
申请专利费用不菲,因此,申請專利之前,必須將以下商业因素納入考量範圍:
a. 這項發明、技術或產品有沒有市場?
b. 這項發明有沒有其他的替代品?如果和替代品比較,有沒有驚豔之處?
c. 有沒有投資者願意將這項發明引進市場?
d. 這項發明會帶給公司多少利益?
e. 競爭者能不能輕易創造類似的發明,迥避公司专利?
f. 專利可以保護發明的哪一個層面?保護的層面又有多廣?將發明商業化後?
g. 能否輕易鑒定專利遭侵權,並且做好準備,投入時間和金錢,加強保護專利?
3. 通过專利合作條約(PCT) , 申请国外专利
专利是一种国家权利,想把国内专利延申到海外市场,则以须把该专利到不同国家作出申请。申请国外专利的考虑因索有四:1.市場所在地、2.产品生产地、3.投资回报、4.专利执行力度。
企业也可通过 PCT 《专利合作条约》(Patent Cooperation Treaty)条约,简化专利国外申请。根据PCT的规定,专利申请人可以通过PCT途径递交国际专利申请,向多个国家申请专利。到2015年6月,共有148个国家已加入 PCT 条约,为专利国际保护提供了许多便利。
專利的故事:HAIER
有人曾說:「技術創新是矛,知識產權是盾,兩者使用得宜則能在戰場上衝鋒陷陣」。這句話套在中国最火的品牌之一海爾身上,顯得格外貼切。
1980年代,中國門戶大開,外資紛紛湧入市場。德國家電制造商利勃海爾(Liebherr)相中中國的新興家電市場,決定進駐中國分食這塊大餅,於是與青島電冰箱總廠達成合作關系,並且將制造技術和訣竅銷售給青島電冰箱總廠。這既是海爾集團的前身。
1993年,青島電冰箱總廠正式更名為「海爾集團」,並發展為營業額高達1509億的全球企業。短短的20多年,公司發展如此神速,這都得歸功於張瑞敏懂得善用手中的的矛與盾。
在知識產權措施上,海爾有所創新,即於短時間內申請知識產權,搶占市場先機。海爾運用 PCT專利合作條約 在多個國家申請專利,全面保護自己的權益。PCT 專利合作條約是一種國際專利申請體系。申請者僅需以一份申請書,以一種語言,向一個受理單位提出申請,並在申請中指定要取得專利保護的國家,在該國的申請就能生效。企業藉著集中管理專利,省去了各國重複且繁雜的申請工作,大大提升效率。除此之外,向外國提出申請的決定最長可以延至自優先權日起 30 個月的時間。這意即企業擁有更多時間考慮某一市場的商業價值,再決定是否進駐該市場。海爾使用專利合作條約申請專利無疑為其自身帶來許多益處。
正因海爾智慧運用技術打破局限,換來衝出海外,獲得國際認同的機會。與此同時,海爾積極申請及註冊大量的知識產權保護自己的技術優勢,才能贏得今日的輝煌成績。
29
Jul, 2015
案例1:张三在A公司担任工程師职位、在任內开发新发明,谁拥有专利权? 案例2: 李四是名獨立技术顾问, 在为B公司提供咨询期间发明新技术,专利权属于谁? 案例3 : 王五和趙六共同开发新发明,专利权又歸何人? 专利权是企业宝贵资产,专利拥有权是每位企业家所应关注的课题。 想要確定一项发明专利权之合法拥有权,则必须先鉴定该发明的起源。 申請專利的發明可以分兩大類:一是職務發明...
read the rest
案例1:张三在A公司担任工程師职位、在任內开发新发明,谁拥有专利权?
案例2: 李四是名獨立技术顾问, 在为B公司提供咨询期间发明新技术,专利权属于谁?
案例3 : 王五和趙六共同开发新发明,专利权又歸何人?
专利权是企业宝贵资产,专利拥有权是每位企业家所应关注的课题。
想要確定一项发明专利权之合法拥有权,则必须先鉴定该发明的起源。
申請專利的發明可以分兩大類:一是職務發明,一為非職務的發明。
職務創造屬于發明人所屬的工作單位。任何在本職工作中作出的發明,或者是利用所任職位的物質資源所完成的發明,都是職務發明,其拥有權屬于發明人所任職的公司或 單位。因此,案例1张三任內发明的专利权属于A公司。如果职员私自或与第三方不合法的申请原本属于公司的专利、公司则有权利向法庭申请司法转让(judicial assignment), 要求该专利完歸趙。
因此企业应设立一套知识产权管理系统,以便更轻易地鉴定一项发明到底是由研发部的一名或多名员工实现的、或是生产部门的技术人员完成的,还是公司行销部门人员达成的。此外,每位员工的僱用合同、都应加进知识产权拥有权条款、保卫公司权利。
实际上,俱有商业价值的专利不一定是高科技发明。通常,为了满足既定的市场需求,一些技术人员或是负责市场行销的职员,都极可能作出重要贡献。换句话说,你公司里的任何一个员工、卖家、供应商或其他生意伙伴,都可能为你带来新的想法或概念,并将这些创意付诸实現。企业当务之急是设定企业知识产权政策、捕捉、保护拥有公司无形资产。
職務發明申請專利的權力屬于發明人所屬單位。然而,發明人對于自己完成獲參與完成的職務發明享有以下的實際利益:(一)發表發明人身份的權力;(二)專利實施后獲得公正合理的報酬(equitable renumeration)的權力,唯此權力須在其專利成功取的远远大于各方可以合理预见的经济价值方可实施。
我国法庭到目前尚未对公正合理報酬的定义提出任何判决。英国和日本法庭在诠釋”公正与合理的薪酬回报”的定义时对什么是“公正”或“合理”列出一些考虑因索:即该雇员的职务的性质、他的薪酬和其他福利,雇员的努力和技能,员工参与创造发明的程度与贡献,雇主的预期利润与真实盈利及雇主的财务状况。
非職務發明申請專利的權利屬于發明人。在這里,發明人是指對发明創造的實質性特點作出創造性貢獻的人。如果公司聘请外在獨立顾问开发新产品技术、在没有合同条款列明拥有权的情形下、该新技术拥有权自動歸獨立顾问所拥有。因此,案例2中李四为B公司提供咨询期间所发明的新技术,在没有合同列明拥有权情況下、权歸李四。所以企业在外聘或外包产品开发之际、应明文规定知识产权拥有权课题、以免肥水流入他人田。
與他人合作完成的發明創造專利權歸屬合作完成的發明創造屬共同發明,決定合作完成的發明創造的專利歸屬權的原則有二:(一)全同約定:合作人合作開發某一技術,就該技術成果的專利歸屬問題達致協議,那該協議協定將有約束力,(二)如沒有合同協定,專利申請擁有權將屬于共同完成發明創造人。因此案例3中王五和趙六共同开发新发明,如没有合共協定,则由双方共同拥有。
在我国、除非有合同另行協定、专利权共同拥有人(co-owner)可以在无须另一方允许的情况下使用或转让其专利权、但须要另一方的许肯、方能授权其专利权。因此案例3中的王五可以私下使用或转让他所持有的部份专利权、但须要趙六的首肯、方能向第三方授权其部份专利权。
29
Jul, 2015
在現今创新型经济里,知识产权是公司最宝贵资产。然而、如何有効的確認、捕捉、保护,管理公司内部有商业價值的知识产权,却是许多企业面对的難题。诚然,比起许多先进经济体系,我国知识产权管理意识尚处于萌芽階段。企业如不急起直追,在创新领域將很難与欧美日韓中企业爭长短。 企业内部的无形资产(intangible asset),基本上可分为三大类...
read the rest
在現今创新型经济里,知识产权是公司最宝贵资产。然而、如何有効的確認、捕捉、保护,管理公司内部有商业價值的知识产权,却是许多企业面对的難题。诚然,比起许多先进经济体系,我国知识产权管理意识尚处于萌芽階段。企业如不急起直追,在创新领域將很難与欧美日韓中企业爭长短。
企业内部的无形资产(intangible asset),基本上可分为三大类、即知识资本( intellectual capital)、知识资产(intellectual asset)与知识产权(intellectual property)。知识资本为企业知识的总合、散佈在企业每位职员的腦海里。這些知识包括了公司獨有技术、密方、最佳實踐、客户资料等敏感资料、为公司立业之基。企业如果不把知识资本管理好、將来员工离职或另谋高就了、公司知识资本也会随之流失、而变成他家企业的资产。为了確保自家肥水不流他人田、公司管理有必要设定制度、鼓励员工把腦子里的知识资本書面化或编製成可供參考的手册。這套可以被流传及与公司其他员工分享的知识就知识就是公司的知识资产。公司要在法律上真正拥有知识资产、则需要进一步探讨以法律手段、把可被保护的知识资产注册为专利、外观设计、商标等知识产权。
为了提高企业知识产权,企业可以借着员工专利及知识产权申報数量,认可或奖励发明型员工的实际成绩。英特尔(Intel)和国际商业机器(IBM)都设立知识产权奖励政策,向完成新发明资料的员工,给予金钱津贴。这些公司也把专利的申请数量视为工作升迁和派发奖金的关键绩效指标。
公司的管理层,最好全面參與並決定發明到底應該作為商業機密或申請專利。這種決定不應該全部交由工程師或法律顧問處理,因為他們未必對商業目標有寬闊的視野和遠見。
下表總結了管理知識產權的的最佳實踐系統。這套系統鼓勵員工將發明資料呈交專利審查委員會。專利審查委員會由來自法律、技術、市場部門的代表共同組成,一起商討如何發展一項發明,要替發明申請專利、還是視為商業機密,或者向大眾公開發明,好讓其競爭對手未來無法再為此項發明申請專利。
我国许多小中大型企业、都有设定相当规模的研发团隊、在面对殘酷的市場竞争壓力也创新不断。然而所生产的知识产权的数量不多、与研发的投入及创新的数量不成正比。這现象对欧美日企业来说是不可思议的。因为企业投入资源作研发、目的不外是开发可以提高企业竞爭力的新技术。开发了新产品技术,不僅不保护知识产权、却公开与市場分享研发成果、基本上是一种损已利他人的作法。更有企业自欺欺人的認为创新是无法被法律保护的、這说法 如果正確、日本公司每年就不会申请超过三十万件新专利、美国企业也不会按年提出超过五十万件新专利申请。专利是进可攻、退可守的市場利器、只会开发创新,不懂以专利保卫市埸。 竞争对手利用我们的创新来攻佔我们的市埸,是企业资源的大浪费,等于企业慢性自殺,是每个创新企业所应引以为鉴的。
29
Jul, 2015
尽管公司内部拥有研发的能力,但企业也必须走出公司,到外头寻找全新发明或科技、引进外部專利来加强企业的整体兢爭力。在這方面,政府资助的科研型机构和大学皆是非常关键專利和创新来源。 在健全的科技转移生态圈,政府每年会从税收中抽取科技研发资金...
read the rest
尽管公司内部拥有研发的能力,但企业也必须走出公司,到外头寻找全新发明或科技、引进外部專利来加强企业的整体兢爭力。在這方面,政府资助的科研型机构和大学皆是非常关键專利和创新来源。
在健全的科技转移生态圈,政府每年会从税收中抽取科技研发资金,分派给大学和国立研究机构,作为国家基本研究重点发展项目的用途。之后,所有具备商业价值的研究成果都会申请专利,并以颁发许可证或直接销售的方式,转交私人企业加于商业化和步入生产。一些大学也会选择将部门独立出来,设立公司,将研究成果商业化。许多成功的企业,诸如思科系统公司(CISCO)、升阳电脑(Sun Microsystem)、谷歌(Google)都可从大学追溯其起源。
申请ZAPPA专利权,博大研究化成硕果
馬來西亞人民對稻米需求量高,但國內生產供不應求,因此來源大多仰賴進口。為此,馬來西亞農業部於90年代後期訂立目標,冀望透過高端技術在2015年前大幅提升稻米產量,以應付國內90%需求。
基本上,傳統的稻米種植過程離不開引水、犁地、播種、插秧及收割。在播種階段,水源易受汙染、雜草叢生滋生疾病、鳥類和鼠類侵害稻田等因素皆導致稻米產量不足。於是,博大(UPM)與Diversatech公司共同發起研究計畫,期許能將國內平均稻米產量提升至每公頃6.87噸(比原本的產量高出38.5%)。
首先,他們希望透過提高稻田水位以有效抑制雜草氾濫和稻田受鼠、鳥侵害的問題。但是,提高水深卻會導致田地缺氧及種子流失。基於此,他們決定研發能夠讓種子在水位較高的情況下也能發芽的肥料。2001年,博大與Diversatech公司的研究終於有了成果,推出了ZAPPA肥料,克服水位難題之餘,也提高種子發芽率。
ZAPPA由雙氧水、硫酸、甲醛等製成,讓種子在土壤有氧或缺氧的的條件下都能發芽,並且增強種子的活力,能夠抵抗雜草的危害。使用ZAPPA後,種子發芽率從65% 提升至 90%,稻米產量也增加了40%。
隨後,博大經由Diversatech公司進行市場行銷,取得熱烈迴響。整個過程中,技術研發是在博大完成的,因此欲實現高效率產品商業化就將技術轉移至Diversatech公司。该项专利为博大和Diversatech公司带来的几千万的收入为博大专利商业化史的创举。
政府每年都花费数以亿计之研发經费、供大学与科研机構展开秓术研发,同时也提供优惠政策(包括税务与基金奬䘸)鼓勵大学与科研机構把這些研究成果申请専利,及積極向企业转移。在马来西亚、百份之六十以上的国内專利源自大学及科研机構。企业如果能夠在這芸芸專利中尋获企业未末成长之契机,除了加速企业创新的步伐,也促进国家经济成长。把大学及科研机構專利商业化,是政府第11大马计劃之重点策略,里头隐藏无窮商机、企业应加于关注。
29
Jul, 2015
就算一家公司没有正式的研发设备,一些技术人员或是生产员工可能经常在管理层毫无察觉的情况下,进行研发。有些时候,他们基于各种理由,必须对现有产品作出调整,以满足客户需求。 由此可见,公司的任何一个角落都可能涌现创新的想法。其中一个挖掘发明的绝佳地点为市场和行销部门。原因在于这些部门的执行人员必须了解市场的动向和需求,所以极可能在过程中发掘解决难题的技术方案...
read the rest
就算一家公司没有正式的研发设备,一些技术人员或是生产员工可能经常在管理层毫无察觉的情况下,进行研发。有些时候,他们基于各种理由,必须对现有产品作出调整,以满足客户需求。
由此可见,公司的任何一个角落都可能涌现创新的想法。其中一个挖掘发明的绝佳地点为市场和行销部门。原因在于这些部门的执行人员必须了解市场的动向和需求,所以极可能在过程中发掘解决难题的技术方案;另一个创意茂盛的地点为生产部门,其部门的技术员工必须创造技术方案以解决生产过程中遇到的瓶颈。
应建立创意管理系统
因此,企业应建立一个创意管理系统,捕抓、检视和战略性地保护内部发想的点子和创新概念。
亚马逊公司(Amazon.com Inc)由杰夫贝佐斯(Jeff Bezos)一手创立,是美国目前最大的一家网络电子商务公司。
现在,亚马孙已成为世界上销售量最大的网上书店,它可提供310万册的图书目录,比全球任何一家书店的存货量多15倍以上。
贝佐斯希望利用先进技术来为顾客提供卓越服务。这一哲学导致了亚马逊最著名的专利软件项目——“一键下单” (One-click Buying)。
“一键下单”软件主要是由一位名叫佩里·哈特曼的程序员开发的,他于1997年加入亚马逊。哈特曼受命开发一个供顾客使用的界面软件,包括他们用来买书的订购系统。
哈特曼回忆说,有一天他和贝佐斯,还有软件开发部门的负责人谢尔·卡凡一起吃午饭。贝佐斯对他们说:“我们需要做点事情来让订购系统完美无缺。我们一定要做出来,这样顾客就能花最少的工夫来订东西。他们应该能够通过一下点击,所有的事情就都完成了。”
这 是关于简化的一个简单想法,哈特曼也这么做了。他开始写一个程序来实现点击一下就可以买东西(在专利申请表上,他的名字排在第一位,后来变成了专利号 US5960411)。申请材料标题为 “通过通信网站进行订购的方法和系统”。这个题目太平实了,更能形象说明该专利的是流程图上的标签,“让一键下单成为可能”。
事实上,这是个简单的想法。那19页的专利正文主要是由一系列的流程图组成的,显示顾客通过怎样的步骤来实现一键下单:提取顾客第一次购物时输入的身份和付费方式,输入系统,等他第二次查看一本书时,会在用户界面上看到一个一键下单的按钮。
当时,这项专利引起了许多爭议,因为任何想网上卖东西的人,都被这项专利禁止使用“一键购买”的选项。
然而,这类的购物模式虽然看起来简单,但却被亚马逊捷足先登申请了专利,任何想要使用这项功能的人,都必须向亚马逊支付专利费。
苹果公司(Apple Inc)就向亚马逊购买了这项专利许可,並將其用在iTunes商店里。
亚马逊在“一键购买”的服务上取得成功,主要是这项发明成功获得专利,並阻止竞爭者使用这项专利。儘管这並不是复杂的发明,但专利的申请却让“一键购买”成为专属服务。
大多数的专利並非是巨大的发明创造,从专利法的角度来看,一个用于解决某一个技术问题的简单方案,不一定缺乏创造性,並且都有机会申请专利来保护。
企业核心竞爭力是知识產权
无论是在科技领域或是传统產业领域,企业的核心竞爭力都是知识產权。知识產权可帮助企业確定並维护自己专有的市场优势,这是知识產权带来的好处。因此,企业应寻求知识產权的专业人士及律师的协助,有助于提高专利申请的成功率,並且为企业带来更高的利润。
29
Jul, 2015
若企业内部具有研发的能力,就必须负责开创新技术,以满足公司发展需求。研发是取得创新与专利最重要的管道,在美国、德国、日本等先进的经济大国,私人企业每年都花费超过3%的国民生产总值,作为研发用途。这显示了经济大国的企业相当重视研发成果。他们为了持续占有竞争优势,运用知识产权和专利的保护计划,小心翼翼地守护研究成果。 專利的故事...
read the rest
若企业内部具有研发的能力,就必须负责开创新技术,以满足公司发展需求。研发是取得创新与专利最重要的管道,在美国、德国、日本等先进的经济大国,私人企业每年都花费超过3%的国民生产总值,作为研发用途。这显示了经济大国的企业相当重视研发成果。他们为了持续占有竞争优势,运用知识产权和专利的保护计划,小心翼翼地守护研究成果。
專利的故事: VOLVO
汽車的安全帶已成為目前所有車輛安全系統中必備的安全裝置,安全帶的出現,讓車輛在交通事故中拯救了成千上萬人的生命。而這項對汽車安全產生重大影響的專利,是由尼爾斯博林(Nils Bohlin)所發明。
博林於富豪(Volvo)汽車公司擔任首席安全工程師,主要負責富豪汽車的安全設計。博林提出了「三點式安全帶」構思,這種安全帶不僅提供給駕駛員,也提供給其他乘位人員安全保護。博林作為發明人於1958在瑞典申請了專利,並以此為優先權於1959年向美國和英國申請了專利,美國於1962年授予專利權,專利號為US3043625。「三點式安全帶」用單手就可輕鬆扣穩安全帶,用皮帶交叉於位置上的乘員胸前,另一段則環繞臀部,讓安全帶能夠保護腰部,是一項巨大的進步。1959年,已申請專利的「三點式安全帶」首度配備在北歐上市的富豪汽車上,讓該公司成為全世界第一家將安全帶列為標準配備的車廠
目前,「三點式安全帶」成為汽車發展中,最重要的單項安全發明。其「三點式安全帶」已被德國專利局列為從1885 -1985年間,最能有效保護生命的8項重要專利設計之一。然而,值得一提的是,富豪於獲得設計專利後,立即將此研發成果分享給全球所有車廠使用,希望藉著「三點式安全帶」的廣泛使用,能完整守護更多寶貴的生命。「三點式安全帶」專利開放的決定是有遠見的,並符合富豪的安全指導原則。雖然富豪沒有要求任何「三點式安全帶」專利的授權費用,富豪的專利戰略,設法擴大其在世界上所有汽車安全標準,並加強其品牌成為世界上最安全的汽車公司。在過程中,其「三點式安全帶」因擁有世界各地的使用者而產生商譽,使富豪的品牌享有很大的推動力。
在研发过程中,研发人员也可以从许多线上专利资料库获取知识产权情报,而这类资料库包含了许多受专利保护的技术,或专利已经失效或过期的技术。从线上资料库的专利情报,依据其专利的合法程度,研发人员可直接採用有关技术、或作为參考及灵感泉源。知已知彼,百戰百勝。因此,一家企业打算进行内部研发或向外购入技术之前,一定要先上专利庫搜寻有关技术专利资料,方为上计。
大多数对专利有所认识的公司都会巧妙运用专利资料库,例如抓紧机会调整或占有有专利的发明或科技。探勘资料库也可让自身在发展想法和概念时,有更多可靠的依据。专利资料库,涵盖了百份之九十最先进及附有经济價值之创新技术,是每位研发人员专利道路上之良師益友。
29
Jul, 2015
有许多企业为了申请專利,都必须绞尽腦汁,设法开发全新创意。然而,笔者从事专利工作多年、发现许多专利的缘起、主要是来自对现有之产品或生产流程之改良 。換而言之企业要申请专利,並不需要开天辟地的大发明,一些经过改良之产品或生产流程也是可被申请为専利,只要改良过之产品或流程、附合專利新颖性,创造性与实用性之基本要求。针对产品或流程所做出的任何实質性改良...
read the rest
有许多企业为了申请專利,都必须绞尽腦汁,设法开发全新创意。然而,笔者从事专利工作多年、发现许多专利的缘起、主要是来自对现有之产品或生产流程之改良 。換而言之企业要申请专利,並不需要开天辟地的大发明,一些经过改良之产品或生产流程也是可被申请为専利,只要改良过之产品或流程、附合專利新颖性,创造性与实用性之基本要求。针对产品或流程所做出的任何实質性改良,除了能使自家产品与竞争对手有所区别,其改善后之特点都可能是申请专利保护的对象。
必须知道,大企业如苹果, IBM,三星、每年都申请成千上万的专利、而這专利主要以改良专利为主,申请改良专利的目的,一耒可以拥有改良产品或生产流程的獨有权、二耒可以提高对競争对手的市場谈判筹码。
商家经营生意多年,对其客户的潜在需求会有所掌握,对如何改良产品或流程会有獨到心得。這些改良,如果拥有商业價值,推出后彼可能被競争对手抄襲,因此都有必要加专利保护,以避免肥水流入他人田。
我们可以从以下案件, 看到产品或流程改良専利的暴发力。
專利的故事
案例 1:Starbuck 星巴克的瓦楞隔热杯套之产品改良
星巴克为了让客户在手握热饮外带杯时有更好的客户体验,利用最普遍的瓦楞盒纸,研发出一种隔热的杯套,瓦楞盒纸凹槽结构可以困住热气,是自然的抗热材料。星巴克为这项产品改良申请了专利,并运用这项发明,让星巴克在竞争激烈的饮料快餐市场中脱颖而出。
案例2: Tetrapack利乐饮料包装系统流程改良
利乐公司通过对饮料包装过程的改良,开創了饮料高温灭菌及真空包装系统。该包装系统配合了先进的无菌真空包装技术,能有效保存乳品或饮料的营养和味道。同时,由于从包材成形至产品充填过程均是在同一部机器密封无菌及真空况内进行,确保了安全卫生且节约空间。利乐无菌真空包装技术使产品在常温状态下具有较长的保质期,为消费者提供了更多便利与选择。利乐为其改良包装系统申请多项专利。该项流程改良行销170多个国家,为利乐公司带来超过100亿区欧元的年度销售收入,帮公司奠定了包裝业龍头老大的地位。
一花一世界、一改良一專利。商家们如果能正视与及时捕捉一些公司内部员工为了面对市場需求而开发的产品或流程改良,肯定会发掘源源不断创意,並找到申请專利的不竭泉源,为公司带来滚滚财富。
29
Jul, 2015
在日益蓬勃的知识创新型经济中,企业若要保有竞争力,就必须以创意、突破性的想法和概念,不断创新自身产品、服务或商业模式。企业可利用各种方式改善现有产品、增加产品功能或开发全新产品,以取得突破。 一旦企业发展了一套独特的想法和概念,并以出人意表或更好的方式解决了技术难题,就应该采取适当及时的措施,保护其创新的想法、概念或知识;在法律允许的情况下...
read the rest
在日益蓬勃的知识创新型经济中,企业若要保有竞争力,就必须以创意、突破性的想法和概念,不断创新自身产品、服务或商业模式。企业可利用各种方式改善现有产品、增加产品功能或开发全新产品,以取得突破。
一旦企业发展了一套独特的想法和概念,并以出人意表或更好的方式解决了技术难题,就应该采取适当及时的措施,保护其创新的想法、概念或知识;在法律允许的情况下,为这个技术申请专利即是独占科技优势的最佳方式。
大部分申请专利的发明都并非重大突破,只是在原有的产品技术上,增加一些有创造性的改良。事实上,一些成功的发明,都只是由一般人或个人发明家在基础技术上稍加强改进而已。
机遇+ 好奇心 + 企业家精神
实际上,一些成功的发明往往是基于机遇﹑观察力或纯粹偶然的情况下发生,而这些发明都带来意想不到的成果。一些有备而来的发明家不单察觉到这些成果,更亲自或交由他人发展为一门生意。
專利的故事:VELCRO
案例:维克罗魔术贴的神奇魔力
1941年,一位瑞士发明家George de Mestral在森林漫步,并在回程时发现裤子上粘满了带刺的苍耳。这种现象引发了他的好奇心。于是,他用显微镜观察苍耳,并进一步发现苍耳每个刺的顶端都是一个小钩子。这种结构使它可以轻易钩住毛圈的布料。
这一发现启发了他。他随即动手制作由钩和毛组成的魔术贴。钩像苍耳上的小钩子,而毛就像裤料上的毛圈一样。George de Mestral为他的魔术贴注册了一个商标,即维克罗 (Velcro)。维克罗源自两个法语单词: velour 和crochet ,即钩和毛圈。
维克罗创立初期,公司每周营收只有60美元。直到1957年,加拿大Velok公司得到许可,将其产品引进亚洲和北美市场,情况才有所改变。1958年,维克罗开始申请第一项专利。1960年,太空署利用魔术贴将太空舱内的物品固定在墙上。维克罗也不停在其技术上创新改进,截至2010年,维克罗已申请了134项专利。根据2008年资料统计,维克罗凭借专利技术,从60年前的小公司,转变为年收入2亿9800万美金的国际大企业。
机遇﹑观察力,企业精神与专利的结合,成就了Velcro魔术贴、创造了让人津津乐道的企业传奇。从Velcro的个案,我们看到企业家们如果能夠观物以微,把大自然之巧夺天工, 应用于解决日常生活之難题,从而利用专利將之加于保护,也能为企业带来成长的原动力与滾滾的财源。
29
Jul, 2015
申請專利有三项基本條件: 即该发明需附合新颖性、创造性与實用性三大条件。在此专栏、我们会深入研讨申请專利實用性之基本要求。 所谓的實用性,主要是指一项發明能夠被制造或使用,並且能夠產生積極效果。 发明人可以在概念階段,为向未验证的抽象的点子申请专利,但该概念如果无法实现或产生效果,那有关专利便会变无効。此外,一般不附合物理原理的专利...
read the rest
申請專利有三项基本條件: 即该发明需附合新颖性、创造性与實用性三大条件。在此专栏、我们会深入研讨申请專利實用性之基本要求。
所谓的實用性,主要是指一项發明能夠被制造或使用,並且能夠產生積極效果。
发明人可以在概念階段,为向未验证的抽象的点子申请专利,但该概念如果无法实现或产生效果,那有关专利便会变无効。此外,一般不附合物理原理的专利,也会在這条款下被宣判无効。
在药品的领域,许多药廠为了確保其新葯品的新颖性,都会在进行臨床实验前为其新药品申请专利保护。然而实验一旦不成功,则必须放棄该专利申请。
我们可以从立可白Liquid Paper涂改液的成功案例、探讨一名秘书如何將其天马行空的创意,付诸实践,並加于商业化,创造企业传奇。
專利的故事: Liquid Paper
1951年,原本想要從事繪畫工作的貝蒂•奈史密斯•格萊姆(Bette Nesmith Graham)與老公離異後,必須獨自撫養兒子,於是加入德州信託銀行工作。她擔任秘書一職,並使用市場剛推出的電動打字機。照理而言,電動打字機會加快打字速度,提升工作效率。但是,相對手動打字機,電動打字機的輕捷鍵盤,反而讓人容易不留心打錯字。再者,電動打字機採用的墨帶不同,錯字無法輕易用橡皮檫擦掉。因此,貝蒂及其同事常常必須為了幾個錯字而將內容重打一遍,這讓大家都感到不耐煩。
某日,貝蒂靈機一動,想到與其擦掉錯字,倒不如像以往上美術課時用顏料遮蓋畫作上畫錯的地方一樣,用白色顏料遮蓋錯字。就因为這天马行空的点子,她用攪拌器混合蛋彩畫的水彩顏料,再覆蓋在錯字上,結果证明此点子實用性高。效果非常好。辦公室的其他秘書看見後,也紛紛向她索取這種遮蔽顏料。1956年,貝蒂把廚房當作實驗室,用電動攪拌機混合顏料。顏料製成後,她和兒子在車庫將遮蔽顏料裝在綠色小瓶子,命名為Mistake Out販售。
1957年,貝蒂遭公司辭退,於是她決定將所有心思付諸在改良遮蔽顏料上。1958年,貝蒂設立了自己的公司,將改良後的產品更名為立可白,並且為產品申請了專利及商標。1968年,貝蒂有了自己的工廠、自動化系統和19名員工。這一年,立可白的銷售額超過100萬瓶。1976年,立可白的年度銷售額已經躍升至2千500萬瓶。1979年,貝蒂將立可白公司以4千470萬的價格賣給吉列公司。
2000年,立可白被諾威屈伯德(Newell Rubbermaid)收購,並在某些區域以比百 (Papermate)的名稱販售。
巴爾紮克說:「巨大的財富背後必然凝聚著高度的智慧」。經營知識產權會獲得龐大的財富,而財富的多少則大大仰賴決策者的智慧。從立可白的例子不難發現,创新的点子、實践的验证、專利的保护,市场的執行,都是企业知识产权財富化的不二法门,這也是每位知识产权企业所必须努力付诸实践的。
29
Jul, 2015
申請專利有三项基本條件: 即该发明需附合新颖性、创造性与實用性三大条件。在此专栏、我们会深入研讨申请專利创造性之基本要求。 創造性是指該發明與申請日之前的技術相比,有突出的實質性特點及顯著的進步。一項技術是否具有創造性,可以根據該技術所屬領域的普遍技術人員的判斷處作標準。 換言之,如果发明人可以向專利局证明其新发明组合,比起现有的技术组合...
read the rest
申請專利有三项基本條件: 即该发明需附合新颖性、创造性与實用性三大条件。在此专栏、我们会深入研讨申请專利创造性之基本要求。
創造性是指該發明與申請日之前的技術相比,有突出的實質性特點及顯著的進步。一項技術是否具有創造性,可以根據該技術所屬領域的普遍技術人員的判斷處作標準。
換言之,如果发明人可以向專利局证明其新发明组合,比起现有的技术组合、有更大的优势或好处,便可达到新颖性的指標。一加一等于二的组合、是属于一般顯著( obvious) 的改良、缺少了创造性、尚未附合專利要求。有创造性的发明、需产生一加一大于二的效果。一项俱有新颖性但缺乏创造性的发明、可在一些国家(包括马来西亚在内)可用實用新型(或俗稱小專利)耒作限度保护。
创造性是一个主观的概念。在專利審查过程中、審查员会提出许多现有文献、挑戰一项專利申请的创造性。发明人或其專利律師之任务就是憑着新发明组合所能带来的各种好处或技术优点、针对審查员的論点逐一提出反驳。此外、在専利诉讼期间、專利侵权所告人一般上也会攻擊専利的创造性、以期法庭宣判该専利无効。
專利的创造性的主观性要求、为專利权力带来诸多不確定性。因此、许多大企业都会对其主要发明申请多项專利.以專利组合策略, 減低不確定性风险、设定更有効的市埸进入障礙。
让我们以奥德斯电梯的例子探讨创造性的重要性。
專利的故事: OTIS 电梯
人類尚未運用電力以前,電梯的原型是一種載人或載物的升降機。隨著工業發展,人類持續改良升降機的結構,也開始減少以人力或畜力驅動升降裝置。盡管升降機獲得許多改善,但是繩索容易斷裂的問題還是讓人十分困擾。
在1852年,依萊莎‧奧的斯(Elisha Otis)設計了具有安全制動器的升降機。奧的斯在升降機內安裝了兩根軌道。此外,他也在纜繩上安裝了兩只金屬爪和彈簧。一旦纜繩斷裂,彈簧會及時彈出金屬爪,自動嵌在軌道的的齒槽內,使升降機固定在一位置,停止下墜。這个方案在当时是一项俱有技术优勢的非传統作方、附合専利创造性要求,成功被授权専利保护。
奧的斯完成這項發明後,隔年開辦了自己的公司,正式售賣升降機。1857年,奧的斯在紐約一家樓高五層的公司,安裝第一台載客用升降機。1861年,奧的斯正式取得安全升降機的專利。1873年,各大辦公樓、飯店和百貨公司使用的奧的升降機超過2000台。1880年,第一台商用電動機問世後,電梯逐漸取代蒸汽式升降機。奧的斯公司在1903年推出了無齒輪牽引電梯。隔了30年後,奧的斯又推陳出新,發表了雙層電梯。
時至今日,奧的斯公司已經成立了近160年,是世界最大的電梯、手扶梯制造商。藉著不斷改進自身產品的專利技術,20大世界最高建築中,有11棟的電梯都交由奧的斯制造、安裝和服務。這在在顯示了奧的斯創新、可靠和安全的形象。
奥的斯公司开发了俱有创造性的技术方案、通过專利保护、走过一个半世纪的煇煌、开创了企业不朽的传奇。因此企业欲常青、除了拥抱创新、更须专利创新、方能確保企业竞爭力源远流长。這是每位知识产权企业所应关注的。
29
Jul, 2015
專利保护任何可以解决技术難题的方案或发明。通过專利所賦于專和拥有人的二十年的獨有权及排他权,商家与发明人可在有保障的情况下投入大量的金錢 、精力开发更创新及有效率的技术解决方案或发明耒迎合市場需求,文明的巨輪也因此向前推进。 申請專利有三项基本條件: 即该发明需附合新颖性、创造性与實用性三大条件。让我们深入研讨申请專利之新穎性要求。 新穎性:新穎性是指一项發明在申請日之前沒有同樣的發明被公开过或在國內外出版物上公開發表過或...
read the rest
專利保护任何可以解决技术難题的方案或发明。通过專利所賦于專和拥有人的二十年的獨有权及排他权,商家与发明人可在有保障的情况下投入大量的金錢 、精力开发更创新及有效率的技术解决方案或发明耒迎合市場需求,文明的巨輪也因此向前推进。
申請專利有三项基本條件: 即该发明需附合新颖性、创造性与實用性三大条件。让我们深入研讨申请專利之新穎性要求。
新穎性:新穎性是指一项發明在申請日之前沒有同樣的發明被公开过或在國內外出版物上公開發表過或使用過或向知識產權局提出申請過,並且記載在專利申請文件中。一些国家如美国、新加坡、马来西亚接受为期一年的新颖性宽沖期、即一项发明在被公开的一年内能及时向的关專利局申请專利,即能保存新颖牲。
在専利的领域里,所谓新的发明,就是如何把技术解决方案的组成部份重新组合,以新的组合出现。而專利的新颖性,取决于该发明组成部份的组合在全世界是否是獨一无二的 、即使其單獨组成部份已普及 存在。关于專利新颖性的概念、我们可以从3M的成案例得到启示。
專利的故事:
3M公司不断创新,持续申请知识产权
3M公司之所以能夠歷久不衰,得益於深厚的創新文化。1902年,5名商人在明尼蘇達州設立3M公司。於1923年進入公司,成為公司實驗助理,竇爾(Richard G. Drew) 到一家汽車烤漆廠探訪客戶時,無意間發現廠內的員工在連聲抱怨。究其原因,是當時美國雙色汽車正夯,汽車上下半身顏色不同蔚為流行。但是,這難為了烤漆工人,因為他們必須謹慎處理汽車上下兩色交接的地方。工人通常將舊報紙黏貼並覆蓋在已經噴好漆的地方,再噴上另一顏色的漆料。但是,噴漆常會滲過報紙,弄汙已上色的部分,或是工人在撕下報紙時,不小心把噴妥的油漆也一併撕了下來,破壞車身。這種煩瑣的作業情況大大引起工人不滿。
竇爾撞見這一幕後,開始設想製作黏貼自如又不損傷漆面的膠帶。於是,他花了兩年著手研究,終於發明了黏性強且不會留下殘膠,不致毀損烤漆面的遮蔽膠帶。1930年,竇爾又研制了把黏膠塗在玻璃紙的方法,發明了首款玻璃膠帶。這些系列膠帶命名為思高(Scotch®) 。
3M公司也把黏膠加诸于纸条,开发了举世闻名的 POST-IT留言纸。黏膠与纸条單獨存在已久、但从来没有人把它们结合起来、变成一个拈手可用的留言纸。因为黏膠加纸条的组合、在当时是前所未有的作方、因此附合了專利新颖性要求。3M公司为创新留言纸在多国成功申请專利与 POST- IT商标。此简单不过的新组合产品,却成功为3M公司带来数以亿计的盈利、是3M公司最广为人知的产品之一。
3M公司不斷創新的過程中,也持續為其產品申請知識產權。根據美國專利及商標局顯示,3M公司在全球已註冊的專利就多達4萬多件。 3M公司透過各種專利組合形成保護壁壘,在面對侵權糾紛時佔據優勢,發現抄襲者時,也能夠採取有利的法律途徑反擊。
正因3M公司懂得智慧運用並巧妙制定知識產權策略,才得以發展為規模龐大的企業。這些都是馬來西亞企業必須跟進及學習的。
一个新颖的想法或作法、可能会为企业带耒意想不到的商机。企业迫切需要加强知识产权管理、设定政策与制度、尽量捕捉公司员工上下有新颖性的创新、随后選擇性、策咯性的把有經济價值的创新加于專利保护、方为企业保持长远克爭力与生存之计。
29
Jul, 2015
專利是指政府知通过識產權局授予發明人或商家在一定期限內對其發明成果依法享有獨占實施的專有權力。 專利權持有人對其發明創造的技術成果享有制造、使用及銷售獨占權,任何單位未經專利權持有人的許可,不得使用其專利方法制造、使用及銷售產品或服務,否則需對專利權持有人負起民事及刑事責任。 专利保护期最长为二十年,专利持有人须每年缴交年费,以维持专利有効性...
read the rest
專利是指政府知通过識產權局授予發明人或商家在一定期限內對其發明成果依法享有獨占實施的專有權力。
專利權持有人對其發明創造的技術成果享有制造、使用及銷售獨占權,任何單位未經專利權持有人的許可,不得使用其專利方法制造、使用及銷售產品或服務,否則需對專利權持有人負起民事及刑事責任。
专利保护期最长为二十年,专利持有人须每年缴交年费,以维持专利有効性。专利也是一项依藉授权国为主的权力。换言之,一项专利要在不同国度享有排他权,则必须在不同国家提出专利申请。
专利是商家或发明人对其发明及创新的主要保障。通过专利权所提供的合法障碍,商家们可投进资金创新技术产品。有了专利权所赋于的合法排他权,商家们在其发明创新受到非法抄袭之际,针对防冒者或终端客户享有更大的市场谈判筹码,进而保卫公司对发明创新的投资,企业的盈利以及市埸佔有额。
掀开企业发展史,我们发现许多手屈一指的企业,都是通过产品技术创新,加上专利护身符,树立江湖地位,创造企业传奇。这是创新型经济精髓所在,也是每一位想做大做强的企业家所必须正视的课题。我们可从戴森的案例得到启。
專利的故事1: Dyson
戴森用15年波折,换洗尘机一哥地位
說到吸塵機,大家可能首先聯想到胡佛(Hoover)這一百年品牌。然而,自1993年戴森公司推出第一款採用氣旋技術的吸塵機後,便迅速獲得消費者的肯定與喜愛,以狂風掃落葉之姿佔據廣大市場。至今,戴森公司已推出18種清潔用具,佔據40%的英國市場和美國20%的銷售額,並坐收全球超過30億英鎊的營業額。戴森公司今日能夠取得驕績,其成功之道就在於「針對使用者的需求不斷創新」。
戴森公司的創辦人詹姆士.戴森(James Dyson)在家吸塵時,發現他的名牌吸塵機不僅吸力不佳,且三不五時就需要更換集塵袋。他原本以為是集塵袋的灰塵裝滿了才需要更換,但後來發現真正原因在於集塵袋的氣孔容易被灰塵堵塞,以致無法順利吸塵。戴森對吸塵機長期發生的問題失望不已,身為工業設計師的他決定親自研創無集塵袋吸塵技術,改善問題。但是,戴森的研發路挫折重重,不僅製作了5000多個實驗原型,且遍尋投資者不果。他向製造商介紹自己的發明,卻被一一拒絕,因為任誰都不想為了戴森的新技術,而放棄利潤豐厚的集塵袋市場。儘管戴森花了15年的時間,歷經波折,但最終仍憑著堅毅的精神,設立了戴森公司,販售自己的發明成果。他隨後也設立了研發團隊,持續研究產品,盡力讓產品臻至完美。
簡單來說,若使用傳統的吸塵機,空氣流動通過集塵袋的氣孔時,灰塵會被卡在集塵袋內,正因如此,經常出現灰塵堵塞集塵袋氣孔,進而減弱吸力的情況。至於戴森改良的氣旋技術吸塵機則摒棄了集塵袋,運用150,000G的離心力,過濾塵埃並把體積極小的微塵粒子分離。由於沒有其他物件遮擋氣流,戴森的吸塵機不會出現堵塞的問題,吸力也不會就此被減弱。
而今,戴森的吸塵機品牌越來越響亮,出現更多競爭者覬覦其名利,抄襲其創意。1999年,胡佛涉嫌模仿戴森的其中一項產品。於是戴森尋求法律途徑,狀告胡佛,最終取得勝利。現在,戴森總共申請了820項專利,以防他人盜竊他們的辛苦結晶。
因此,企业没有保护专利,就不拥有创新。没有受专利保护的创新发明,一旦受市场接受,肯定会被竞争对手或自身员工抄袭,转过来变成公司的负担或威胁。所以,企业必须专利作为公司创新的护身符,方能在竞争白热化的创新型经济时代脱颖而出,佔有一席之地。
29
Jul, 2015
註冊商標專用權的保護 註冊商標的專用權,是以核準註冊的商標與核定使用的商品為限。侵犯註冊商標的行為包括了:(一)未經註冊商標擁有人的許可,在同一種商品服務或類似的商品服務上使用與其註冊商標相同或者近似商標的行為。(二)擅自制造或銷售他人註冊商標標志的行為。(三)給他人註冊商標專用權其他損害的行為。 侵犯他人註冊商標者,除了必須賠償侵權人的損失...
read the rest
註冊商標專用權的保護
註冊商標的專用權,是以核準註冊的商標與核定使用的商品為限。侵犯註冊商標的行為包括了:(一)未經註冊商標擁有人的許可,在同一種商品服務或類似的商品服務上使用與其註冊商標相同或者近似商標的行為。(二)擅自制造或銷售他人註冊商標標志的行為。(三)給他人註冊商標專用權其他損害的行為。
侵犯他人註冊商標者,除了必須賠償侵權人的損失,並支付民事赔偿外,註冊商標擁有人在馬來西亞也可以由貿消部依標簽法令(TRADE DESCRIPTION ACT)追究刑事責任。
上標油风靡东南亚 面对侵权仿冒风险
1936年,中國著名中醫師陳龍容隨著大批同胞由中國大陸移民到泰國,他眼見當時新移民缺乏醫藥,決定善用其醫學專長行醫煉藥。他堅持採用中國傳統醫術及配方,煉成其獨特藥油贈送給當時求診的病人。
50年代末期,他將韋炳書收為徒弟並開始給予教導,韋炳書為人勤奮好學,深得陳醫師的愛戴。直到他們一起工作一段時間後,陳醫師決定與韋炳書分享中國最有效的一種中藥,其是一種獨特的草藥混合物,可以舒解頭暈和疲勞。韋炳書不負陳醫師所望,將其藥油結合了他的創業精神與商業頭腦開發了新產品。
為了測試產品的有效性,韋炳書開始將其少量的推向泰國的華人市場,並將產品稱為上標油。為了擴大生產,韋炳書聘請了一位銷售員,並於1963年正式成立Chakrintr公司。小型家族企業的幫助使上標油風靡泰國,其需求量有增無減。隨後,他將公司搬到曼谷,改名為Bertram,並提高上標油的生產量。
直到2002年,上標油以及其衍生的上標油膏是Bertram唯一的產品,雖然這兩個產品獲得四十多年的成功,但期間銷售額卻意想不到的下降。為了找出原因,Bertram採取了客戶調查,發現上標油主要用於老年人口,其在亞洲已建立了良好的聲譽。然而,日益激烈的競爭和新的廣告方式卻使其失去一部分市場佔額。
上標油沒有受到廣大歡迎的原因很簡單,因為在市場成功多年。雖然銷售額穩步上升,但卻發現這些產品被越來越多人視為只有老年人使用的產品。
為了建立公司的新形象,Bertram的研發部開發了另一種上標油,其黏性較低,薄荷成分少,所以香味較淡且不弄髒衣服。Bertram進一步擴大其投資組合,開發出了一系列新的產品及包裝,以吸引更廣泛的年輕族群。
隨著上標油的新產品推出,Bertram利用它們來重新塑造公司和產品的形象。雖然其在泰國和亞洲已經有了強大的品牌知名度,但市場和消費者的變化,使Bertram不得不改變其品牌的營銷和廣告策略。
為了進一步加強公司形象,該公司廣告以年輕和老年消費者為目標,與知名廣告代理公司開發各種新鮮有趣的電視廣告,其多樣化的廣告為公司建立了一個新的品牌形象。
隨著公司的擴大, Bertram發現在亞洲的競爭對手已開始侵犯該公司的知識產權,包括其商標和商業外觀,這些競爭對手創造了類似的產品,已經傳了幾代人。然而,這些競爭對手劫持Bertram的好名字和聲譽,他們公然使用Bertram的商標名稱推銷自己的產品,其產品的包裝和Bertram幾乎一模一樣。
雖然侵權和仿冒帶來風險,該公司仍然享受領先的市場份額,並會在必要時做出決定起訴知識產權侵權者以保護公司的利益。
29
Jul, 2015
在每個國家注冊商標的方式儘管有些許不同,但是大致上都離不開以下步驟。 商標搜尋 全世界正在使用的商標數以百萬,每天都有許多人註冊新的商標,因此搜尋工作變得越來越繁雜,尤其搜尋有無近似或相同的文字商標更是困難。 商標註冊流程 a. 申請 填寫申請商標表格,連同規定的文件呈交國家商標局
read the rest
在每個國家注冊商標的方式儘管有些許不同,但是大致上都離不開以下步驟。
商標搜尋
全世界正在使用的商標數以百萬,每天都有許多人註冊新的商標,因此搜尋工作變得越來越繁雜,尤其搜尋有無近似或相同的文字商標更是困難。
商標註冊流程
a. 申請
填寫申請商標表格,連同規定的文件呈交國家商標局。
b.形式審查
商標局檢視申請者提交的資料,確保該項申請符合行政要求或條規,例如手續費是否已經繳清﹑申請書是否填寫正確等等。
c.實質審查
商標局必須依照規定的商標法檢視申請者的商標是否觸及了抄襲、欺騙、惡意搶註等「無法註冊之要素(absolute grounds for refusal) 」。除此之外,許多國家的商標法也列明審查員必須鑑定申請者的商標是否和同一產業的商標相衝突。這就是所謂的[相對理由(relative grounds)審查。律師和審查員會就商標的相似度和商標所覆蓋的產品或服務範圍,鑑定商標是否會造成混淆之虞(likelihood of confusion) ,誤導消費者的購買決定。
d.公告和異議
在多數國家,申請者的商標順利經審查員檢視後,會發表在官方公報或期刊。若第三方反對該項商標申請,可在發表後的規定期限內向商標局提出異議。一旦在規定期限內,無人提出異議,或是提出的異議經裁定不成立,商標就算成功註冊,並且生效。
e.證書
商標一旦註冊成功,商標局會簽發證書,授予申請者。證書的有效期限一般為10年。
在馬來西亞,國內貿易及消費人事務部(貿消部)屬下的商標局負責管理商標注冊、轉讓註冊、續展註冊、變更、補證、評審及其他有關事項。商標局也負責刊登《商標公告》于憲報(GAZETTE)上,刊載註冊商標及有關注冊事項。申請商標註冊,應該依據1997年商標條文(TRADEMARK REGULATION 1997)公布的商品分類表按類別申請。每一分商標註冊申請應向商標局呈交《商標註冊申請書》(即TM5)5份,商標圖祥5份,宣誓書(STATUTORY DECLARATION)1 份。商標圖祥必須清晰,圖樣的長和寬應不大于5厘米,不小于2厘米。商標註冊的申請日期,以商標局收到申請書的日期為準。申請手續完整並按照規定填寫申請書者,商標局將配發申請編號。手續不完整或不按照規定填寫申請書的,有關申請將被退回。商標註冊申請一旦被商標當局核準,將發出《商標註冊證》(CERTIFICATE OF REGISTRATION),予以公告。
我國政府很重視知識產權的管理和監督事宜,因此馬來西亞知識產權局在2014年12月28日發出一項警告啟事。因為商標在未經註冊下標上註冊商標符號®,或任何形式聲明為註冊商標,己經違反1976年商標法第81條文,其擁有者一旦罪成可被罰款不超過馬幣500令吉或監禁不超過2個月,或兩者兼施。馬來西亞知識產權局是一所負責管理和監督國內所有知識產權事宜及有關法律實施和執行的法定機構,它嚴謹看待此事,並鄭重警告如有任何團体或商戶或相關單位已在其非註冊商標下標上註冊商標符號,或任何形式聲明為註冊商標,必須向該局提出註冊商標申請以避免違反以上法令條文,受到法律對付。
文: 知識產權企業家協會AIPO主席/PINTAS董事: 駱俊宏律師
29
Jul, 2015
Time Inc. v Li San Zhong [2014] SGIPOS 14 In this case, Time Inc. (hereinafter referred to as “the Applicants”) applied for a declaration of invalidity for the Trade Mark (Subject Mark). The Registered Proprietor of the Subject Mark is Li San Zhong (hereinafter referred to as “the Proprietor”). The Subject Mark was registered in...
read the rest
In this case, Time Inc. (hereinafter referred to as “the Applicants”) applied for a declaration of invalidity for the Trade Mark (Subject Mark). The Registered Proprietor of the Subject Mark is Li San Zhong (hereinafter referred to as “the Proprietor”). The Subject Mark was registered in Class 16 in respect of “Books; educational materials (other than apparatus) for use in teaching; printed programmes; printed publications; calendars; cards; magazines (periodicals); newsletters; patterned stationery; patterns for embroidery; periodic publications; periodical magazines; posters; printed patterns; printed periodical publications”.
This invalidation was sought based on the reason that the Subject Mark contained two of the Applicants most famous trademarks being “FORTUNE” and “TIME” which would therefore cause confusion amongst the public and hence it was registered as bad faith.
In Singapore, the assessment of marks’ similarity adopted is mark-for-mark without consideration of any external matter, ie comparing “FORTUNE” and “TIME” individually with the Subject Mark. Upon doing so, both of the comparisons were not found to be similar as a whole.
Apart from that, the Applicants could not discharge their burden of proof by establishing a likelihood of confusion. As the Applicants’ marks are used on magazines, the content of the magazines would therefore be the paramount consideration for the consumers. That being said, the prospective consumers would carefully select their reading material before purchase.
In order for the Applicant’s Marks to be deemed as well known in Singapore, it need only be well known to the relevant sector of the public in Singapore. The Principal Assistant Registrar in this case agrees with the Applicant’s submission that relevant sector of the public would be actual and potential consumers in Singapore of magazines such as the Applicants’ FORTUNE magazine and TIME magazine. These include business people, both locals and foreigners; and the adult population in Singapore that is interested in financial matters and current affairs.
Despite the Applicant’s well known reputation, it is found that the competing marks are not confusingly similar and therefore the Applicants’ interests could not be damaged. Hence the use of the Subject Mark would unlikely damage the Applicants’ interests.
The Applicants’ also submitted that the reason the Subject Mark was chosen was to confuse customers into thinking that there is an association between the Subject Mark and the Applicants. This allegation was however not supported by sufficient evidence. Apart from mere allegations, it was found to be of no basis to conclude that the Subject Mark was made in bad faith. Furthermore, the Applicants have not demonstrated clearly on how the application to register the Subject Mark was made in bad faith.
In conclusion, apart from the Applicants’ bare assertions, there is no sufficient evidence to show that the acts of the Proprietor falls below the standard of commercial behavior of the reasonable men in this particular trade of business. The invalidation of the Subject Mark was held to be invalid and the Subject Mark therefore shall remain on the register.
02
Feb, 2015
FUKUYAMA AUTOMATION SDN BHD v. XIN XIN ENGINEERING SDN BHD & ANOR (2014) This action involves an alleged infringement of Malaysian Patent No.MY-124182-A (“the Malaysian Patent”). It was held by the High Court of Malaya in Shah Alam, Selangor Malaysia that the Malaysian Patent lacks novelty and therefore, invalid. The Malaysian Patent registered under...
read the rest
FUKUYAMA AUTOMATION SDN BHD v. XIN XIN ENGINEERING SDN BHD & ANOR (2014)
This action involves an alleged infringement of Malaysian Patent No.MY-124182-A (“the Malaysian Patent”). It was held by the High Court of Malaya in Shah Alam, Selangor Malaysia that the Malaysian Patent lacks novelty and therefore, invalid.
The Malaysian Patent registered under Fukuyama Netukan Co. Pte Ltd. was acquired by a Malaysian company, Fukuyama Automation Sdn Bhd (hereinafter referred to as “the Plaintiff”). The Plaintiff deals with manufacturing, sale and installation of glove stripping machines. In order to inform the general public of the patent, the Plaintiff took steps by way of advertisement and further issued a notice warning of potential infringement of the patent for any unauthorized acts in relation to the patent.
The Defendants also a Malaysian company, known as Xin Xin Engineering Sdn. Bhd. (hereinafter referred to as “the 1st Defendant) and Wong Thiam Fook (hereinafter referred to as “the 2nd Defendant) who is the director and shareholder of the 1st Defendant.
Initially the Plaintiffs secured a deal to supply their auto stripping machines to Top Glove, it was however discontinued afterwards. It was later discovered by the Plaintiff that the Defendants were selling auto stripping machines to Top Glove at a lower price. Hence the Plaintiff claims that as a result of the Defendant’s infringement on the patent by producing, manufacturing, supplying and offering the auto stripping machines with similar features, it is difficult for the Plaintiff to penetrate into the Malaysia market due to fierce competition from the Defendant.
The plaintiff also alleged that based on a visit to MyIPO’s website, it was discovered that the Defendants are attempting to register for a patent for an invention titled “Apparatus and Method for Unmoulding a Flexible Film Article” which consists of similar features in respect of the Plaintiff’s granted patent.
On the other hand, based on the reason of lacking novelty, the Defendants filed a counter claim for the revocation of the Malaysian Patent. This is due to the fact that a Japanese Patent No. 2812353 (hereinafter referred to as “the Japanese Patent”) is of resemblance to the Malaysian Patent. A very important point raised by the Defendant was that this Japanese Patent was published in 1995 whereas the Malaysian Patent was filed in 1998, hence it should not be considered as novel and if so, there would not be an infringement.
It was argued by the Plaintiff that the Malaysian Patent may be similar to the Japanese Patent, it is however not identical as there were many differences in terms of its technicality.
To establish a stronger case, the Defendants included expert witnesses such as industry experts and patent experts. It has been agreed by the experts that due to the lack of novelty in the Malaysian Patent, the Defendants could not have infringed the Malaysian Patent.
It was held by the court that in view of the Japanese application prior art, the Malaysian Patent is not novel. The Plaintiff has failed to prove its case on the balance of probabilities. Furthermore, the differences between the Malaysian and Japanese Patent pointed out by the Plaintiff were not sound upon examining the evidences. The court therefore declared the Malaysian Patent to be invalid and ordered a sum of RM50,000 to be paid to the Defendants by the Plaintiff.
02
Feb, 2015
SINGAPORE APPROVES COPYRIGHT ACT AMENDMENT Keeping in line with its 10-year goal of being an IP hub for Asia, the Parliament of Singapore has approved an amendment to the Copyright Act which came into force end of August 2014. The Copyright (Amendment) 2014 Bill allow rights holders to seek injunctions directly from the courts to...
read the rest
SINGAPORE APPROVES COPYRIGHT ACT AMENDMENT
Keeping in line with its 10-year goal of being an IP hub for Asia, the Parliament of Singapore has approved an amendment to the Copyright Act which came into force end of August 2014. The Copyright (Amendment) 2014 Bill allow rights holders to seek injunctions directly from the courts to have the internet service providers (ISPs) block websites that clearly and blatantly infringe the IP of the rights holders. Examples of ISPs would be SingTel, M1 and MyRepublic, where as examples of “flagrantly infringing online location” as defined under S193A of the amended Copyright Act would be The Pirate Bay and KickAssTorrent.
The amendment aims to curb the issue of online piracy which is a prevalent problem across Southeast Asia and at the same time, to strengthen the IP regime in Singapore. Under the current Copyright Act, “take down” notices could be issued by the rights holders to the ISPs and network service providers (NSPs) requesting them to remove or to block access to the infringing sites. After the amendment, should the ISP fail to respond to the requests made, the rights holders could sue the ISP for copyright infringement or apply directly to the court for an injunction against the ISP.
Aimed at strengthening the rights of copyright holders, applications for injunctions (blocking orders) under the amended Act could only be made by the rights holders or their exclusive licensees. Although the injunctions are permanent, the ISPs are given the opportunity to contest such actions and apply for the courts to overturn the injunctions granted. This expectation is viewed to be as limited as the Bill is targeted at websites that obviously shows no regard and clearly infringes copyrights. It has also been stated by the Ministry that legitimate search engines and content sharing sites such as Google and YouTube will not be affected.
The Ministry further states that, “Online piracy is a global issue. According to studies commissioned by rights holders, there is a high level of consumption of online copyright infringing content in Singapore. This adversely affects Singapore’s creative sector and the livelihoods of people working in these industries. It also undermines our reputation as an economy that respects the protection of intellectual property.”
Upon the Parliament approving the amendment, this move has been welcomed by copyright holders with open arms not just in Singapore but also internationally. Similar approaches against online piracy have been adopted in countries such as UK, Norway and Belgium although there are cases of mixed responses. However the case, the option for such action available to copyright owners is still a valuable one for the betterment of copyright protection across the nation.
01
Feb, 2015
MONETIZATING YOUR PATENTS A company’s Intellectual Property (“IP”) is an important and valuable asset to the company. The definition of IP ranges from the company’s trademarked logo or brand, the patents it has over its discoveries and inventions, the copyright to its designs and creations as well as design patents over its product’s physical look...
read the rest
MONETIZATING YOUR PATENTS
A company’s Intellectual Property (“IP”) is an important and valuable asset to the company. The definition of IP ranges from the company’s trademarked logo or brand, the patents it has over its discoveries and inventions, the copyright to its designs and creations as well as design patents over its product’s physical look. There is a possible exclusion from other companies of the same market given to the patent owners.
As the current developing world is expanding its awareness on intellectual property, companies that are merely using their IP’s either via patents, copyrights or trademarks as a passive deterrent against litigation against competitors are not making full use of the assets that they are. Not only can a company’s IP be utilized for monetization purposes, it should be as well because one of the main advantages is that it can generate revenue for the company. It is vital to commercialize patents in the most profitable way as possible. Below we shall touch on several ways of monetizing one’s corporate patent portfolio.
Several methods a company can monetize their IP:
I. Cross licensing patents – especially with other companies to produce improved or better versions of an existing product. Cross licensing helps to reduce the fees one needs to pay for the licensed use of another’s patents. Normally, in order to avoid litigation or to settle an infringement dispute, two parties would enter into this type of agreement.
II. Identify either to sell or license patents that have no, or no longer have, any functional use to the company, of which sale of the patent will not affect the business goals of the company. A patent’s value should be optimized. Maintaining a pool of patents that are just sitting on a shelf is underutilizing their worth and adding unnecessary cost to the company’s ledger in keeping the IP registered.
III. Identify infringers of one’s patents and other IP, by which proper response strategies can then be considered either by initiating enforcement litigation or licensing offers.
IV. Consider using the registered IP for financing, either from third party institutions or as collateral for loans from standard financial institutions. In some countries like Malaysia and Singapore, their respective Governments have implemented IP related grants and incentives to companies seeking to monetize their IP. These opportunities should be taken as a means to further capitalize one’s company in making the IP generate income actively.
The methods above are not a comprehensive list to consider in planning to monetize patents but rather a guideline. It is advised to consult an IP attorney or IP Agent specialized in IP monetization to have a better understanding, a proper plan and implementation on the company’s IP monetization strategy.
01
Feb, 2015
FASTRACK ON IP SETTLEMENTS IN SINGAPORE As of 1st April 2014, Singapore companies and entrepreneurs are able to refer to a new option for patent disputes known as ‘expert determination’, an addition to the three existing modes of Alternative Dispute Resolution (ADR) – negotiation, mediation and arbitration. Disputing parties may use expert determination on its...
read the rest
FASTRACK ON IP SETTLEMENTS IN SINGAPORE
As of 1st April 2014, Singapore companies and entrepreneurs are able to refer to a new option for patent disputes known as ‘expert determination’, an addition to the three existing modes of Alternative Dispute Resolution (ADR) – negotiation, mediation and arbitration. Disputing parties may use expert determination on its own or in conjunction with other ADR modes. The Intellectual Property Office of Singapore (IPOS) is working with the World Intellectual Property Organization’s Arbitration and Mediation Centre (WIPO AMC) in allowing disputing parties to submit issues such as entitlement disputes or patent revocations to an expert of their choice to make an assessment as such cases involve complex technical or scientific details.
This has allowed for cheaper and faster options to IP dispute resolutions for the parties involved. Geneva-based WIPO AMC will be assisting IPOS with the appointing of suitable experts upon consultation with the disputing parties. These experts are chosen from WIPO AMC’s panel of experts from around the world including those that are based in Singapore, where each have specialized knowledge relevant to IP issues such as entitlement disputes, inventorship and patent revocation.
The experts’ decisions are generally taken as to be binding unless the parties agree otherwise. Not only it would be more cost effective as it could only take up to S$6,000 per case of which the fees go towards the experts and WIPO AMC, it is also less time consuming as expert determination takes only either 60, 90 or 120 days to conclude as compared to the previous one year timeline. Both the binding clause and the period for expert determination procedure will be included in the Agreement and Request for WIPO Expert Determination. If the parties require more time than the period specified, they may apply for an extension by providing reasons and information required as stated in Article 5(b) of the WIPO Expert Determination Rules to the Registrar.
As it can be seen, all of these are done in line with Singapore’s 10-year goal in developing local IP as well as making it the preeminent IP Hub in the Southeast Asia region. In fact IPOS has become the first IP Office in Southeast Asia to be appointed an International Authority in Patent Search and Examination effective early this year.
As quoted by Dr, Francis Gurry, the Director-General of WIPO, “The introduction of the expert determination option reinforces the strong collaborative relationship between WIPO and IPOS. This shared commitment to facilitate the resolution of IP disputes which may arise throughout the whole innovation life cycle will definitely benefit IP users, owners and creators.”
01
Feb, 2015
品牌顯著性和新颖性 (2) 一个品牌要被成功注册为商标,除了需要符合顯著性的要求,也须具備新颖性条件。換言之,商标申请人须是首位在有关国家商标局,针对相关商标类别,为其品牌提出商标申请者。 商標新颖性 對于兩個以上申請人以相同或相似的商標申請在同一商品服務類別上的申請案,商标局基本上是采取先注冊的原則,即商標屬于該商標的首先注冊人所有...
read the rest
品牌顯著性和新颖性 (1)
知识产权企业家公会 (AIPO) 主席
PINTAS IP GROUP骆俊宏董事律师
商家都知道利用商標建立消費者對品牌的認知,有助企業達到設定的商業目標或營業額。但是企業到底該如何選擇商標,才能在主要市場保护好其品牌,這是每个有心创立自身品牌的商家所关注的课题。
商標顯著性
要成功注册一个商标,就必须符合商标顯著性的条件。一個商標使用的文字、圖祥或者其組合,都應當有顯著特征,易于辨別(DISTINCTIVE),方可被商標注冊官批準。
若要註冊商標,首要禁忌就是模仿。也就是說,你的商標設計必須與眾不同,讓大眾一眼就能辨識你的產品。若你的商標只有文字,切記不要使用通常用語作為商標。例如雞飯、家具、咖啡都是通常用語,消費者無法憑藉這些文字區別商家。
在選擇或設計新商標時,必須考量各種因素,像是使用的語言是否為大家所熟悉、圖案的顏色有無象徵某一文化、能否滿足印刷技術或符合商標法法規等等。若企業事先考慮周全,可以省卻日後金錢和時間上的損失。以下三項重點供企業參考,作為設計或選擇商標時的依據。
1.1 法律要求
檢視商標是否符合商標法的條規,查看有無出現欺騙或仿冒之嫌而導致無法註冊商標。
1.2 語言要求
設計或選擇便於閱讀、拼寫、記憶和檢索,且適用於各類型廣告媒體的文字商標。一個強而有力的商標名稱不應該過於通俗,好讓大家一眼就能辨識。依據商標的顯著性,又可分為以下幾種:
a. 原創商標 (Invented Word)
原創商標指一些原先不存在,後來被創造的名稱。這些自創且沒有實際意義的名詞最常被企業用作商標,著名的例子包括谷歌(Google)和索尼(Sony)。
b. 恣意商標 ( Arbitrary Word)
恣意商標是指和產品毫無相關的的名詞,不能用以形容產品本身或描述產品的特質。例如蘋果(Apple)的手機和電腦,或是微軟(Windows)的軟體。使用恣意商標的企業通常需要在廣告宣傳投入更多資金,向消費者強調產品和商標之間的連結。
c. 暗示商標 (Suggestive Word)
暗示商標指那些間接形容產品的名詞,如Nescafe(雀巢)的cafe讓人聯想到咖啡,或斯沃琪(Swatch)的watch讓人察覺到是手錶產品。相較於恣意商標,暗示商標更容易運用在各種型式的廣告媒介上,因為消費者能夠迅速記得商標和產品的連結。
d. 描述商標或通用商標 ( Descriptive Word)
描述商標或通用商標是指直接描述產品的名稱,且為大眾慣用的詞彙,如“鬆軟”麵包。若要藉著註冊商標,將這些通常用語占為己有,取得壟斷權,是一件難事。企業應該儘量避免使用這些詞彙作為商標。
1.3 正面含意
確保使用的商標名稱或設計在國內外皆不帶有負面含意,或令人產生不良或消極的聯想。COCA COLA之中文翻译 “可口可乐”是一个好的品牌,因为它突出了令人振奋的正面含意。
儘管如此,有些條件下,通常用語還是可以做為商標的。舉例來說,一家已經售賣咖啡多年的商家,其店名為「怡保舊街場白咖啡」,儘管「怡保舊街埸」這個詞非常普遍,但是由於商家已沿用這個名字許久,大家只要提及,就立即知道是指涉這一特定店家,那「怡保舊街塲白咖啡」就可作為商標,因為它單單不是店名,還具有識別的功能。
好品牌、值千金。商家们在遴選商标之际,要关注商标的顯著性,才能加强其品牌的法律保护力度。好的开始,是成功的一半,选擇顯著性的品牌作为商标,是商家们建立品牌长远價值的重要第一步。
06
Jan, 2015
品牌顯著性和新颖性 (1) 知识产权企业家公会 (AIPO) 主席 PINTAS IP GROUP骆俊宏董事律师 商家都知道利用商標建立消費者對品牌的認知,有助企業達到設定的商業目標或營業額。但是企業到底該如何選擇商標,才能在主要市場保护好其品牌...
read the rest
品牌顯著性和新颖性 (2)
一个品牌要被成功注册为商标,除了需要符合顯著性的要求,也须具備新颖性条件。換言之,商标申请人须是首位在有关国家商标局,针对相关商标类别,为其品牌提出商标申请者。
商標新颖性
對于兩個以上申請人以相同或相似的商標申請在同一商品服務類別上的申請案,商标局基本上是采取先注冊的原則,即商標屬于該商標的首先注冊人所有。
企业需要事先搜索商標,確保不會在相同商標類別,申請相同或類似的商標,進而誤導消費者。一般而言,企業最好至少設計或選擇三款商標,並搜尋所有相關的資料庫、查找字典瞭解是否在某一語言中出現類似字眼,或是調查市場上是否有他人已經使用類似商標。
企業到底該如何選擇商標,与及在最短時間內抓緊消費者的目光,並且讓大眾過目不忘呢?我们可以从恒源祥的成功例子得到啟示。
商標的故事
恒源祥致力为商标增值,有助事业稳健发展
恆源祥,中國絨線製造業老字號,創始於1927年,在大眾認定絨線製造業為夕陽產業的聲音中異軍突起,凸顯不凡的運營能力。
回溯初成立的60年,恆源祥只不過是上海一家面積不到180平方公尺的小商店。1987年,劉瑞旗出任恆源祥總經理。接手後,他發現恆源祥資金短缺、生產車間過少、市場資源匱乏,唯一值錢的只剩恆源祥這一老字號。於是,他決定以恆源祥品牌為中心,調動有形資產,整合資源,迅速擴展規模。
劉瑞旗意識到商標對於企業永續經營的重要性,恆源祥的商標唯有不斷使用才會不斷增值,擱置一旁則分文不值。他為恆源祥註冊了商標,並且為了使之更加引人註目且容易辨識,便在文字旁附加了女孩的頭像。
同時,劉瑞旗積極尋找合作夥伴,擴展市場通路。過程中,憑藉恆源祥這一為世所知的品牌,許多經商者皆透露合作意願,劉瑞旗從中擇一合作,大力生產,將所有製成品都冠上恆源祥的名字。此舉大大湊效,不僅減少了宣傳費用,也降低了內部支出,取得空前成功。
劉瑞旗有感商標所帶來的龐大商機,決定投入更多金錢與精力,利用這一知識產權創造更多經濟收益。他放眼國際市場,於是在2008年提出馬德裏協定(Madrid system)國際註冊之申請,在多國取得商標權。
除此之外,恆源祥也拍攝了一系列令人印象深刻的廣告。1992年,恆源祥獨創了五秒廣告,將十五秒的廣告分成三段,在熱播電視劇的片頭、片中、片尾各播一次。廣告十分簡潔,僅出現恆源祥三個字的剪影,再配上「恒源祥」的聲音。播出後,儘管觀眾反應褒貶不一,但都記住了這個品牌。隨後,恆源祥又使用了「恆源祥,羊羊羊」作為廣告詞,成為街聞巷知的標語,令人輕易將恆源祥及羊毛衫、羊絨衫等產品聯結在一起。
儘管恆源祥的廣告詞深入民心,卻因中國仍未設立健全的制度,以致一直無法申請聲音商標。綜觀全球,著名的聲音商標就包括了英特爾(Intel)的「Intel Inside」、摩托羅拉(Motorola)的「Hello Moto」,及米高梅(MGM)影片片頭的獅吼聲等等。隨著中國國家工商行政管理總局商標局於2010年8月提出修改商標法,企業有望當局受理聲音商標的註冊。於是,恆源祥今年5月指定國際感官研究中心進行商標與廣告認知的相關研究,冀望未來能夠順利為其「恆源祥,羊羊羊」廣告詞註冊聲音商標。
走過80余載,恆源祥儘管也如同其他老字號,歷經衰退的低谷,卻能重新振奮,在國內站穩腳步,隨後打入國際市場,躍升為今日耀眼的世界級紡織業龍頭,這段成功故事背後的核心在於企業深知商標的價值,懂得將商標作為堅強的後盾來發展事業。
06
Jan, 2015
IPOTENTIAL NEWSFEED 08042014 TRADEMARK IN CHINA As the world’s second biggest economy, many companies and corporations are turning their attention to China in setting up businesses and selling their products in the expanding market there. Many, however, find that their product entry into China has been problematic at times with that emerging local trend...
read the rest
As the world’s second biggest economy, many companies and corporations are turning their attention to China in setting up businesses and selling their products in the expanding market there. Many, however, find that their product entry into China has been problematic at times with that emerging local trend of “trademark squatting” by unscrupulous Chinese firms.
These “trademark squatters” operate by registering internationally known and recognized brands in China then demanding big pay offs when the original brand owners seek to enter the market. As China, like certain countries in South America practices the “first to file” rule where recognized ownership of the trademark is granted to the person that register’s it first, even if that mark has been in use by others for years in China. This system has been open to abuse by many companies seeking to have a free ride at the expense of the foreign, more established and actual brand owners and their own local businesses.
One such famous case is where the business giant, Apple, had to pay a Shenzen based firm that had registered the “iPad” trademark before Apple’s entry into the economic giant’s market, a whooping US$60 million to reclaim its trademark. Though one may regain one’s rightful trademark through the courts, the process is indeed lengthy and of course expensive. Given the nature of one’s product and product lifespan a settlement could be the preferable though definitely unwanted solution for the reclaiming of the mark.
As such any entity that has any interest or eventual plan to enter into China’s market should plan and register their trademarks and brands there at the earliest opportunity. Prevention in these case is safer and in the long run, financially cheaper than a prolonged legal battle at the courts to invalidate a trademark squatter’s hijack of their brand.
Another factor businesses need to consider very seriously besides is the transliterations of their brands into Chinese characters as English and other foreign languages would be difficult for the local populace to pronounce and recognize. The Chinese Trade Mark Office insists on a full translation of a foreign brand name into Chinese if the company has no prior trademark records in China.
Brand owners are advised to consider multiple versions of the Chinese character trademark for different markets like China, Hong Kong and Taiwan, where different Chinese dialects are used, eg. Mandarin and Cantonese while keeping consistency to the font style and overall design. This is to reduce the chances of trademark squatting by opportunistic local business firms.
With the revisions of the Chinese Trade Mark Law coming into effect as of 1 May 2014, a number of issues concerning trademark squatting will be addressed and thus make this issue less prevalent than it is now. Among the changes brought to effect is the introduction of a “bad faith application” which lays down a broad principle that all trademark must be applied and used in accordance with the principles of honesty and integrity.
It is always recommended that any business company that wishes to file their trademarks in China to seek professional assistance from local IP professionals to better understand the IP ecosystem of the country.
Download
10
Apr, 2014
WIPO Infographics 2013...
Download
10
Apr, 2014
ASEAN IP STATISTICAL HANDBOOK...
Download
31
Mar, 2014
Summary of changes and updates to the Malaysian Industrial Design (Amendment) Regulations brought in force on 1st July 2013. The Malaysian Industrial Designs (Amendment) Act 2013 was published in the Gazette on 22nd January 2013 and came into force on 1st July 2013. The changes involved now bring Malaysian law closer into line with international jurisdictions like those...
read the rest
Summary of changes and updates to the Malaysian Industrial Design (Amendment) Regulations brought in force on 1st July 2013.
The Malaysian Industrial Designs (Amendment) Act 2013 was published in the Gazette on 22nd January 2013 and came into force on 1st July 2013. The changes involved now bring Malaysian law closer into line with international jurisdictions like those of the United States and EU administration.
The old law, the Malaysian Designs Act 1996 will still govern any pending design applications but the new Industrial Designs (Amendment) Act 2013 will apply to all designs filed from July 2013.
The new law bring with it the following changes. The previous standard of only having local novelty satisfied for design registration has been broadened to worldwide novelty. This has thus made the issuance of a registration more stringent with international standards. As such a design shall not be considered as “new” if it has been disclosed anywhere else in the world before the priory or application date.
Note however that an industrial design is not considered “disclosed to public” if within 6 months preceding the filing date of application, the design appears in an official or officially recognized exhibition where the design was disclosed by a person other than the applicant as the result of an unlawful act committed by said third party.
With the new amendment, payment of fees for renewal to extend the term of protection of a design can now be made at any time prior to expiry rather than the previous, 6 months before the 5 year expiry limit.
In addition, any industrial design registered before 1st July 2013 can now be extended to 25 years instead of the previous 15 years. The terms of registration for all registrations after 1st of July 2013 is now set at a 5 year initial protection period that is extendable for another further 4 consecutive terms of 5 years each, upon payment of renewal fees.
An additional feature the amendment brings is that provisions are now placed to recognize a design as a personal property. This means a registered design may be treated in the same manner as any personal or moveable property. As such a registered design may be used as a security interest in the same way as other personal property. This would make a design more valuable in terms of securing financing to grow or invest in any entity. Third parties may check with the records of the Register to see if a design has been sold or charged to a bank.
Following the Industrial Design (Amendment) Regulation 2013, is the introduction of new ID forms to which all applications, proceedings relating to the Industrial Designs Act must be used as all application forms prior to 1st July 2013 will no longer be accepted.
05
Mar, 2014
The Patents (Amendments) Act 2012 came into force on 14th February 2014, bringing with it some fundamental changes to the Singapore patent practice. It aims to solidify Singapore’s intellectual property (IP) system while expanding it to enhance Singapore’s reputation as a leading IP hub in the Asian region. It also aligns Singapore’s patent prosecution processes with those of other...
read the rest
The Patents (Amendments) Act 2012 came into force on 14th February 2014, bringing with it some fundamental changes to the Singapore patent practice. It aims to solidify Singapore’s intellectual property (IP) system while expanding it to enhance Singapore’s reputation as a leading IP hub in the Asian region. It also aligns Singapore’s patent prosecution processes with those of other established intellectual property administrations like the European Patent Office as well as those of the US, UK and Japan offices. These changes are expected to improve the quality of Singapore granted patents and strengthen business and investor confidence in the Singapore IP administration.
Passed by Parliament on 10th July 2012, the Act amends Singapore’s Patent Act (Chapter 221) and bring with it the following key changes.
The most significant amendment is the change from a “self-assessment” patent system to a new “positive grant” patent system. Under the “self-assessment” system, a patent applicant is under no obligation to amend the application in any stage, even in the case of an adverse examination and/or report. Once the formal requirements are met and upon completion of the search and examination procedures chosen for the application, a Singapore patent will be issued, as such the establishment of an adverse examination report with objections to novelty or inventive step, will not prevent an application of proceeding to grant.
The new “positive grant” system requires all patent applications to have fully positive results before it can proceed to grant. This means the application must fully satisfy Section 13 of the Patents Act where the substantive patentability criteria of novelty, inventive step and industrial application in order to grant.
Under the Amended Patents Act, Singapore’s dual-track system of the default “fast-track” and optional “slow-track” has been replaced with a single prosecution track with no provision for block extension of time. A request for examination deadline is fixed to a single deadline for requesting local examination of 36 months from the earliest priority date.
The deadline for submitting prescribed information on a foreign corresponding application is 54 months from the priority date. The “prescribed information” comprises a certificate of grant and a certified copy of the patent specification setting out the final results of search and examination and a copy of the claims allowed, together with verified English translations if required.
It also introduces a new supplementary examination process to ensure compliance with the new positive grant requirements. This applies to where modified examinations are used and not to local examinations. The introduction of Supplementary Examination will increase the cost, the complexity and time needed to obtain a patent in Singapore under the current examination but also increases the quality threshold of being granted a Singapore patent. The new patent application procedures are summarized in the tables annexed hereto as Appendix A and B respectively. Post-grant search and examination is not available under the new Amendments Act.
The Amendments Act will apply to all patent applications filed from 14th February 2014 as well as national phase applications that commence from that date. Existing patent applications filed on or before 13th February 2014 will be treated under the Singapore Patents Act in the form it existed before amendment. PCT applications which entered the Singapore national phase by 13th February 2014 date will be treated the same.
03
Mar, 2014
IPOTENTIAL NEWSFEED 02052014 SWEET CANDY MADNESS The US Patent and Trademark Office (UPTO) has recently approved the trademark application of mobile gaming giant King.com’s for “Candy” filed a year ago in February 2013. Without hesitation, King.com has already approached rival game developers who has used the word “candy” in their work and is politely encouraging them to stop...
read the rest
The US Patent and Trademark Office (UPTO) has recently approved the trademark application of mobile gaming giant King.com’s for “Candy” filed a year ago in February 2013. Without hesitation, King.com has already approached rival game developers who has used the word “candy” in their work and is politely encouraging them to stop surfing on the success of its addictive and highly lucrative game, “Candy Crush”.
Candy Crush as announced by King.com in November 2013 has been downloaded more than 500 million times across the various platforms on which the game is available on. The game was Apple’s single-most downloaded free app in 2013. As the company is a private one, no exact numbers on how much Candy Crush is earning through in-app purchases are available but estimates goes as high as USD$1 million a day!
As it goes in today’s app and game ecosystem it is a safe assumption that many game developers out there are more than willing to latch on to the sweet success King.com has achieved with Candy Crush and scrape off some of the market with games that do sound similar to the hit application. As an emerging market itself, the mobile app stores like the iOS app store and Google Play are open to many ‘enterprising bottom feeders’ to take advantage of this.
Following its success in trademarking “Candy”, King.com has filed an application to have the word “Saga” trademarked and is in opposition of another game developer, Stoic Studio’s recently released game “The Banner Saga”. In its Notice of Opposition filed at the UPTO, it is read “The Banner Saga Mark is confusing and deceptively similar to Opposer’s previously used Saga Marks. The use and registration of Applicant of the mark The Banner Saga for the Applicant’s goods is likely to cause confusion or to cause mistake or deception in the trade, and among purchasers and potential purchasers, with Opposer’s Saga Marks, again resulting in damage to Opposer”.
The very fact that The Banner Saga is a turn-based strategy game featuring Vikings for the PC platform and that Candy Crush Sage is a casual but addictive mobile game, this move by King.com doesn’t seem to make sense to t he general community and game developers the world over. The difference in game type and style between the two are like that between apples and oranges, making many wonder what canthe people at King.com be thinking of.
This trademark action has so angered many game developers that some have banded together and plan to protest it by producing lots of different games with the word “candy” in their titles. This protest has been called Candy Jam. Right now, more t han 100 games has been produced and are listed on the Candy Jam website with some games bearing names like “Candy Fight Saga” and “Candy Growth”.
Candy Jam has accused King.com of being a “bully” and that the Candy and Saga issue is no longer one about protecting one’s IP but rather and issue of “freedom and creativity”. What is ironic here is that Candy Crush recognized as being is nothing more than a reskinned version of Popcap’s “Bejeweled” games that was also popular at one time.
However given that in the game app industry, popular and commercially lucrative titles like Candy Crush do not come so often so we can expect to see more action from King.com to crush out the competition and keep the ‘candy’ close to home.
Download
10
Feb, 2014
IPOTENTIAL NEWSFEED 01272014 PATENT KINGS For the 20th year in the row, International Business Machines Corp (IBM) has come out tops as the highest patent winner of 2013. Data from IFI CLAIMS Patent Services, which tracks and analyzes patent data from the U.S Patent and Trademark Office, indicated that IBM earned a total of 6,809 patents in 2013. Coming...
read the rest
For the 20th year in the row, International Business Machines Corp (IBM) has come out tops as the highest patent winner of 2013. Data from IFI CLAIMS Patent Services, which tracks and analyzes patent data from the U.S Patent and Trademark Office, indicated that IBM earned a total of 6,809 patents in 2013.
Coming in second for most prolific patent winner is Samsung Electronics with 4676 patents in its portfolio. Coming in third and fourth is Canon with 3825 patents and Sony Corp with 3098 patents. Microsoft Corp is placed at fifth place winning 2660 patents in 2013.
What has captured the attention of industry experts is the leap from 21st place to 11th place by Google Inc with 1851 patent wins, up by 60% from its 2012 count of 1151. This is a significant rise among the ranks of the world’s top patent holders as Google only made it among the Top 50 chart in 2012. Another company with a significant increase is Apple Inc which comes in at 13th with 1775 patent wins, a rise from 22nd place in 2012 where it was behind Google by only 15 patents.
Overall, as industry experts have declared, 2013 has been a record year for patents where a staggering 277,835 utility patents were issued. This amount is a 10% increase over the amount Issued in 2012. A total of 27 of the top patent winners come from Asia while the US holds the record of second with 18 patents. Blackberry represents the only Canadian company in the top 50, coming in at 20th place with 1334 patent wins.
Download
28
Jan, 2014
IPOTENTIAL NEWSFEED 12232013 ASPEC PROGRAMME The first regional patent co-operation programme, the ASEAN Patent Co-Operation otherwise known as ASPEC, was launched in 2009 with the initial membership of Cambodia, Indonesia, LAO PDR, Malaysia, the Philippines, Singapore, Thailand and Vietnam. In 2012, Brunei Darussalam joined the ASPEC group further strengthening the programme. The ASPEC programme provides for the sharing...
read the rest
The first regional patent co-operation programme, the ASEAN Patent Co-Operation otherwise known as ASPEC, was launched in 2009 with the initial membership of Cambodia, Indonesia, LAO PDR, Malaysia, the Philippines, Singapore, Thailand and Vietnam. In 2012, Brunei Darussalam joined the ASPEC group further strengthening the programme.
The ASPEC programme provides for the sharing of search and examination results among the participating countries IP Offices which serves to help reduce duplication on the work thereby allowing for obtaining corresponding patents faster and more efficiently. This benefits entrepreneurs, SMEs, inventors and universities in obtaining patents for their innovations within the region.
The search and examination work done on a corresponding application by a participant IP Office also serves as a valuable reference to other participating ASEAN IP Offices. Patent examiners are also able to access information and assessments of prior art found in specific technical databases, local databases, and databases in other languages which an examiner may otherwise not have access to previously. This is possible as ASPEC works in the English language in all its participating ASEAN IP Offices. This standard helps patent examiners develop their search strategy more quickly and efficiently furthering their understanding of the claimed invention.
With the objective of reducing complexity, improving the quality of search and examinations and the increase of time savings, this equals to substantial cost savings, and ASPEC has achieved a measure of that goal in the region. This serves and benefits anyone interested in filing regionally in ASEAN.
An ASPEC requests can be filed at any participating ASEAN IP Office. To qualify for ASPEC, an applicant must have filed a corresponding patent application for the invention at any participating ASEAN IP Office and/or have search and examination documents issued by any one of the other participating ASEAN IP Offices with at least one claims determined to be patentable. A request for ASPEC can be done by simply filing a completed ASPEC Request Form and attaching all required documents.
Download
26
Dec, 2013
IPOTENTIAL NEWSFEED 12202013 IP MONETIZATION Intellectual Property (IP) has long been acknowledged as an asset of any enterprise but how often has that asset been put to full use in terms of monetizing it? As a form of proprietary technology, IP is worth protecting and safeguarding, the same as any other valuable corporate asset. But protection on...
read the rest
Intellectual Property (IP) has long been acknowledged as an asset of any enterprise but how often has that asset been put to full use in terms of monetizing it? As a form of proprietary technology, IP is worth protecting and safeguarding, the same as any other valuable corporate asset. But protection on one’s IP isn’t enough, it is also important to profit from that patent, making it generate income as any physical asset one may possess.
Monetizing IP is basically the process of deriving value from the process of development of the technology, a return on innovation so to say. In today’s competitive market of ideas and developing technology it has become a standard practice for companies to monetize their most valuable assets of the knowledge economy.
How does one monetize their IP? The methods are varied and depends on the nature and business model of the company.
Operating companies can monetize their IPs by exploiting them via licensing to other entities that may require the use of the technology in their businesses. A company with a sizeable patent portfolio can generate large amount of revenue from this method even without actually making use of the patent itself. Companies that hold patents but do not actually produce anything with it are called non-practicing entities (NPEs). Though NPEs have recently come to be viewed in a bad light due to unscrupulous business enterprises that have target all and sundry with lawsuits for infringements, it is still a valid method of monetizing one’s intellectual property.
Other methods of monetization include enforcement action against infringers of their IPs, either taking it through the courts or settlements. Some companies, notably practicing entities, find that as changes in their business initiative occurs, its IP becomes less valuable but potentially valuable to others. Thus it may be more profitable and practical for these companies to sell off those patents that no longer directed to their core-technology area. Doing so may generate income to further develop other business areas and possibly reduce operational cost in maintaining the patents itself.
It thus makes it apparent that with the different methods of monetizing one’s IP available, it is for the individuals, the inventors and entrepreneurs; the researchers and developers to ensure their ideas, their creativity and innovations are suitably protected in the first place so that they may then monetize on their intellectual property. Ensuring a return on their intellectual investments.
Download
26
Dec, 2013
IPOTENTIAL NEWSFEED 12162013 PATENT TROLLS One of the headline making news that has caught the attention of industry experts around the world is the US Senate’s rising interest in the proliferation of ‘patent trolls’ within recent years, and the criticism to the manner to which they seek to profit from the patents in their possession...
read the rest
One of the headline making news that has caught the attention of industry experts around the world is the US Senate’s rising interest in the proliferation of ‘patent trolls’ within recent years, and the criticism to the manner to which they seek to profit from the patents in their possession. ‘Patent trolls’ is a colloquialism that denotes what the patent holders rather prefer to be known as ‘patent-assertion entities’ (PAEs) or ‘non-practicing entities’ (NPEs). PAEs are companies, in some cases shell-companies, that hold the rights to various patents but do not produce anything from the patented technology. Instead they assert those said patents as their primary business model and it is whom they have targeted that has raised the ire of some high ranking US lawmakers.
This matter is serious enough that it is not only the US Senate that is looking to enact reforms to regulate the rise of these patent trolls but the European Union too has started to look into this issue.
Most NPEs demand a once off settlement or licensing fee from apparent patent infringers but there are others that demand more. Revenue sharing and equity stakes are among the most common demands especially from smaller entrepreneurships and businesses. NPEs target small or medium enterprises though some have gone after big name corporations like Microsoft and have walked away with settlements of undisclosed sums which range in the millions of dollars.
NPEs used to just target software and IT firms but what has caught the attention of the US Senate and a growing number of State Attorney Generals (AGs) is the increase of ‘troll assertion’ letters being sent to various businesses unrelated to patent law including a few charity organizations and in some cases individuals. If things has come to such a state, then action definitely needs to be taken to reign in what many of the recipients of patent assertion letters have called ‘blatant extortion’. It is because of such reprehensible actions that US Senators Patrick Leahy and Mike Lee have introduced a Bill, the Patent Transparency and Improvements Act, to help reduce these frivolous lawsuits filed by predatory NPEs. The Innovation Act introduced by Rep. Bob Goodlatte has just been passed by the US Senate and though not “perfect”, it does help to increase transparency in patent cases and reduce patent troll legality.
Many NPEs use poorly written and broadly defined patents that border on being vague in their harassment of their chosen targets. As most of the businesses and companies are too small to afford a lengthy investigation and challenge in court and thus choose to settle. This is how many NPEs, especially the unscrupulous ones, monetize their patents.
Litigation studies carried out by PricewaterhouseCoopers in 2013 has indicated that though not as prolific as in the US where patent trolls take advantage of a problematic patent system, NPEs do target Asian enterprises. Calculations from figures over the last several years show the annual average damages awarded range from USD1.9 M – USD16.5 M, a not so small sum for many Asian businesses.
Some NPEs, like Acacia Research and Intellectual Ventures, in their defense state that they are merely protecting their property rights and demand what is only fair. One of the two most successful NPEs, Acacia claims that they are providing a much needed service to inventors and patent holders to partner with them in assisting them to assert their patent rights. They claim that many inventors and patent holders are individuals and small companies that are unable to maintain a lengthy pursuit against larger enterprises that will just delay till the patent holders run out of money. For their support, Acacia splits the licensing and settlement fees with their partners. It has been pointed out however that most NPEs do not share revenue with the inventors. They prefer to buy the patents from often failing and financially distressed companies.
Many tech investors and entrepreneurs, including the cofounder of Twitter Evan Williams and cofounder of Facebook Dustin Moskovitz, have asked the US Congress to reform the US patent system for what is widely acknowledge as being “broken” and benefits PAEs explaining in part to the rise of these patent assertion entities. New laws alone is insufficient to stop these NPEs from abusing the system, it needs to be fixed is the strong opinion of these technologist.
Right now time can only tell if the new Innovation Act and should it be passed, the Patent Transparency and Improvements Act will stem the rising tide of litigation and the abusive demand letters of patent trolls and assist in protecting innovation.
Download
17
Dec, 2013
Previously, copyright in any design which is capable of being registered under the Malaysian Industrial Designs Act 1996 (IDA), but which has not been so registered, ceases as soon as any article to which the design is applied is reproduced more than 50 times by an industrial process by the copyright owner or his licensee...
read the rest
Previously, copyright in any design which is capable of being registered under the Malaysian Industrial Designs Act 1996 (IDA), but which has not been so registered, ceases as soon as any article to which the design is applied is reproduced more than 50 times by an industrial process by the copyright owner or his licensee. This provision has now been deleted, thus affording copyright protection for unregistered designs. Note, however, that copyright does not subsist for registered designs under the IDA.
Download
10
Dec, 2013
IPOTENTIAL NEWSFEED 11222013 IP NUCLEAR WAR One of the biggest IP developments of the year – being likened by some as the ‘nuclear war’ of IP – is the recent spate of lawsuits brought on by the Rockstar consortium against Google, Samsung, LG Electronics, HTC, Huawei, Asustek, Pantech and ZTE Corp for patent infringements...
read the rest
One of the biggest IP developments of the year – being likened by some as the ‘nuclear war’ of IP – is the recent spate of lawsuits brought on by the Rockstar consortium against Google, Samsung, LG Electronics, HTC, Huawei, Asustek, Pantech and ZTE Corp for patent infringements. In 2011 the consortium, which is jointly owned by Apple, Blackberry, Ericsson, Microsoft and Sony, had purchased via auction some 6,000 patents from Nortel. Under the name Rockstar Bidco, the group purchased the 6,000 patents for the whopping sum of USD 4.5 billion from Nortel when the Canadian telecommunications giant went bankrupt, outbidding Google’s own bid of USD 4.4 billion. Industry experts expect that the fact that Google had made an unsuccessful bid for the Nortel patents will count against it as the case gets under way.
The barrage of patent lawsuits by Rockstar against Google, and essentially all of the major smartphone manufacturers that run on Google’s Android operating system, are based upon several alleged infringements of the Nortel patents. Seven lawsuits are currently being brought against Google for willful and continuous infringement of the now Rockstar-owned patents, dealing mostly on associative search engines. These lawsuits challenge Google’s core business model of covering technology that matches Internet search terms with paid advertising of its clients. Needless to say, this is a major threat to the entire business structure and operations of Google. The other lawsuits target the various Android manufacturers based upon specific patents and devices manufactured by the said companies. Critics have speculated that this is nothing more than an attempt to stem the rise of the Android operating system smartphones which competes fiercely with Apple and Microsoft’s respective operating systems, as well as the range of handheld communications devices released by other members of the Rockstar consortium.
Rockstar consortium itself does not produce anything of its own with the patents they hold. Legally defined as a ‘patent assertion entity’ (PAE), in intellectual property jargon the consortium is what is termed as a ‘non-practicing entity’. Referred to by critics as ‘patent trolls’, these PAEs have gained so much notoriety that a bill has been introduced in the US Senate by Senators Patrick Leahy and Mike Lee to make it harder for PAEs to file frivolous lawsuits.
The lawsuits were filed in the US District Court, Eastern District of Texas; it is the favoured place for patent trolls to file lawsuits. This move has the general IP community questioning Rockstar’s sincerity in the issue. The US District Court of Eastern District of Texas is notorious for being ‘troll’ friendly. Google will find that itself unable to file any counter-suits against Rockstar due to the fact that the consortium doesn’t produce anything and has thus not violated any patent laws, even though it’s composite members may.
Given that Google and others are more than capable of facing this Rockstar giant in court, one can only sit and wait to see how the future of Android-operated smartphones will be shaped by this. The decision of these lawsuits, whether for or against Google and the rest of the Android ecosystem, is likely to shape the future of the smartphone in years to come.
Download
28
Nov, 2013
IP RELATED GRANT SCHEME BY MALAYSIA GOVERNMENT 2013...
Download
14
Oct, 2013
IP FINANCE SCHEME FOR IP OWNERS MALAYSIA 2013...
Download
01
Oct, 2013
提高知识产权保护意识...
Download
28
Mar, 2012
Pitfall No.6: Are You Infringing The Rights of Others? When you introduce your products or services into a new market/country your run the risk of infringing on other’s IP rights. The trade mark that you are using may have already being registered (refer to Pitfall No.1 and No.2). The technology in your products may belong...
read the rest
Pitfall No.6: Are You Infringing The Rights of Others?
When you introduce your products or services into a new market/country your run the risk of infringing on other’s IP rights. The trade mark that you are using may have already being registered (refer to Pitfall No.1 and No.2). The technology in your products may belong to another party who holds the patent in that country. A good example of this, is the long running skirmishes wryly termed the “Clash of the Titans” between Apple, Samsung and HTC, where the parties sue each other for allegedly infringing their patent. Apple went so far as to obtain a preliminary injunction against sales of the Galaxy Tab 10.1 in every EU country apart from the Netherlands, which was subsequently limited to only the German market.
Solution: A professional search should be carried out within the IP database of the country where you intend to enter your products/services into in order to ascertain the legality of your imports. And if there is no prior right being registered, proceed to register your IPs immediately.
Pitfall No.7:Deadlines; The Ticking Time Bomb.
Can’t imagine being late for your first date. You could do worse by missing a deadline for your IP application. Almost every IP application/ registration/proceeding has deadlines, however, different IP Offices will allocate different time period for you to take the necessary actions. These periods range from 2 weeks to 2 years. Therefore, keeping track of those deadlines is crucial to the survival of your IP Rights. While certain IP Regulations are more lenient towards the late comers with grace periods of certain lengths (although often with a handsome penalty fee); other IP Regulations are more draconian in that missing a deadline means your IP is “as dead as a Dodo”.
Solution: Write down the deadlines in your diary, stick yellow notepads everywhere. However it is advisable to have a professional IP firm take care of your IP. This way you can sleep easier at night without having to worry about your deadlines.
Pitfall No.8: Early Disclosure of Your IP Rights Without Protection=Charity
Would you buy a car and give away the key to anyone? Not unless you are Oprah Winfrey. Disclosing your IP before you protect it is one of the most charitable acts known to men. By unveiling your invention to the public before you file for patent protection you may jeopardize your chances of getting a patent registration. It would also be a good opportunity for copycats to copy your technology while you have no locus standi (legal standing) to take any legal action. The same applies to trade mark as well.
Solution: Register your IP as soon as they are created and preferably before you show it to the public, unless you are feeling particularly charitable.
Pitfall No.9: The International IP Systems That You Could and Should Be Using
If you are planning to expand your business into several countries, then instead of filing yout IP in each individual country, it may be advisable to make use of several International IP Systems/Mechanisms available to simultaneously apply/register your IP in various countries. International filing systems like the Madrid Protocol (84 countries) for trade marks, and PCT (144 countries) for patents should simplify your IP application process. Other systems like OHIM’s European Community Trade Mark (27 Countries) and the EPO’s European Patent will grant trade mark or patent registration.
Solution: Seek advice from an IP firm on which systems to use. This because the international systems can only be used to file your IPs in the countries which are members to the systems. And systems like the Madrid Protocol, may not make economic sense if you have less than 5 countries to apply to, due to the high basic fee that you will have to pay and the high exchange rate between the Swiss Franc and Ringgit.
Pitfall No.10: The Perils of Licensing/Assignment
One of the ways to exploit your IP rights is by licensing your IPs to another party. Licensing is akin to putting your IPs up for rent. However, such licensing will not be possible if your IPs are not filed/registered. Therefore if you are planning to set up or introduce your franchise in another country, you will have to register your trade mark before you can license the use of your trade mark to your franchisee. The same is true with Patent. You can also buy or sell IPs by assignments. In essence an assignment is a change of ownership, like selling a property. Certain countries will allow you to assign your IP rights after filing while other countries require your rights to be registered. In most countries, both licensing and assignments must be registered with the IP office in order for them to take effect. Many businesses have been caught out by forgetting to register their assignments/licenses, thus they end up paying good money for nothing.
Solution: Hire an IP firm to represent you in preparing the licensing/assignment agreement and also to register them with the IP office. In a merger or acquisition, take care to include a provision in your contract to deal specifically with the IP rights of the companies.
12
Jan, 2012
Changes for the 10th Edition ...
Download
12
Jan, 2012
Starting from 1 January 2012, most countries which are party to the Nice Agreement will be adopting the new I NTERNATIONAL CLASSIFICATION OF GOODS AND SERVICES UNDER THE NICE AGREEMENT TENTH EDITION. The new classification has seen numerous changes being made to the lists of goods and services. New items have been added to the...
read the rest
Starting from 1 January 2012, most countries which are party to the Nice Agreement will be adopting the new I NTERNATIONAL CLASSIFICATION OF GOODS AND SERVICES UNDER THE NICE AGREEMENT TENTH EDITION. The new classification has seen numerous changes being made to the lists of goods and services. New items have been added to the Classification as well as reclassification of multiple items in a bid to make the Nice Classification more user-friendly.
While the Nice Classification underwent substantial overhauling, in actual fact the most substantial changes have been made to the classification of dietary and nutritional supplements and food additives (primarily in classes 5, 29, 30, 31), video gaming apparatus (in classes 9 and 28), electrically powered goods (primarily in classes 7, 8, 9 and 21) and babies nappies/diapers (in classes 5, 16 and 25). Kindly refer to the following link for a comprehensive list detailing all the changes that have been made.
Another noteworthy change is pertaining to the frequency at which the Nice Classification will be updated. Starting from 1 January 2013 the Classification will be updated annually, with minor changes like addition of items and other minor tweaks.
Due to the major changes made to the classification, trade mark owners are likely to be affected. Certain countries will allow the owners to convert their trademark from the previous edition to the 10th edition, while in other countries, trademark owners may have to re-register their trademark in an additional class. For further details kindly contact our trade mark team for further clarification. Please direct your queries to Ms Sumathy at sumath@pintas-ip.com or Mr Teh at international@pintas-ip.com, alternatively you can call us at +603-2185050.
06
Jan, 2012
Pitfall No.1: Territorial Rights Most IP rights are territorial, your rights only exist in the country/countries where your IP is registered. This may mean that your IP is not protected in the country where you are selling your goods and services into. Solution: Register your IPs and register them early (preferably before you enter into...
read the rest
Pitfall No.1: Territorial Rights
Most IP rights are territorial, your rights only exist in the country/countries where your IP is registered. This may mean that your IP is not protected in the country where you are selling your goods and services into.
Solution: Register your IPs and register them early (preferably before you enter into a new market) in the countries where you are selling or planning to sell your goods or services into to avoid disappointments.
Pitfall No.2: Conflict of Laws
Different countries may have different IP laws or regulations. This is invariably a problem to traders which operate in more than one country. For example, the Trademark regime in China includes registration of a trademark in specific sub-classes, where other countries merely follow the Nice Classification system. This means that many businesses (including big shots like Apple Inc. and even G2000) register their trademarks in China only to find later that their trademarks have been registered by another company (usually a rogue seeking to free ride on the brands’ success) in another sub-classes which they did not register. Often this means expensive cancellation suits to oust the rogue registration or have the tables turn on you when you are handsomely fined for infringing the rogue’s trademark.
Solution: Research on the IP laws and regulations of the country that you plan to enter into. Alternatively, hire a professional with extensive local knowledge to handle your IPs in that country.
Pitfall No.3: Language and Cultural Barrier
Lost in translation is a very real risk in the IP business. Patent claims may lose vital details after translation and in the worst case the translation may not reflect the invention at all. These minor errors in translation may severely undermine your IP protection. In Trademark, a badly selected mark may spell doom for a business. While the trademark “FCUK” may have been chosen for its shock value, other words may have less desirable connotation in certain cultures. For example, the word “FATT” means “prosperity” to Chinese reader, but to non Chinese reader it may be taken to mean “obesity”. A trademark should be culture sensitive as well, for example, a mark with an image of a pig (however cute) may not be suitable in countries where the population is predominantly Muslim/Jewish.
Solution: Again, seek help from professionals with a good grasp of both English and the local languages. They should also have a deep understanding of the local culture.
Pitfall No.4: IP Ownership; Who gets Custody?
When you are thinking of cooperating with a foreign person (be it in a joint venture, co-authorship, or co-inventorship capacity), you should always be clear about who should own the IP rights. Far too often, companies enter into a contract with a foreign company without having specific provisions for the ownership of the IP rights. This has become a highly litigious area, because when the cooperation ceases, both parties are likely to claim exclusive ownership over the IP rights.
Solution: Make sure the ownership of IP rights is specifically provided in your contracts, stating clearly who should be the rights’ owner. In the case of a joint venture, it is preferable to retain your own IP rights and simply license the rights to the JV. This way, you will retain your rights after the dissolution of the JV, instead of participating in a legal tug-of-war over the rights with your former partner.
Pitfall No.5: Parallel Imports; Exhaustion of IP Rights
A parallel import is a non-counterfeit product imported from another country without the permission of the intellectual property owner. So if you sell your products in China, you cannot prevent others from bringing the products into Malaysia on the ground of IP infringement. This is known as the doctrine of “First-sale” or “Exhaustion of Rights”, whereby your IP rights is said to be exhausted when you expose your product for sale in another country. Because businesses often sell their products for different prices in different countries, this means that someone can buy your products in a country where the price is cheaper and import the products into a country where the product can be sold for a higher price.
Solution: Different countries may have different stance on parallel import. The European Union for instance do not allow parallel import from countries outside of the union. Be sure to read up on the local laws regarding parallel imports and wherever possible, and without running afoul of local licensing or antitrust laws, prohibitions on resale should be included in licensing and distribution agreements, in order to provide an action for breach of contract against the suppliers of the parallel imports.
06
Jan, 2012